Структурная схема и состав оборудования сетей связи

Рис. 1.1 Структурная схема и состав оборудования сетей связи
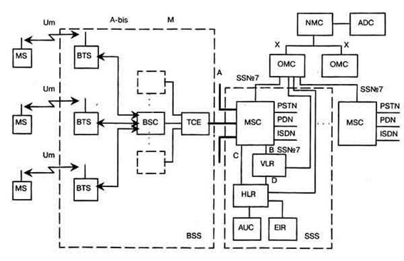
Функциональное построение и интерфейсы, принятые в стандарте GSM, иллюстрируются структурной схемой рис.1.1, на которой MSC (Mobile Switching Centre) - центр коммутации подвижной связи; BSS (Base Station System) - оборудование базовой станции; ОМС (Operations and Maintenance Centre) - центр управления и обслуживания; MS (Mobile Stations) - подвижные станции.
Функциональное сопряжение элементов системы осуществляется рядом интерфейсов. Все сетевые функциональные компоненты в стандарте GSM взаимодействуют в соответствии с системой сигнализации МККТТ SS N 7 (CCITT SS. N 7).
Центр коммутации подвижной связи обслуживает группу сот и обеспечивает все виды соединений, в которых нуждается в процессе работы подвижная станция. MSC аналогичен ISDN коммутационной станции и представляет собой интерфейс между фиксированными сетями (PSTN, PDN, ISDN и т.д.) и сетью подвижной связи. Он обеспечивает маршрутизацию вызовов и функции управления вызовами. Кроме выполнения функций обычной ISDN коммутационной станции, на MSC возлагаются функции коммутации радиоканалов. К ним относятся "эстафетная передача", в процессе которой достигается непрерывность связи при перемещении подвижной станции из соты в соту, и переключение рабочих каналов в соте при появлении помех или неисправностях.
|
|
|
Каждый MSC обеспечивает обслуживание подвижных абонентов, расположенных в пределах определенной географической зоны. MSC управляет процедурами установления вызова и маршрутизации. Для телефонной сети общего пользования (PSTN) MSC обеспечивает функции сигнализации по протоколу SS N 7, передачи вызова или другие виды интерфейсов в соответствии с требованиями конкретного проекта.
1.2.1 Состав временных данных, хранящихся в HLR и VLR
MSC формирует данные, необходимые для выписки счетов за предоставленные сетью услуги связи, накапливает данные по состоявшимся разговорам и передает их в центр расчетов (биллинг-центр). MSC составляет также статистические данные, необходимые для контроля работы и оптимизации сети. MSC поддерживает также процедуры безопасности, применяемые для управления доступами к радиоканалам.
MSC не только участвует в управлении вызовами, но также управляет процедурами регистрации местоположения и передачи управления, кроме передачи управления в подсистеме базовых станций (BSS). Регистрация местоположения подвижных станций необходима для обеспечения доставки вызова перемещающимся подвижным абонентам от абонентов телефонной сети общего пользования или других подвижных абонентов. Процедура передачи вызова позволяет сохранять соединения и обеспечивать ведение разговора, когда подвижная станция перемещается из одной зоны обслуживания в другую. Передача вызовов в сотах, управляемых одним контроллером базовых станций (BSC), осуществляется этим BSC. Когда передача вызовов осуществляется между двумя сетями, управляемыми разными BSC, то первичное управление осуществляется в MSC. В стандарте GSM также предусмотрены процедуры передачи вызова между сетями (контроллерами), относящимися к разным MSC. Центр коммутации осуществляет постоянное слежение за подвижными станциями, используя регистры положения (HLR) и перемещения (VLR). В HLR хранится та часть информации о местоположении какой-либо подвижной станции, которая позволяет центру коммутации доставить вызов станции. Регистр HLR содержит международный идентификационный номер подвижного абонента (IMSI). Он используется для опознавания подвижной станции в центре аутентификации (AUC).
|
|
|
Практически HLR представляет собой справочную базу данных о постоянно прописанных в сети абонентах. В ней содержатся опознавательные номера и адреса, а также параметры подлинности абонентов, состав услуг связи, специальная информация о маршрутизации. Ведется регистрация данных о роуминге (блуждании) абонента, включая данные о временном идентификационном номере подвижного абонента (TMSI) и соответствующем VLR.
К данным, содержащимся в HLR, имеют дистанционный доступ все MSC и VLR сети и, если в сети имеются несколько HLR, в базе данных содержится только одна запись об абоненте, поэтому каждый HLR представляет собой определенную часть общей базы данных сети об абонентах. Доступ к базе данных об абонентах осуществляется по номеру IMSI или MSISDN (номеру подвижного абонента в сети ISDN). К базе данных могут получить доступ MSC или VLR, относящиеся к другим сетям, в рамках обеспечения межсетевого роуминга абонентов.
Второе основное устройство, обеспечивающее контроль за передвижением подвижной станции из зоны в зону - регистр перемещения VLR. С его помощью достигается функционирование подвижной станции за пределами зоны, контролируемой HLR. Когда в процессе перемещения подвижная станция переходит из зоны действия одного контроллера базовой станции BSC, объединяющего группу базовых станций, в зону действия другого BSC, она регистрируется новым BSC, и в VLR заносится информация о номере области связи, которая обеспечит доставку вызовов подвижной станции. Для сохранности данных, находящихся в HLR и VLR, в случае сбоев предусмотрена защита устройств памяти этих регистров.
VLR содержит такие же данные, как и HLR, однако эти данные содержатся в VLR только до тех пор, пока абонент находится в зоне, контролируемой VLR. В сети подвижной связи GSM соты группируются в географические зоны (LA), которым присваивается свой идентификационный номер (LAC). Каждый VLR содержит данные об абонентах в нескольких LA. Когда подвижный абонент перемещается из одной LA в другую, данные о его местоположении автоматически обновляются в VLR. Если старая и новая LA находятся под управлением различных VLR, то данные на старом VLR стираются после их копирования в новый VLR. Текущий адрес VLR абонента, содержащийся в HLR, также обновляется.
VLR обеспечивает также присвоение номера "блуждающей" подвижной станции (MSRN). Когда подвижная станция принимает входящий вызов, VLR выбирает его MSRN и передает его на MSC, который осуществляет маршрутизацию этого вызова к базовым станциям, находящимся рядом с подвижным абонентом.
VLR также распределяет номера передачи управления при передаче соединений от одного MSC к другому. Кроме того, VLR управляет распределением новых TMSI и передает их в HLR. Он также управляет процедурами установления подлинности во время обработки вызова. По решению оператора TMSI может периодически изменяться для усложнения процедуры идентификации абонентов. Доступ к базе данных VLR может обеспечиваться через IMSI, TMSI или MSRN. В целом VLR представляет собой локальную базу данных о подвижном абоненте для той зоны, где находится абонент, что позволяет исключить постоянные запросы в HLR и сократить время на обслуживание вызовов.
|
|
|
Для исключения несанкционированного использования ресурсов системы связи вводятся механизмы аутентификации - удостоверения подлинности абонента. Центр аутентификации состоит из нескольких блоков и формирует ключи и алгоритмы аутентификации. С его помощью проверяются полномочия абонента и осуществляется его доступ к сети связи. AUC принимает решения о параметрах процесса аутентификации и определяет ключи шифрования абонентских станций на основе базы данных, сосредоточенной в регистре идентификации оборудования (EIR - Equipment Identification Register).
Каждый подвижный абонент на время пользования системой связи получает стандартный модуль подлинности абонента (SIM), который содержит: международный идентификационный номер (IMSI), свой индивидуальный ключ аутентификации (Ki), алгоритм аутентификации (A3).
С помощью записанной в SIM информации в результате взаимного обмена данными между подвижной станцией и сетью осуществляется полный цикл аутентификации и разрешается доступ абонента к сети. Процедура проверки сетью подлинности абонента реализуется следующим образом. Сеть передает случайный номер (RAND) на подвижную станцию. На ней с помощью Ki и алгоритма аутентификации A3 определяется значение отклика (SRES), т.е. SRES = Ki * [ RAND].
Подвижная станция посылает вычисленное значение SRES в сеть, которая сверяет значение принятого SRES со значением SRES, вычисленным сетью. Если оба значения совпадают, подвижная станция приступает к передаче сообщений. В противном случае связь прерывается, и индикатор подвижной станции показывает, что опознавание не состоялось. Для обеспечения секретности вычисление SRES происходит в рамках SIM. Несекретная информация (например, Ki) не подвергается обработке в модуле SIM.
|
|
|
EIR - регистр идентификации оборудования, содержит централизованную базу данных для подтверждения подлинности международного идентификационного номера оборудования подвижной станции (1МЕ1). Эта база данных относится исключительно к оборудованию подвижной станции. База данных EIR состоит из списков номеров 1МЕ1, организованных следующим образом:
БЕЛЫЙ СПИСОК - содержит номера 1МЕ1, о которых есть сведения, что они закреплены за санкционированными подвижными станциями.
ЧЕРНЫЙ СПИСОК - содержит номера 1МЕ1 подвижных станций, которые украдены или которым отказано в обслуживании по другой причине.
СЕРЫЙ СПИСОК - содержит номера 1МЕ1 подвижных станций, у которых существуют проблемы, выявленные по данным программного обеспечения, что не является основанием для внесения в "черный список".
К базе данных EIR получают дистанционный доступ MSC данной сети, а также MSC других подвижных сетей. Как и в случае с HLR, сеть может иметь более одного EIR, при этом каждый EIR управляет определенными группами 1МЕ1. В состав MSC входит транслятор, который при получении номера 1МЕ1 возвращает адрес EIR, управляющий соответствующей частью базы данных об оборудовании.
IWF - межсетевой функциональный стык, является одной из составных частей MSC. Он обеспечивает абонентам доступ к средствам преобразования протокола и скорости передачи данных так, чтобы можно было передавать их между его терминальным оборудованием (DIE) сети GSM и обычным терминальным оборудованием фиксированной сети. Межсетевой функциональный стык также "выделяет" модем из своего банка оборудования для сопряжения с соответствующим модемом фиксированной сети. IWF также обеспечивает интерфейсы типа прямого соединения для оборудования, поставляемого клиентам, например, для пакетной передачи данных PAD по протоколу Х.25.
ЕС - эхоподавитель, используется в MSC со стороны PSTN для всех телефонных каналов (независимо от их протяженности) из-за физических задержек в трактах распространения, включая радиоканал, сетей GSM. Типовой эхоподавитель может обеспечивать подавление в интервале 68 миллисекунд на участке между выходом ЕС и телефоном фиксированной телефонной сети. Общая задержка в канале GSM при распространении в прямом и обратном направлениях, вызванная обработкой сигнала, кодированием/декодированием речи, канальным кодированием и т.д., составляет около 180 мс. Эта задержка была бы незаметна подвижному абоненту, если бы в телефонный канал не был включен гибридный трансформатор с преобразованием тракта с двухпроводного на четырехпроводный режим, установка которого необходима в MSC, так как стандартное соединение с PSTN является двухпроводным. При соединении двух абонентов фиксированной сети эхо-сигналы отсутствуют. Без включения ЕС задержка от распространения сигналов в тракте GSM будет вызывать раздражение у абонентов, прерывать речь и отвлекать внимание.
ОМС - центр эксплуатации и технического обслуживания, является центральным элементом сети GSM, который обеспечивает контроль и управление другими компонентами сети и контроль качества ее работы. ОМС соединяется с другими компонентами сети GSM по каналам пакетной передачи протокола Х.25. ОМС обеспечивает функции обработки аварийных сигналов, предназначенных для оповещения обслуживающего персонала, и регистрирует сведения об аварийных ситуациях в других компонентах сети. В зависимости от характера неисправности ОМС позволяет обеспечить ее устранение автоматически или при активном вмешательстве персонала. ОМС может обеспечить проверку состояния оборудования сети и прохождения вызова подвижной станции. ОМС позволяет производить управление нагрузкой в сети. Функция эффективного управления включает сбор статистических данных о нагрузке от компонентов сети GSM, записи их в дисковые файлы и вывод на дисплей для визуального анализа. ОМС обеспечивает управление изменениями программного обеспечения и базами данных о конфигурации элементов сети. Загрузка программного обеспечения в память может производиться из ОМС в другие элементы сети или из них в ОМС.
NMC - центр управления сетью, позволяет обеспечивать рациональное иерархическое управление сетью GSM. Он обеспечивает эксплуатацию и техническое обслуживание на уровне всей сети, поддерживаемой центрами ОМС, которые отвечают за управление региональными сетями. NMC обеспечивает управление трафиком во всей сети и обеспечивает диспетчерское управление сетью при сложных аварийных ситуациях, как например, выход из строя или перегрузка узлов. Кроме того, он контролирует состояние устройств автоматического управления, задействованных в оборудовании сети, и отражает на дисплее состояние сети для операторов NMC. Это позволяет операторам контролировать региональные проблемы и, при необходимости, оказывать помощь ОМС, ответственному за конкретный регион. Таким образом, персонал NMC знает состояние всей сети и может дать указание персоналу ОМС изменить стратегию решения региональной проблемы.
NMC концентрирует внимание на маршрутах сигнализации и соединениях между узлами с тем, чтобы не допускать условий для возникновения перегрузки в сети. Контролируются также маршруты соединений между сетью GSM и PSTN во избежание распространений условий перегрузки между сетями. При этом персонал NMC координирует вопросы управления сетью с персоналом других NMC. NMC обеспечивает также возможность управления трафиком для сетевого оборудования подсистемы базовых станций (BSS). Операторы NMC в экстремальных ситуациях могут задействовать такие процедуры управления, как "приоритетный доступ", когда только абоненты с высоким приоритетом (экстренные службы) могут получить доступ к системе.
NMC может брать на себя ответственность в каком-либо регионе, когда местный ОМС является необслуживаемым, при этом ОМС действует в качестве транзитного пункта между NMC и оборудованием сети. NMC обеспечивает операторов функциями, аналогичными функциям ОМС. NMC является также важным инструментом планирования сети, так как NMC контролирует сеть и ее работу на сетевом уровне, а, следовательно, обеспечивает планировщиков сети данными, определяющими ее оптимальное развитие.
BSS - оборудование базовой станции, состоит из контроллера базовой станции (BSC) и приемо-передающих базовых станций (BTS). Контроллер базовой станции может управлять несколькими приемо-передающими блоками. BSS управляет распределением радиоканалов, контролирует соединения, регулирует их очередность, обеспечивает режим работы с прыгающей частотой, модуляцию и демодуляцию сигналов, кодирование и декодирование сообщений, кодирование речи, адаптацию скорости передачи для речи, данных и вызова, определяет очередность передачи сообщений персонального вызова.
BSS совместно с MSC, HLR, VLR выполняет некоторые функции, например: освобождение канала, главным образом, под контролем MSC, но MSC может запросить базовую станцию обеспечить освобождение канала, если вызов не проходит из-за радиопомех. BSS и MSC совместно осуществляют приоритетную передачу информации для некоторых категорий подвижных станций.
ТСЕ- транскодер, обеспечивает преобразование выходных сигналов канала передачи речи и данных MSC (64 кбит/с ИКМ) к виду, соответствующему рекомендациям GSM по радиоинтерфейсу (Рек. GSM 04.08). В соответствии с этими требованиями скорость передачи речи, представленной в цифровой форме, составляет 13 кбит/с. Этот канал передачи цифровых речевых сигналов называется "полноскоростным". Стандартом предусматривается в перспективе использование полускоростного речевого канала (скорость передачи 6,5 кбит/с).
Снижение скорости передачи обеспечивается применением специального речепреобразую-щего устройства, использующего линейное предикативное кодирование (LPC), долговременное предсказание (LTP), остаточное импульсное возбуждение (RPE - иногда называется RELP).
Транскодер обычно располагается вместе с MSC, тогда передача цифровых сообщений в направлении к контроллеру базовых станций - BSC ведется с добавлением к потоку со скоростью передачи 13 кбит/с, дополнительных битов (стафингование) до скорости передачи данных 16 кбит/с. Затем осуществляется уплотнение с кратностью 4 в стандартный канал 64 кбит/с. Так формируется определенная Рекомендациями GSM ЗО-канальная ИКМ линия, обеспечивающая передачу 120 речевых каналов. Шестнадцатый канал (64 кбит/с), "временное окно", выделяется отдельно для передачи информации сигнализации и часто содержит трафик SS N7 или LAPD. В другом канале (64 кбит/с) могут передаваться также пакеты данных, согласующиеся с протоколом X.25 МККТТ.
Таким образом, результирующая скорость передачи по указанному интерфейсу составляет 30х64 кбит/с + 64 кбит/с + 64 кбит/с = 2048 кбит/с. MS - подвижная станция, состоит из оборудования, которое служит для организации доступа абонентов сетей GSM к существующим фиксированным сетям электросвязи. В рамках стандарта GSM приняты пять классов подвижных станций от модели 1-го класса с выходной мощностью 20 Вт, устанавливаемой на транспортном средстве, до портативной модели 5-го класса, максимальной мощностью 0,8 Вт (табл. 1.1). При передаче сообщений предусматривается адаптивная регулировка мощности передатчика, обеспечивающая требуемое качество связи.
Подвижный абонент и станция независимы друг от друга. Как уже отмечалось, каждый абонент имеет свой международный идентификационный номер (IMSI), записанный на его интеллектуальную карточку. Такой подход позволяет устанавливать радиотелефоны, например, в такси и автомобилях, сдаваемых на прокат. Каждой подвижной станции также присваивается свой международный идентификационный номер (1МЕ1). Этот номер используется для предотвращения доступа к сетям GSM похищенной станции или станции без полномочий [1.2].
Таблица 1.2 Классификация базовых станций по мощности
| Класс мощности | Максимальный уровень мощности передатчика | Допустимые отклонения |
| 20 Вт | 1,5 дБ | |
| 8 Вт | 1,5 дБ | |
| 5 Вт | 1,5 дБ | |
| 2 Вт | 1,5 дБ | |
| 0,8 Вт | 1,5 дБ |
При проектировании цифровых сотовых систем подвижной связи стандарта GSM рассматриваются интерфейсы трех видов: для соединения с внешними сетями; между различным оборудованием сетей GSM; между сетью GSM и внешним оборудованием. Все существующие внутренние интерфейсы сетей GSM показаны на структурной схеме рис. 1.1. Они полностью соответствуют требованиям Рекомендаций ETSI/GSM 03.02.
1.3.1 Интерфейсы с внешними сетями
Соединение с PSTN
Соединение с телефонной сетью общего пользования осуществляется MSC по линии связи 2 Мбит/с в соответствии с системой сигнализации SS N 7. Электрические характеристики 2 Мбит/с интерфейса соответствуют Рекомендациям МККТТ G.732.
Соединение с ISDN
Для соединения с создаваемыми сетями ISDN предусматриваются четыре линии связи 2 Мбит/с, поддерживаемые системой сигнализации SS N 7 и отвечающие Рекомендациям Голубой книги МККТТ Q.701-Q.710, Q.711-Q.714, Q.716, Q.781, 0.782, 0.791, 0.795, 0.761-0.764, 0.766.
Соединение с существующей сетью NMT-450
Центр коммутации подвижной связи соединяется с сетью NMT-450 через четыре стандартные линии связи 2 Мбит/с и системы сигнализации SS N7. При этом должны обеспечиваться требования Рекомендаций МККТТ по подсистеме пользователей телефонной сетью (TUP - Telephone User Part) и подсистеме передачи сообщений (МТР - Message Transfer Part) Желтой книги. Электрические характеристики линии 2 Мбит/с соответствуют Рекомендациям МККТТ G.732.
Соединения с международными сетями GSM
В настоящее время обеспечивается подключение сети GSM в Москве к общеевропейским сетям GSM. Эти соединения осуществляются на основе протоколов систем сигнализации (SCCP) и межсетевой коммутации подвижной связи (GMSC).
1.3.2Внутренние GSM – интерфейсы
Интерфейс между MSC и BSS (А-интерфейс) обеспечивает передачу сообщений для управления BSS, передачи вызова, управления передвижением. А-интерфейс объединяет каналы связи и линии сигнализации. Последние используют протокол SS N7 МККТТ. Полная спецификация А-интерфейса соответствует требованиям серии 08 Рекомендаций ETSI/GSM.
Интерфейс между MSC и HLR совмещен с VLR (В-интерфейс). Когда MSC необходимо определить местоположение подвижной станции, он обращается к VLR. Если подвижная станция инициирует процедуру местоопределения с MSC, он информирует свой VLR, который заносит всю изменяющуюся информацию в свои регистры. Эта процедура происходит всегда, когда MS переходит из одной области местоопределения в другую. В случае, если абонент запрашивает специальные дополнительные услуги или изменяет некоторые свои данные, MSC также информирует VLR, который регистрирует изменения и при необходимости сообщает о них HLR.
Интерфейс между MSC и HLR (С-интерфейс) используется для обеспечения взаимодействия между MSC и HLR. MSC может послать указание (сообщение) HLR в конце сеанса связи для того, чтобы абонент мог оплатить разговор. Когда сеть фиксированной телефонной связи не способна исполнить процедуру установления вызова подвижного абонента, MSC может запросить HLR с целью определения местоположения абонента для того, чтобы послать вызов MS.
Интерфейс между HLR и VLR (D-интерфейс) используется для расширения обмена данными о положении подвижной станции, управления процессом связи. Основные услуги, предоставляемые подвижному абоненту, заключаются в возможности передавать или принимать сообщения независимо от местоположения. Для этого HLR должен пополнять свои данные. VLR сообщает HLR о положении MS, управляя ею и переприсваивая ей номера в процессе блуждания, посылает все необходимые данные для обеспечения обслуживания подвижной станции.
Интерфейс между MSC (Е-интерфейс) обеспечивает взаимодействие между разными MSC при осуществлении процедуры HANDOVER - "передачи" абонента из зоны в зону при его движении в процессе сеанса связи без ее перерыва.
Интерфейс между BSC и BTS(A-bis интерфейс) служит для связи BSC с BTS и определен Рекомендациями ETSI/GSM для процессов установления соединений и управления оборудованием, передача осуществляется цифровыми потоками со скоростью 2,048 Мбит/с. Возможно использование физического интерфейса 64 кбит/с.
Интерфейс между BSC и ОМС (О-интерфейс) предназначен для связи BSC с ОМС, используется в сетях с пакетной коммутацией МККТТ Х.25.
Внутренний BSC-интерфейс контроллера базовой станции обеспечивает связь между различным оборудованием BSC и оборудованием транскодирования (ТСЕ); использует стандарт ИКМ-пе-редачи 2,048 Мбит/с и позволяет организовать из четырех каналов со скоростью 16 кбит/с один канал на скорости 64 кбит/с.
Интерфейс между MS и BTS (Um-радиоинтерфейс) определен в сериях 04 и 05 Рекомендаций ETSI/GSM.
Сетевой интерфейс между ОМС и сетью, так называемый управляющий интерфейс между ОМС и элементами сети, определен ETSI/GSM Рекомендациями 12.01 и является аналогом интерфейса Q.3, который определен в многоуровневой модели открытых сетей ISO OSI.
Соединение сети с ОМС могут обеспечиваться системой сигнализации МККТТ SS N7 или сетевым протоколом Х.25. Сеть Х.25 может соединяться с объединенными сетями или с PSDN в открытом или замкнутом режимах.
GSM - протокол управления сетью и обслуживанием также должен удовлетворять требованиям Q.3 интерфейса, который определен в ETSI/GSM Рекомендациях 12.01.
Интерфейсы между сетью GSM и внешним оборудованием
Интерфейс между MSC и сервис-центром (SC) необходим для реализации службы коротких сообщений. Он определен в ETSI/GSM Рекомендациях 03.40.
Интерфейс к другим ОМС. Каждый центр управления и обслуживания сети должен соединяться с другими ОМС, управляющими сетями в других регионах или другими сетями. Эти соединения обеспечиваются Х-интерфейсами в соответствии с Рекомендациями МККТТ М.ЗО. Для взаимодействия ОМС с сетями высших уровней используется О.З-интерфейс.