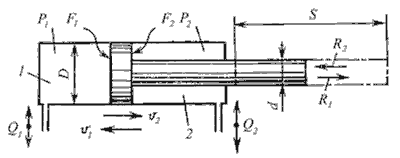
Основными параметрами поршневого гидроцилиндра являются: диаметры поршня D и штока d, рабочее давление P, и ход поршня S.
Рассмотрим поршневой гидроцилиндр с односторонним штоком (рис.6). По основным параметрам можно определить следующие зависимости:
площадь поршня в поршневой полости 1 и в штоковой полости 2 соответственно

усилие, развиваемое штоком гидроцилиндра при его выдвижении и втягивании соответственно

где kтр = 0,9…0,98 - коэффициент, учитывающий потери на трение;
скорости перемещения поршня


Рис.6. Основные и расчетные параметры гидроцилиндра
Расчеты на прочность. Прочностными расчетами определяют толщину стенок цилиндра, толщину крышек (головок) цилиндра, диаметр штока, диаметр шпилек или болтов для крепления крышек.
В зависимости от соотношения наружного DН и внутреннего D диаметров цилиндры подразделяют на толстостенные и тонкостенные. Толстостенными называют цилиндры, у которых DН / D > 1,2, а тонкостенными - цилиндры, у которых DН / D
1,2.
Толщину стенки однослойного толстостенного цилиндра определяют по формуле:
|
|
|

где Pу - условное давление, равное (1,2…1,3) P; [σ] - допускаемое напряжение на растяжение, Па (для чугуна 2,5 107, для высокопрочного чугуна 4 107, для стального литья (8…10) 107, для легированной стали (15…18) 107, для бронзы 4,2 10 7); μ - коэффициент поперечной деформации (коэффициент Пуассона), равный для чугуна 0, для стали 0,29; для алюминиевых сплавов 0,26…0,33; для латуни 0,35.
Толщину стенки тонкостенного цилиндра определяют по формуле:

К определенной по формулам толщине стенки цилиндра прибавляется припуск на обработку материала. Для D = 30…180 мм припуск принимают равным 0,5…1 мм.
Толщину крышки цилиндра определяют по формуле:

где dк - диаметр крышки.
Диаметр штока, работающего на растяжение и сжатие соответственно

где [σр] и [σ с] - допускаемы напряжения на растяжение и сжатие штока;
Штоки, длина которых больше 10 диаметров ("длинные" штоки), работающие на сжатие, рассчитывают на продольный изгиб по формуле Эйлера

где σ кр - критическое напряжение при продольном изгибе; f - площадь поперечного сечения штока;
Диаметр болтов для крепления крышек цилиндров

где n - число болтов






