Метод адсорбции основан на физических свойствах некоторых твердых тел с ультрамикроскопической структурой селективно извлекать и концентрировать на своей поверхности отдельные компоненты из газовой смеси. В пористых телах с капиллярной структурой поверхностное поглощение дополняется капиллярной конденсацией.
Адсорбция подразделяется на физическую адсорбцию и хемо-сорбцию. При физической адсорбции молекулы газа прилипают к поверхности твердого тела под действием межмолекулярных сил притяжения. Преимущество физической адсорбции – обратимость процесса. При уменьшении давления адсорбата в потоке газа либо при увеличении температуры поглощенный газ легко десорбируется без изменения химического состава. Обратимость данного процесса исключительно важна, если экономически выгодно рекуперировать адсорбируемый газ или адсорбент.
В основе хемосорбции лежит химическое взаимодействие между адсорбатом и адсорбируемым веществом. Действующие при этом силы сцепления значительно больше, чем при физической адсорбции соответственно и высвобождающаяся при хемосорбции теплота существенно больше. Процесс хемосорбции, как правило, необратим: при десорбции меняется химический состав адсорбата.
|
|
|
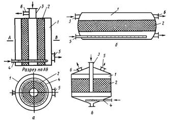
Конструктивно адсорберы (рис. 2) выполняются в виде вертикальных, горизонтальных либо кольцевых емкостей, заполненных пористым адсорбентом, через который фильтруется поток очищаемого газа. Выбор конструкции определяется скоростью газовой смеси, размером частиц адсорбента, требуемой степенью очистки и рядом других факторов. Вертикальные адсорберы, как правило, применяют при небольших объемах очищаемого газа; горизонтальные и кольцевые при высокой производительности, достигающей десятков и сотен тысяч м3/ч.

Рис. 2. Конструктивные схемы адсорберов: а – вертикальный; б – горизонтальный; в –кольцевой; 1–адсорбер; 2 – слой активированного угля; 3– центральная труба для подачи паровоздушной смеси при адсорбции; 4– барботер для подачи острого пара при десорбции; 5 – труба для выхода инертных по отношению к поглотителю газов при адсорбции, 6– труба для выхода пара при десорбции
Адсорбенты:
В качестве адсорбентов или поглотителей применяют вещества, имеющие большую площадь поверхности на единицу массы.
Активные углиГазовые угли, Силикагели, алюмогели, Цеолиты. Основная стадия регенерации адсорбентов – десорбция (процесс, обратный адсорбции). После проведения десорбции следующими стадиями регенерации адсорбента являются сушка (если в качестве десорбирующего агента используется водяной насыщенный пар) и охлаждение адсорбента.
|
|
|
К числу основных методов проведения процесса десорбции, используемых при очистке вентиляционных выбросов можно отнести:
· термическую десорбцию за счет повышения температуры слоя адсорбента (при обычных температурах 110 – 130 °С и повышенных температурах (высокотемпературная десорбция) 300 – 400 °С);
· вытеснительную (так называемую холодную) десорбцию;
· десорбцию комбинированными способами.






