Сухая очистка. Устройство и принцип действия циклона

Циклон является одним из наиболее распространенных пылеулавливающих аппаратов. Однако с высокой эффективностью циклоны способны улавливать пыль только размером 15 - 20 мкм и более.

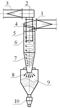
Наибольшее распространение получили циклоны Научно-исследовательского института очистки газов (НИИОгаз), показанные на рис. 1. Отличительной их особенностью является наклонный входной патрубок, сравнительно короткая цилиндрическая часть и выхлопная труба, а и также малый угол раскрытия конической части.

Работа циклона основана на использовании центробежных сил, возникающих при вращении газового потока внутри корпуса циклона. Это вращение достигается путем тангенциального ввода газа в циклон. В результате действия центробежных сил частицы пыли, взвешенные в потоке газа, отбрасываются на стенки корпуса и выпадают из потока. Газ, освобожденный от пыли, продолжая вращаться, совершает поворот на 180° и выходит из циклона через расположенную по оси выхлопную трубу (рис. 1).

Частицы пыли, достигшие стенок корпуса, под действием перемещающегося в осевом направлении вращающегося потока и сил тяжести движутся по направлению к выходному отверстию корпуса и выводятся из циклона. Ввиду того, что решающим фактором, обусловливающим движение пыли, являются аэродинамические силы, а не силы тяжести, циклоны можно располагать наклонно и даже горизонтально.

Наклон входного патрубка и винтообразная верхняя крышка способствуют направлению вращающегося газового потока вниз, что снижает гидравлическое сопротивление циклона. На выхлопной трубе циклона иногда устанавливают улитку, раскручивающую вращающийся газовый поток. Наклон входного патрубка и крышки, равно как и установка улитки, снижает сопротивление циклона.

Под циклоном устанавливают бункер для сбора уловленной пыли. В конической части циклона пыль не должна скапливаться, во избежание взмучивания и вторичного уноса в выхлопную трубу.

Основные правила эксплуатации циклонов сводятся к следующему:

1. Необходимо следить, чтобы в конической части циклона не накапливалась пыль. Для сбора ее под циклоном предусматривают специальный бункер.

2. Подсос воздуха в нижней части циклона недопустим. Бункер для сбора пыли должен быть герметичным. Спуск пыли из бункера осуществляется через патрубок с двойным затвором - мигалкой, отрегулированной так, чтобы клапаны работали только поочередно.

3. Стандартные конструкции циклонов могут работать при температурах газа не выше 400° С и давлениях (разрежениях) не более 2,5 кПа

4. При работе на газе высокой температуры циклоны внутри футеруют огнеупорными плитками, а при температуре стенки ниже температуры точки росы ее покрывают снаружи изоляцией.

5. Начальная концентрация для неслипающихся пылей в циклонах диаметром 800 мм и более допускается до 400 г/м3. Для слипающихся пылей и циклонов меньших размеров концентрация пыли должна быть в 2 - 4 раза ниже.

6. Циклон должен работать с постоянной газовой нагрузкой. При значительных колебаниях расхода должны устанавливаться группы циклонов с возможностью отключения отдельных элементов.

7. Рекомендуется установка циклонов перед вентиляторами, чтобы последние работали на очищенном газе и не подвергались абразивному износу.

.





Подборка статей по вашей теме: