Промышленность выпускает токовые электротепловых реле в виде серии ТРТ
(Т – тепловые, Р – реле, Т - типизированного ряда).
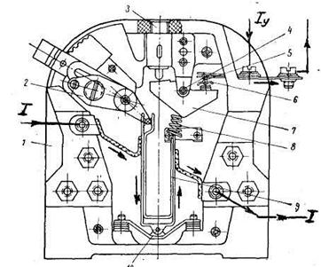
Рассмотрим устройство реле серии ТРТ (рис. 9.53).

Рис. 9.53. Тепловое реле серии ТРТ: 1 – корпус; 2 – механизм уставки по току; 3 – кнопка ручного возврата реле; 4 – ось изоляционной колодки; 5 – мостиковый контакт; 6 – неподвижные контакты (2 шт.); 7 - колодка изоляционная; 8 – цилиндрическая пружина; 9 -– биметаллическая пластина; 10 – ось биметаллической пластины
Реле имеет пластмассовый корпус 1, в котором смонтированы все детали. Биметал-
лическая пластина 9 имеет U- образную форму и укреплена на оси 10. Эта пластина состоит из двух параллельных металлических полосок из разнородных материалов, между которыми запрессован нагреватель из нихромовой проволоки.
На правый конец пластины опирается цилиндрическая пружина 8. Другой конец пружины опирается на пластмассовую треугольную уравновешенную колодку 7, на кото-
рой размещен подвижный контакт 6. Выше контакта 6 расположены два неподвижных контакта 5. Колодка 7 может поворачиваться вокруг оси 4.
|
|
|
Левый конец биметаллической пластины соединен с механизмом уставки 2, позво-
ляющим регулировать ток уставки реле путем изменения первоначальной деформации пла
стины.
Нагревательный элемент реле включается в рассечку линейного провода, поэтому
ток нагрузки I протекает через нагреватель, а ток управления I
- через контакты теплово-
го реле. В качестве тока управления может быть ток катушки линейного контактора асинхронного двигателя.
При токах перегрузки, равных или больших токов уставки, верхняя часть U-образ-
ной пластины смещается вправо и поворачивает изоляционную колодку, которая скачко-
образно поворачивается против часовой стрелки вокруг оси 4. В результате подвижный и неподвижные контакты размыкаются, двигатель отключается от сети.
Данный тип реле имеет самовозврат, т.е. после остывания биметаллическая пласти-
на возвращается в исходное состояние. Время самовозврата - не более 180 с. При необхо-
димости ускорить возврат реле в исходное состояние можно нажать кнопку 3 самовозвра-
та, но не ранее чем через 60 с после срабатывания реле.






