Реле скорости (частоты вращения) предназначено для контроля частоты вращения. На судах отечественной постройки такие реле применяют в системах дистанционного пуска вспомогательных и аварийного дизель-генераторов.
В зависимости от принцип действия, различают три типа реле скорости:
1. центробежное;
2. индукционное;
3. электронное.
Ниже рассматриваются первые два типа этих реле. Модификаций электронных
реле скорости довольно много, их схемы достаточно сложны и должны изучаться на конкретном судне.

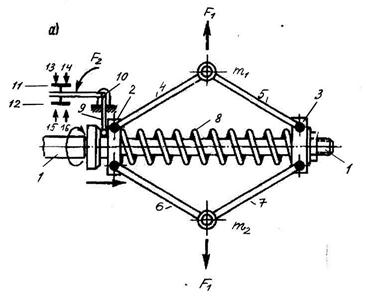
Рис. 9.56. Центробежное реле скорости: 1 – вал, 2,3 – втулки; 4, 5, 6, 7 – рыча
ги; 8 - пружина; 9 – рычаг; 10- ось рычага; 11, 12 – подвижные контакты, 13, 14, 15, 16 – неподвижные контакты
Принцип действия реле скорости основан на применении центробежных сил F
, стремящихся отбросить вращающиеся массы в направлении от оси вращения к периферии
(наружу). Поэтому данное реле называется центробежным.
На вращающемся валу 1 находятся муфты 2 и 3. Муфта 2 посажена на вал свобод-
но, муфта 3 жестко закреплена на валу при помощи гайки (справа).
|
|
|
К муфтам 2 и 3 шарнирно присоединены рычаги 4, 5, 6 и 7, образующие параллело-
грам. В местах соединения рычагов 4-5 и 6-7 находятся грузики массой m
= m
. На валу между втулками находится пружина 8.
В положении, показанном на рис.61, вал вращается с определенной скоростью, при которой Г-образный рычаг 9 воздействует на подвижные контакты 11 и 12 с силой F
. При этом контакт 11 замыкает через себя неподвижные контакты 13 и 14. Контакты 15, 16 разомкнуты.
При увеличении скорости вала центробежные усилия F
, действующие на грузики, возрастают, в результате форма параллелограма становится вытянутой. При этом подвиж-
ная муфта 2, сжимая пружину 8, перемещается вдоль вала вправо. Рычаг 9 поворачивается вокруг оси 10. При этом подвижный контакт 11 размыкает контакты 13 и 14, а контакт 12 – соединяет контакты 15 и 16.
Индукционное реле
Индукционное реле (рис.9.57) предназначено для контроля скорости и направле-
ния вращения вала. Такие реле применяются как в схемах автоматического управления дизелями и турбинами, так и (реже) в схемах торможения противовключением асинхрон-
ных короткозамкнутых двигателей.

Рис. 9.57. Реле скорости и направления вращения: 1 – постоянный магнит; 2 – обмотка ротора; 3 – ротор; 4 – пружины; 5 – контактная система
Основной элемент реле – постоянный магнит с полюсами С и Ю, сидящий на валу.
Этот магнит помещен внутрь полого ротора 3 с короткозамкнутой обмоткой 2. Ротор свя-
зан с рычагом, управляющим подпружиненными подвижными контактами.
При вращении постоянного магнита к короткозамкнутой обмотке индуктируется э.д.с., под действием которой в обмотке возникает ток ротора. Взаимодействие этого тока и вращающегося магнитного потока полюсов С и Ю приводит к образованию электромаг-
|
|
|
нитного момента ротора. Ротор поворачивается и передает через рычаг усилие на контак-
ты 5, которые при достижении валом определенной скорости переключаются.
При изменении направления вращения вала ротор повернется в другую сторону, в результате контакты 5 переключатся в ином порядке.
Данное реле называют индукционным, т.к. принцип действия реле основан на ис-
пользования явления электромагнитной индукции (если перемещать магнитное поле отно
сительно проводника, в последнем индуктируется э.д.с. либо, наоборот, если перемещать проводник в магнитном поле, в проводнике наводится э.д.с.).