В биметаллических пожарных извещателях чувствительным к теплу элементом является биметаллическая пластина (рис. 16.12).

Рис. 16.12. Биметаллическая пластинка
Биметаллическая пластина состоит из двух слоев металлов с разными коэффициен-
тами линейного расширения α
и α
. Слои металла соединяются либо сваркой, либо про-
каткой в горячем состоянии. При нагревании пластина изгибается в сторону металла с меньшим коэффициентом линейного расширения. Изгиб пластины используется для воз-
действия на контакты реле.
При производстве биметаллических пластин применяют материалы с низким коэф-
фициентом линейного расширения, например, железониеклевый сплав инвар, и с высоким коэффициентом – хромоникелевые, молибденоникелевые и немагнитные стали.
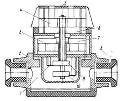
Разновидностью автоматических биметаллических извещателей являются макси
мально-дифференциальные (рис. 16.13)..

Рис. 16.13. Максимально-дифференциальный пожарный извещатель
Чувствительный механизм извещателя находится в пластмассовом корпусе 2. Два биметаллических чувствительных элемента 3 и 4 неподвижными концами прикреплены к стойкам, а подвижными - к осям контактных шайб. Элемент 3 расположен в закрытой камере 7, а элемент 4 - в открытой камере 6.
При медленном нарастании температуры оба элемента, одинаково нагреваясь, пово
рачивают контактные шайбы 9 и 10 с одинаковой угловой скоростью. Поэтому электриче-
ские контакты остаются замкнутыми. При достижении заданной температуры движение контактной шайбы 9 закрытого элемента ограничивается упором 1, вследствие чего кон-
такты размыкаются, и происходит срабатывание извещателя при максимально допусимой температуре.
При резком скачкообразном повышении температуры окружающей среды откры-
тый элемент 4 быстрее воспринимает ее, а следовательно, угловая скорость контактной шайбы 10 выше, чем шайбы 9. Происходит выключение контакта, т. е. извещатель сраба-
тывает как дифференциальный.
Чувствительный элемент 4 защищен от механических повреждений перфорирован-
ным пластмассовым чехлом 5. Два сальниковых ввода 8 служат для подключения прово-
дов.