Схема пожарной сигнализации
Извещатель пламени
Дымовые (ионизационные) извещатели
Ртутные термометры с электрическими контактами
Такие термометры состоят из стеклянной колбы, частично заполненной ртутью.
В стенку колбы впаивается платиновый электрод, который служит выводом. Второй вы-
вод, размещенный в верхней части колбы, выполнен подвижным. Его можно перемещать вручную при помощи магнита.
Рабочий объем колбы заполняется ртутью.
При повышении температуры ртуть нагревается и расширяется, т.е. увеличивается в объеме. Уровень ртути в колбе повышается, и при некоторой температуре ртуть соединя
ет оба вывода между собой.
Для регулирования температуры срабатывания изменяют расстояние между элект-
родами путем перемещения подвижного вывода при помощи магнита: чем больше это расстояние, тем при большей температуре замкнутся контакты.
Дымовые (ионизационные) извещатели изготавливаются с радиоактивным препа-
|
|
|
ратом – америцием, выполненным в форме колец, размещенных в двух ионизационных камерах.
Одна камера (сравнительная) изолируется от окружающей среды, через вторую (из-
мерительную) проходит воздух. Камеры центральными электродами - анодами соединя-
ются между собой.
При впуске дымовых газов в камеру повышается электрическое сопротивление, что приводит к изменению равновесия напряжений, приложенных к этим камерам. Как только разность этих напряжений достигнет напряжения зажигания лампы с холодным катодом, она откроется и в сигнальной линии возникнет ток, поступающий на коммутатор.
Извещатель пламени является полупроводниковым прибором, реагирующим на световое излучение, исходящее от очага пожара. Основными элементами извещателя явля
ются фотоэлемент с линзой, пропускающей только инфракрасное излучение, транзисторный усилитель и лампа с холодным катодом.
Под действием инфракрасного излучения очага пожара на фотоэлементе появляет
ся ЭДС, которая усиливается и открывает лампу. Сигнал пожарной тревоги подается на коммутатор в рулевую рубку. После принятия сигнала тревоги вахтенный помощник при-
нимает меры к ликвидации очага пожара, объявляя по судну пожарную тревогу.
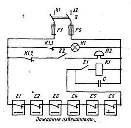
В схеме пожарной сигнализации (рис. 16.14) используются датчики-извещатели, контакты которых замкнуты при нормальной температуре.

Рис. 16.14. Схема пожарной сигнализации
При пожаре сигнал тревоги поступает в ходовую рубку на щите пожарной сигнали
зации, в котором смонтированы электромагнитное реле, конденсатор, лампа, сигнализирующая о пожаре, и два выключателя. Рядом с щитом установлен звонок.
|
|
|
Питание схемы пожарной сигнализации обеспечивается от стартерной аккумуля-
торной батареи дизель-генераторов напряжением 24 В через групповой щит.
При подаче напряжения на выводы соединительного щита схема автоматической пожарной сигнализации готова к действию.
На щите пожарной сигнализации (ЩПС) выключатели SI, S2 должны быть постоян
но включены (рис. 16.13). Так как контакты пожарных извещателей при нормальной тем
пературе замкнуты, ток проходит через катушку реле Л7, однополюсный выключатель S1 и контакты всех извещателей, соединенных последовательно. Реле Л7 срабатывает и размыкает свои контакты в цепях сигнальной лампы HI и звонка Н2. Схема находится под напряжением и постоянно готова к действию
При повышении температуры воздуха в машинном отделении до 70 °С один или несколько извещателей, находящихся наиболее близко от очага повышенной температу-
ры, срабатывают.
Размыкается цепь питания катушки реле K1 на ЩПС. Реле обесточивается и замы-
кает свои контакты в цепях питания сигнальной лампы и звонка. Лампа включается, а зво-
нок звонит.
Подача сигнала «Пожар» продолжается до тех пор, пока температура воздуха в ма-
шинном отделении не станет ниже 70 °С и извещатель снова не замкнет свои контакты в цепи катушки реле К1.
Для снятия звукового сигнала на ЩПС установлен выключатель S2.
Наличие в схеме питания и исправность реле, звонка и лампы проверяют размыка
нием выключателя S1 цепи катушки реле. При выключении катушки реле К1 его контакты замыкаются и подается сигнал «Пожар», как и в случае автоматического срабатывания пожарных извещателей.
Конденсатор С предназначен для защиты от ложных срабатываний извещателя в условиях повышенной вибрации корпуса судна. При размыкании контактов извещателей реле кратковременно остается включенным из-за тока разряда конденсатора.
Конденсаторы подобного назначения обычно встроены в извещатели.
Трюмная сигнализация предназначена для оповещения о недопустимом повыше-
нии уровня воды под сланями. В качестве сигнализаторов используются мембранные дат-
чики-сигнализаторы, которые устанавливаются в непосредственной близости от днища трюма.
Давление столба воды, поступившей в трюм, вызывает деформацию мембраны, ко-
торая через толкатель передает движение на замыкающие контакты электрической цепи сигнализации. В рулевой рубке на коммутаторе трюмной сигнализации появляется свето-
вой сигнал. Принимаются меры по откачке воды.