Общесудовые системы сигнализации
Общесудовые системы сигнализации предназначены для различного рода оповещений вахтенного и обслуживающего персонала, членов экипажа, свободных от вахт, и пассажиров.
Различают следующие виды сигнализации:
1. обиходная;
2. служебная;
3. авральная;
4. специальная.
К последней относятся системы пожарной и трюмной сигнализации.
Обиходная сигнализация служит для вызова обслуживающего персонала из буфета в салоны и каюты. Вызов посылается из салона или каюты звонковой кнопкой, имеющей замыкающие контакты. Сигнал поступает на специальный прибор – номерник, установлен
ный в буфете.
Система обиходной сигнализации получает питание от судовой сети или от аккуму
ляторной батареи.
Номерник представляет собой прибор в виде ящика с рядом окошек на передней стенке. Число окошек соответствует числу кнопок вызова.

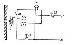
Рис. 16.11. Схема электромагнитного реле-бленкера
Внутри прибора против каждого окошка устанавливается специальное электромагнитное реле-бленкер (рис. 16.11).
|
|
|
При нажатии кнопки вызова S1 но рабочей обмотке реле К 1.1 пойдет ток, якорь притянется и замкнет контакт К1 удерживающей обмотки К1.2. Последняя получит пита-
ние, и при отпускании кнопки S1 якорь останется притянутым к сердечнику.
Звонок Н звонит до тех пор, пока не будет отпущена кнопка S1. К якорю прикрепле
на алюминиевая полусфера, которая при его притяжении закроет окошко.
По номеру на полусфере определяют, откуда поступил вызов. Сигнал в окошке бу-
дет сохраняться до тех пор, пока дежурный не нажмет кнопку 52. При этом разрывается цепь питания удерживающей обмотки К1.2, и под действием пружины якорь возвращается