Операции с ICOM-метками
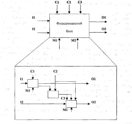
Входные и выходные дуги каждого блока, определяющие интерфейс между блоками в родительской диаграмме и частично в ее декомпозиции, как отмечалось выше, в общем виде определяются ICOM-метками. На рис. 5.7 показаны взаимосвязи ICOM-меток при декомпозиции.
На этом рисунке I - input (вход), С - control (управление), О -output (выход), М - mechanism (механизм или исполнитель).

Рис.5.7
Для построения модели системы управления необходимо:
1) определить субъект моделирования;
2) сформулировать цель моделирования;
3) определить позицию ("точку зрения") моделирования.
Принимая во внимание, что модель является отображением того, что исследуется, естественно, что субъектом моделирования является сама система. При этом важно четко обозначить границы системы с тем, чтобы она была строго описана автономно от внешней среды. В модель не должны быть включены другие не относящиеся к ней субъекты.
Цель моделирования формулируется на базе предварительного вербального описания системы. Обычно это выполняется с учетом общей достаточно лаконичной постановки задачи и конкретных во-
|
|
|
просов, на которые предполагается получить ответ в результате исследований.
Особое значение для построения модели имеет "точка зрения" исследователя. Она, безусловно, определяется целями моделирования и в конечном итоге представляет собой место, т.е. позицию моделирования, на которую как бы ставит себя исследователь, чтобы виртуально представить требуемые аспекты моделируемой системы в действии.
Вообще говоря, при необходимости многостороннего исследования системы ее можно представить определенной совокупностью моделей. При этом каждая модель будет описывать какую-либо определенную сторону свойств системы. В результате система будет достаточно всесторонне описана комплексом моделей, которые, с одной стороны, согласованы, а с другой стороны, эти модели имеют различные уровни абстрагирования, которые называются стратами. Сам процесс такого многостороннего описания системы называется стратификацией. Вся совокупность моделей называется стратифицированным описанием системы, а сама препарированная подобным образом система ~ стратифицированной системой.
При стратификации системы принимаются следующие правила:
1) исследователь самостоятельно определяет виды страт, в
терминах которых описывается система, исходя из целей моделиро
вания;
2) описания системы на различных стратах в общем случае
не взаимосвязаны;
3) при углублении иерархии страт возрастает уровень пони
мания системы в целом.
Например, при моделировании предприятия в качестве первой страты можно рассмотреть Административно-управленческий аппарат, второй - Организацию производства, третьей - Систему сбыта готовой продукции и т.п.
|
|
|
В целом процесс разработки модели исследуемой системы и проектирования более усовершенствованной носит поэтапный характер. Это отображено на рис.5.8.
Первый этап предназначен для обследования предприятия в разрезе выбранной страты для моделирования и предусматривает:
1) в рамках выбранной страты, т.е. управления предприяти
ем, проведение обследования и анализа функциональной деятельно
сти органов управления предприятием;
2) проведение обследования и анализа функционального
взаимодействия органов управления предприятием.
На втором этапе исследования и проектирования системы управления осуществляется построение функционально-информационной модели функционирования органов управления предприятием, отражающей существующую технологию работы организации. Эта функционально-информационная модель фактически является комплексом моделей и включает:
1) функциональные модели технологии функционирования
предприятия;
2) интегрированную функциональную модель органов управ
ления предприятием как единую функциональную модель технологи
функционирования всех структур предприятия.
Для проведения оценки эффективности информационной деятельности всего предприятия или его отдельных органов управления выполняется третий этап. Здесь вырабатываются предложения по совершенствованию информационной деятельности органов управления предприятием. Критериями оценки информационной деятельности являются:
1) длительность выполнения отдельных технологических
операций или их последовательностей;
2) дублирование при выполнении отдельных технологиче
ских операций или их последовательностей;
3) противоречивость выполнения отдельных технологиче
ских операций или их последовательностей;
4) стоимость выполнения отдельных технологических опера
ций или их последовательностей;
5) степень загруженности должностных лиц органов управ
ления;
6) степень применения средств автоматизации при поддерж
ке выполнения отдельных технологических операций или их после
довательностей;
7) степень загруженности оборудования, используемого при
реализации отдельных технологических операций или их последова
тельностей.
Четвертый и пятый этапы призваны разработать усовершенствованные функционально-информационные технологии функционирования органов управления предприятием и нормативную базу для должностных лиц органов управления предприятием, которая включает положения об органах управления предприятием, инструкции для должностных лиц.
При функциональном моделировании систем управления исследователь с помощью IDEF0 методологии-технологии может выяснить различные вопросы и в том числе:



1.
Обследование и анализ функциональной деятельности и взаимодействия органов управления предприятием




2.
Разработка фактической функционально-информационной модели функционирования органов управления предприятием




3.
Анализ и оценка эффективности функциональной деятельности органов
управления предприятием и разработка предложений по ее осуществлению




4.
Разработка усовершенствованных функционально-информационных технологий функционирования органов управления предприятием



5.
Разработка нормативной базы для должностных лиц органов управления предприятием: положений об органах управления предприятием, инструкций для должностных лиц
Рис.5.8
1) проанализировать информационные процессы, происхо
дящие на предприятии и их соответствие функциональному предна
значению сотрудников;
|
|
|
2) выявить "узкие" места в процессе управления, приводя
щие к потерям времени и материальных ресурсов;
3) разработать рациональную организацию процессов управ
ления в организационных структурах различного типа;
4) обосновать необходимость разработать и внедрить новую
технологию выполнения работ в организации;
5) выявить способы разработки более эффективной системы
управления по критериям стоимости, трудоемкости и длительности;
6) разработать функциональные обязанности должностных
лиц органов управления, которые реализуют рациональный процесс
управления организацией;
7) разработать подходы к автоматизации документооборота в
организации;
8) выявить новые схемы организации делопроизводства;
9) получить обоснованные исходные данные для проектиро
вания локальных вычислительных сетей и разработки методики
электронного документооборота для органов управления и всего
предприятия в целом.
Построение модели начинается с формулировки ряда вопросов, помогающих воссоздать семантическую сторону модели системы.
Например, для системы управления цехом механической обработки при цели моделирования, состоящей в распределении работ и обязанностей каждому работнику, с точки зрения начальника цеха на моделирование можно сформулировать как необходимые для получения точных и однозначных ответов следующие вопросы:
• Каковы обязанности мастера?
• Каковы обязанности механика?
• Кто контролирует задания?
• Как продвигаются по цеху материалы?
• На каких этапах требуется чертеж?
• В какой момент времени на процесс влияют стандарты ка
чества?
• На каких этапах требуются инструменты?
• Что происходит с забракованными деталями?
По результатам ответов на вопросы создаются IDEF-диаграммы модели, основанные на правилах методологии IDEF.
На рис. 5.9 представлена в виде диаграммы нулевого уровня функциональная модель процесса, протекающего в кассе торгового центра.
Детализированная диаграмма, т.е. диаграмма следующего первого уровня, приведена на рис. 5.10.
|
|
|
План работы на месяц
| ||||
| Клиенты | Обслуживание
клиентов
| Обслуженные | ||
| клиенты | ||||
Рис. 5.9
Эти диаграммы дают представление о функциях, которые являются составными частями процесса функционирования кассы торгового центра. На них обозначены элементы системы, выполняющие функции (механизмы) и те, над которыми производятся действия.
Методология представления диаграмм предполагает построение системы сверху вниз за счет последовательной детализации. Первоначально получают диаграмму потока данных всей системы, далее разрабатывают детализированные диаграммы потоков данных, затем определяют детали структур данных и логики процессов, вслед за этим переходят к проектированию модульной структуры и т.д. Проводится анализ сверху вниз, выполняется проектирование сверху вниз, выполняется разработка сверху вниз, проводится тестирование сверху вниз. Важно подчеркнуть, что методика предусматривает итерации, т.е. возможно на любом этапе можно уточнить модель с учетом информации, получаемой при использовании первой версии модели.
План работы на месяц С1


Клиенты

II

Ожидание в очереди
А1
![]() |
Переход к кассиру

Обслуживание
![]() |
Вызов клиента
Обслуженные
клиенты
Ml
Очередь
М2 Мастер
Рис. 5.10
Возможность итеративности снимает фундаментальную и острую проблему прямолинейного подхода к проектированию, так как ранее полагалось, что проект хорошо управляемой разработки идет по "прямой линии" от исследования выполнимости к анализу, проектированию, испытанию, приемке. Однако это идеализированный путь. Даже хорошо управляемый проект, реализуемый квалифицированным персоналом, требует итерационного процесса, при котором после некоторого анализа выполняется часть проектирования, затем более подробный анализ, дальнейшая часть проектирования, потом возможно возвращение к предыдущим исследования, их корректировка, опять проектирование и т.д. Траектория такого процесса проектирования может быть представлена в виде спирали.
План работы на месяц
клиентов

