В этой установке рабочим веществом является бинарный раствор – это смесь, состоящая из двух полностью растворимых друг в друге веществ (например, водо-аммиачный раствор), имеющий различные температуры кипения. Вещество с меньшей температурой кипения является холодильным агентом (аммиак), с более высокой температурой кипения – абсорбент (вода). Схема такой установки имеет вид (рис. 5.4, а).
К парогенератору (1) подводится теплота
с температурой
большей, чем температура окружающей среды
. В результате кипения жидкости малой концентрации при р2 образуется пар высокой концентрации, который поступает в конденсатор (2), где конденсируется, отдавая теплоту
охлаждающей воде с температурой окружающей среды
(см. рис. 5.4, б).
Образовавшаяся жидкость высокой концентрации дросселируется в регулирующем вентиле (3) от давления р1 до р2 (р1 > р2), в результате температура жидкости понижается и становится меньше, чем в охлажденном помещении (4).
Вследствие подвода теплоты
жидкость в испарителе испаряется и пар с параметрами р2 и T2 поступает в абсорбер (5), где абсорбируется (т.е. поглощается) при температуре
>
жидкостью, отдавая теплоту абсорбции
охлаждающей воде.
|
|
|
При кипении жидкости в генераторе (1) ее концентрация снижается, а в абсорбере, вследствие поглощения концентрированного пара, повышается. Для поддержания концентрации в обоих устройствах одинаковыми между ними необходимо осуществить циркуляцию с помощью насоса (6) или естественную, за счет разности плотностей растворов разной концентрации.
Жидкость при движении из генератора в абсорбер дросселируется регулирующим вентилем 7.
Эффективность такой установки оценивается коэффициентом использования теплоты
, где
- теплота равна холодопроизводительности в испарителе,
- теплота, затраченная на испарение жидкости в генераторе.
Коэффициент теплоиспользования имеет значение от ξ = 0,169 до ξ = 0,5 в более совершенных машинах.
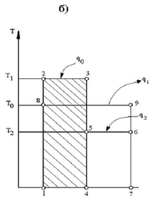
На диаграмме Ts цикл изобразится (см. рис. 5.4, б).
Работа абсорбционной холодильной установки может рассматриваться как совокупность трех тепловых резервуаров.
В первом резервуаре (генераторе) подводится теплота
равная пл. 1-2-3-4-1; во втором – испарителе подводится теплота
- пл. 4-5-6-7-4, в третьем отводится теплота
- пл. 1-8-9-7-1 (конденсатор -
, абсорбер -
). Тогда уравнение теплового баланса имеет вид
(5.5)
где
- теплота, отведенная в конденсаторе;
- теплота, отведенная в абсорбере.


Рис. 5.4






