План
Лекция № 23. Аэрация под действием ветра
23.1. Обтекание зданий ветром.
23.2. Понятие о фиктивном давлении.
23.3. Способы расчета аэрации.
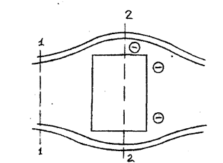
При обтекании одиночно стоящего здания, в следствии торможения ветрового потока, он начинает отклоняться на расстоянии 5-7 Нзд. Поток спрямляется за зданием на расстоянии 10-12 Нзд.

Рис. VIII.3 Обтекание ветром одиночного здания
Рассмотрим 2 сечения (рис.VIII.3). В первом сечении, площадь живого сечения(s1) больше чем во втором сечении (s2). Расход воздуха в сечениях одинаков. Следовательно в первом сечении скорость меньше чем во втором. Полная энергия потока определяется
Эпол = Эпот + Экин = const
Т.к. в первом сечении скорость меньше, то и кинетическая энергия будет тоже меньше чем во втором сечении. Во втором сечении потенциальная энергия потока меньше чем в первом, следовательно в местах отрыва потока от здания создаются зоны разряжения. На наветренной стороне здания возникают избыточные давления.
Если бы воздушный поток полностью затормозился, то величина избыточного давления на наветренной стороне, была бы равна скоростному напору
|
|
|
. (23.1)
Т.к. торможение не полное, то
, (23.2)
где К — аэродинамический коэффициент, учитывающий какая часть ветрового напора передается зданию.
Аэродинамический коэффициент показывает отношение избыточного давления или разряжения, создаваемого ветром на элементарной площадке, к динамическому давлению ветра. По абсолютной величине
.
Коэффициент К может быть > 0 и К < 0, т.е. положительный и отрицательный. Для наветренной стороны К > 0, а для зоны разряжения К < 0.
Величина коэффициента К не остается постоянной, она изменяется по высоте, длине здания и т.д., поэтому коэффициент К определяется экспериментальным путем на основе продувки модели в аэродинамической трубе.
Рассмотрим как будет происходить обтекание здания более сложной конфигурации (рис. VIII.4).

Рис. VIII.4 Обтекание ветром здания сложной конфигурации
Поток воздуха на некотором расстоянии от здания начинает менять свое направление (обтекать). В зависимости от отношения l/Н обтекание может быть различным.
При l/Н < 5 поток обтекает здание аналогично предыдущему.
Если l/Н > 5 то могут быть зоны подпора. Такие аэрационные фонари называются задуваемыми, т.к. через него входит и выходит воздух.
Рассмотрим аэродинамическую картину воздействия ветра на группу последовательно расположенных зданий (рис.VIII.5).
В зависимости от расстояния между зданиями воздушный поток или полностью восстанавливает свое первоначальное направление, если расстояние между зданиями > 10-12Нзд, или отклоняется последующим зданием, если расстояние < 10-12Нзд.
|
|
|

Рис. VIII.5 Обтекание ветром группы последовательных зданий
Зона разряжения между зданиями называется аэродинамической тенью. В этом случае вредности первого здания могут попадать в приточные отверстия следующего здания.
Если ветер дует под углом, то за первым зданием образуется аэродинамическая тень. На наветренной стороне здания часть отверстий будет работать на вытяжку, а часть на приток.






