Для непрерывного автоматического контроля плотности практически любых жидких растворов, суспензий применяются пьезо-компенсационные плотномеры; для контроля плотности низковязких технологических растворов — пневматические поплавковые плотномеры. Для бесконтактного контроля технологических растворов, суспензий, эмульсий, протекающих по технологическим трубопроводам, используются бесконтактные радиоизотопные
-плотномеры.



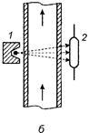
Рис. 112. Расположение источника (1) и приемника (2)
-излучения плотномера относительно трубопровода диаметром d < 0,2 м (а), d = 0,2...0,3 м (б) и d > 0,3 м (в)
Принцип действия радиоизотопного плотномера основан на измерении ослабления интенсивности
-излучения, проходящего через слой вещества толщиной
, которое описывается основным оптическим законом:

где
— интенсивность
-излучения на входе в слой вещества толщиной
и на его выходе соответственно;
— коэффициент поглощения.
Радиоизотопные
-плотномеры измеряют плотность технологических жидких сред в интервале 500...3500 кг/м3. Плотномер устанавливают вблизи технологического аппарата или трубопровода, обычно диаметром 0,1...0,3 м и более (рис. 5.112).
|
|
|
Погрешности денсиметрического контроля связаны с появлением в контролируемой среде дисперсной фазы (твердой, жидкой, газообразной), способной не только поглощать, но и рассеивать поток
-излучения, а также колебаниями температуры контролируемой среды.






