Ультразвуковой метод анализа жидкостей основан на измерении скорости распространения и поглощения ультразвуковой волны в контролируемой среде. Эта скорость определяется химической природой жидкости и при постоянной частоте ультразвуковой волны зависит от концентрации составляющих компонентов, плотности, вязкости, сжимаемости и температуры анализируемой среды.
Ультразвуковым методом можно определять состав различных жидких сред, в том числе суспензий и эмульсий.


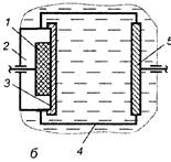
Рис. 113. Схемы датчиков ультразвуковых приборов с излучателем и приемником (а) и с совмещенным излучателыю-приемным элементом и отражателем (б):
1 — пьезоэлектрический резонатор, излучающий и (или) воспринимающий энергию ультразвуковых волн; 2 — камера; 3 — разделительная мембрана; 4 — фиксатор размещения элементов датчика; 5 — отражатель
Достоинства ультразвукового метода: анализируется весь объем пространства, заполненный контролируемой средой; измерения можно проводить при различных частотах, что позволяет осуществлять регулирование чувствительности измерительного прибора к параметрам контролируемой среды.
|
|
|
Чувствительные элементы ультразвуковых приборов (пьезоэлектрические излучатели и приемники) погружаются в контролируемую среду в защитных металлических корпусах во взрывобезопас-ном исполнении. В качестве излучающего и воспринимающего чувствительных пьезоэлементов применяют кристаллы ниобата лития. Точка Кюри ниобата лития близка к 500°С. Это позволяет использовать ультразвуковые приборы для контроля состава жидкости в любых ХТП. На рис. 113 приведены схемы двух вариантов датчиков ультразвуковых приборов. Пьезоэлектрические излучатель и приемник 1 помещают каждый в закрытую камеру 2 и прикрепляют через звукопроводящий слой к мембране 3. Датчик погружается в жидкую контролируемую среду таким образом, чтобы на его элементах не могли оседать твердые частицы. Контакт мембраны
или отражателя 5 в датчиках первого и второго вариантов с контролируемой средой возникает сразу при погружении в нее датчиков.






