Винтовые двигатели относятся к объемным роторным гидравлическим машинам.
Согласно общей теории винтовых роторных гидравлических машин элементами рабочих органов (РО) являются:
1) статор двигателя с полостями, примыкающими по концам к камерам высокого и низкого давления;
2) ротор-винт, носящий название ведущего, через который крутящий момент передается исполнительному механизму;
3) замыкатели-винты, носящие название ведомых, назначение которых уплотнять двигатель, т.е. препятствовать перетеканию жидкости из камеры высокого давления в камеру низкого давления.
|
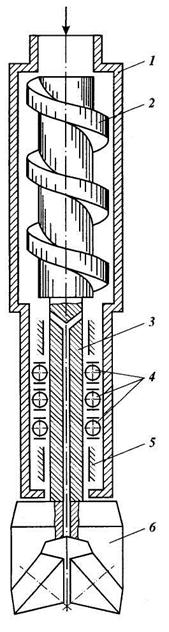
Рис. 16.1. Упрощенная схема винтового двигателя:
1 - корпус; 2 - ротор; 3 - вал; 4, 5 - осевой и радиальный подшипники; 6 - долото
В одновинтовых гидромашинах используются механизмы, в которых замыкатель образуется лишь двумя деталями, находящимися в постоянном взаимодействии, - статором и ротором.
При циркуляции жидкости через РО в результате действия перепада давления на роторе двигателя создается крутящий момент, причем винтовые поверхности РО, взаимно замыкаясь, разобщают области высокого и низкого давления. Следовательно, по принципу действия винтовые двигатели аналогично поршневым, у которых имеется винтообразный поршень, непрерывно перемещающийся в цилиндре вдоль оси двигателя.
|
|
|
Для создания в РО двигателя полостей, теоретически разобщенных от областей высокого и низкого давления (шлюзов), необходимо и достаточно выполнение четырех условий (рис. 16.2):
1) число зубьев zl наружного элемента (статора) должно быть на единицу больше числа зубьев z2 внутреннего элемента (ротора):







