Оборудование устья скважины состоит из колонной головки и предназначено для подвешивания обсадных колонн, герметизации и разобщения межколонных пространств, установки противовыбросового оборудования (в процессе бурения) и фонтанной арматуры (в процессе эксплуатации). В зависимости от конструкции устье скважины может быть оборудовано различными способами (рис.1.4).
По условиям эксплуатации оборудование подразделяется на три группы: для умеренного макроклиматического района: 1) некоррозионной и 2) коррозионной сред; 3) для холодного макроклиматического района и некоррозионной среды.
В шифре колонных обвязок приняты следующие обозначения: О – обвязка, К – колонна, К или М – способ подвешивания колонн (соответственно на клиньях или на муфте), 1, 2, 3 и т. д. – число подвешиваемых колонн (без учета колонны кондуктора), первое число – рабочее давление, второе число – диаметр эксплуатационной колонны в мм, третье число – диаметр технической колонны, четвертое число – диаметр колонны кондуктора в мм, ХЛ—климатическое исполнение для холодного района, исполнение по коррозионной стойкости:
К2 – для сред, содержащих H2S и СО2 до 6%;
КЗ – для сред, содержащих H2S и СО2 до 25%;
К2И – для колонных обвязок, изготовленных из малолегированной и низкоуглеродистой стали с применением ингибитора в скважине.
Различают следующие типы оборудования обвязки обсадных колонн:
- ОКМ с муфтовой подвеской обсадных труб;
- ОКК с клиньевой подвеской обсадных труб.
Оборудование обвязки обсадных колонн типа ОКМ (рис. 1.5) рассчитано на давление 14 МПа. Оно состоит из корпуса, муфтовой подвески, стопорных винтов, пробкового крана и манометра. Обвязка эксплуатационной колонны осуществляется с помощью муфтовой подвески.
Оборудование обвязки обсадных колонн типа ОКМ:
1 – кран пробковый проходной типа КППС; 2 – корпус; 3 – манометр;
4 – муфтовая подвеска; 5 – стопорный винт
Рис. 1.5
Техническая характеристика оборудования типа ОКМ приведена ниже.
Оборудование обвязки: ОК1-140-140Х219
ОКМ1-140-146Х219
ОКМ1-140-140Х245
ОКМ-140-146Х245
ОКМ1-140-186Х245
Запорное устройство Кран пробковый со смазкой КППС-65Х 140
Габаритные размеры, мм:
длина 1050
ширина 510
высота 50
Масса, кг:
в собранном виде 320¸345
полного комплекта 355¸380
Оборудование обвязки обсадных колонн типа ОКК (рис. 1.6) рассчитано на давление 21, 35 и 70 МПа. Оно предназначено для подвешивания двух и более обсадных колонн кондуктора (на резьбе или на сварке), технических и эксплуатационной, а также для герметизации и разобщения межколонных пространств с помощью упругих уплотнений.
Оборудование обвязки обсадных колонн типа ОКК:
1 – крестовина; 2, 4, 5, 8 и 9 – пакеры; 3, 6 и 10 – подвески; 7 – манифольд нижней промежуточной (средней) колонной головки; 11 – манифольд нижней колонной головки; 12 – нижняя колонная головка; 13,15 и 16 – нагнетательные клапаны; 14 – промежуточная (средняя) колонная головка; 17 – манифольд промежуточной (верхней) колонной головки; 14 – промежуточная (средняя) колонная головка
Рис. 1.6
Оборудование типа ОКК состоит из отдельных сборочных единиц – колонных головок. Нижняя колонная головка (ГНК), присоединяемая непосредственно к верхнему концу обсадной колонны (кондуктору), выпускается в трех исполнениях:
исполнение 1 – присоединение к обсадной колонне с помощью внутренней резьбы на корпусе головки;
исполнение 2 – присоединение к обсадной колонне с помощью наружной резьбы;
исполнение 3 – присоединение к обсадной колонне посредством сварки.
Колонные головки устанавливают на устье скважины последовательно по мере спуска и цементирования обсадных колонн. Их подбирают с учетом максимального пластового давления, ожидаемого при бурении следующего за обсаженным интервала скважины.
Оборудование типа ОКК состоит из нижней, промежуточной – первой, второй и третьей (верхней) колонн.
Обвязка обсадных колонн осуществляется с помощью клиньевых подвесок и пакеров.
Клиньевая подвеска состоит из корпуса и клиньев, которые в сборе устанавливают в конической расточке крестовины.
Для определения технологических операций каждая из колонных головок оснащена манифольдами. С целью контролирования давления в затрубном пространстве предусмотрены вентили, краны и манометры.
ОБВЯЗКА КОЛОННАЯ ОКК1-21-х245ХЛ-4

Обвязка колонная предназначена для обвязывания двух обсадных колонн, выступающих над устьем скважины с целью герметизации межколонного пространства между ними, контроля давления в нем. Обвязка колонная оснащена трубодержателем клиновым для подвешивания колонны эксплуатационной. Для герметизации межколонного пространства предусмотрены пакеры, размещенные между верхними и нижними кольцами пакеров. Наличие двух пакеров позволяет произвести опрессовку фланцевого соединения корпуса головки трубной с корпусом обвязки колонной.
| Температура скважинной среды, °С, не выше | |
| Температура окружающей среды, °С | от -60 до +60 |
| Класс материала по классификации | Spec. 6A API - BB. |
| Скважинная среда: | нефть, газ, газоконденсат, вода пластовая с суммарным содержанием СО2 и Н2S до 0,003% по объему. |
По требованию заказчика возможна поставка обвязок колонных в исполнении К1 (СО2 до 6%) и К2 (СО2 и Н2S до 6% каждого).
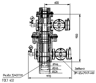
ОБВЯЗКА КОЛОННАЯ ОКК2-21-146х245х324ХЛ-4Ф

Обвязка колонная предназначена для обвязывания трех обсадных колонн, выступающих над устьем скважины, с целью герметизации межколонного пространства и контроля давления в нем. Обвязка колонная оснащена трубодержателями клиновыми для подвешивания колонны технической и эксплуатационной. Для герметизации межколонного пространства предусмотрены пакеры, размещенные между верхними и нижними распорными кольцами. Наличие сдвоенных пакеров позволяет произвести опрессовку фланцевых соединений корпуса головки трубной с верхним корпусом обвязки колонной и корпуса верхнего с корпусом нижним обвязки колонной. Изделие сертифицировано по Spec.6API. Качество изготовления изделия обеспечивается системой, сертифицированной по ISO 9001.
| Температура скважинной среды, °С, не выше | |
| Температура окружающей среды, °С | от -60 до +60 |
| Класс материала по классификации | Spec. 6A API - BB. |
| Скважинная среда: | нефть, газ, газоконденсат, вода пластовая с суммарным содержанием СО2 и Н2S до 0,003% по объему. |
| Рабочее давление, MПa/psi | 21/3000 |
| Условный диаметр обвязываемых обсадных колонн, мм | 146, 245, 324 |
| Масса, кг |