В однопроходных цветных сканерах с одним элементом ПЗС и одним источником света используется система цветоделительных светофильтров. В процессе сканирования каждой строки изображения три фильтра быстро сменяют один другой и тем самым последовательно создается цифровой образ строки для каждого цвета. На рис. 7.3 представлена схема такого сканера.

Рис. 7.3. Планшетный однопроходный цветной сканер с одним ПЗС-датчиком.
Осветительная система сканера (рис. 7.4) состоит из двух частей: для непрозрачных оригиналов (рис. 7.4. а) и прозрачных оригиналов (рис. 7.4. б). В осветительной системе, состоящей из оптико-волоконных световодов и источника белого света (галогенной лампы), установлена вращающаяся с высокой частотой турель с тремя цветными светофильтрами. В осветительной системе (рис. 7.4. а) для непрозрачных оригиналов оптико-волоконный жгут световодов, пропускающий свет того или иного цвета, раздваивается и освещение оригинала производится двумя осветителями. В осветительной системе для прозрачных оригиналов (рис. 7.4. б) оптико-волоконный жгут состоит из световодов с переменным диаметром, который увеличивается по мере удаления от источника света и образует оптико-волоконную пластину. Эта оптико-волоконная пластина заканчивается линзой, которая проецирует поток света на прозрачный оригинал.

Рис. 7.4. Осветительная система: а - для непрозрачных; б - прозрачных оригиналов.
Имеющиеся на оригинале грязь, соринки и другие посторонние предметы могут при сканировании создать большую проблему. Поэтому в некоторых сканерах применяют специальную асферическую осветительную линзу, которая до минимума уменьшает эффект помех от частичек пыли, царапин и отпечатков пальцев на оригинале. Это происходит за счет того, что возникающие пустоты заполняются светом от рядом лежащих областей оригинала.
На рис. 7.5., а показано, как можно минимизировать помехи, вызванные наличием посторонних частиц на поверхности оригинала, за счет того, что лучи света попадают в дефектную область одновременно с различных направлений. Асферическая осветительная линза сконструирована так, что она имеет меньшую кривизну по краям, чем в середине, поэтому свет может фокусироваться не только в середине линзы, но и по ее краям, что позволяет почти полностью компенсировать отклонения светового потока.
Обычная осветительная линза (рис. 7.5. б) также может собирать в пучок свет с различных направлений, но самая интенсивная часть излучения исходит, как правило, из середины линзы, и имеющиеся на ее краях лучи используются лишь в незначительной мере. Поэтому маловероятно, что различные погрешности, возникающие из-за соринок и других мелких частиц, компенсируются светом, чтобы свести к минимуму ошибки в отсканированном изображении. Недостатком асферических линз по сравнению с обычными является сложность их изготовления.

Рис. 7.5. Осветительная линза: а - асферическая; б - обычная.
Применяются планшетные однопроходные цветные сканеры с двумя одинаковыми линейками ПЗС. Один ПЗС используется для широкоформатных оригиналов, а другой - для оригиналов малого формата. Это позволяет значительно повысить разрешение при сканировании малоформатных изображений, так как меньшее по размеру изображение сканируемой строки приходится на то же количество светочувствительных элементов ПЗС, что и при сканировании большога.орипшада,
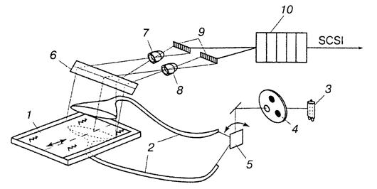
Схема такого сканера приведена на рис. 7.5. На оригиналодержателе 1 закрепляется оригинал и при сканировании оригиналодержатель перемещается в зону, где в зависимости от вида оригинала происходит засветка участка изображения с помощью световодов 2. Свет в них поступает от галогенной лампы 3 мощностью 100 Вт, пройдя через один из фильтров RGB - 4 или нейтрально-серый фильтр. Разворачивающее зеркало 5 направляет световой поток по нужному световоду. После того как свет разворачивается под углом 90° зеркалом 6, он попадает на систему линз 7 или 8 (в зависимости от заданного разрешения) и, пройдя их, попадает на одну из линеек ПЗС 9. Далее определенное напряжение поступает на аналого-цифровой преобразователь J 0, который формирует цифровой сигнал и передает его на управляющий компьютер.
Современные планшетные сканеры обеспечивают сканирование прозрачных и непрозрачных оригиналов с оптическим разрешением 5000 dpi. Интерполяционная разрешающая способность их достигает 11000 dpi, динамический диапазон - 3,7-4,0.

Рис. 7.6. Схема планшетного сканера с двумя ПЗС-датчиками.
Основными достоинствами планшетнх сканеров являются:
- простота использования. Технология сканирования способствует быстрому вводу оригиналов различных форматов, что не всегда возможно при использовании других сканеров;
- сканирование оригиналов различных размеров- Если максимальный размер сканируемого оригинала зависит только от размера рабочей области сканера, то его минимальный размер не ограничивается;
- широкий диапазон оригиналов. Планшетные сканеры можно использовать для сканирования прозрачных и большинства плоских непрозрачных оригиналов. Как и у копировальных аппаратов, у планшетных сканеров есть крышка, прижимающая к рабочей поверхности такие нестандартные оригиналы, как, например, книга;
- сканирование небольших трехмерных объектов. Можно сканировать трехмерные объекты небольших размеров, такие, как ключи, часы, монеты, листья и т.п. Однако результат не всегда может получиться удовлетворительным;
- возможность..установки дополнительных устройств: например, механизма автоматической подачи оригиналов или диапозитивной приставки для сканеров, работающих только с непрозрачными оригиналами;
- сканирование оригиналов нестандартного большого формата. Оригиналы большого (более А4) формата можно отсканировать по частям, а затем объединить их в каком-либо графическом редакторе;
- высокая скорость сканирования. Современные однопроходные планшетные сканеры позволяют сканировать цветные оригиналы стандарт! 1ых форматов с высоким разрешением всего за 20-30 с.
К недостаткам планшетных сканеров следует отнести большую занимаемую площадь и сложность выравнивания оригинала с неровно размещенным на носителе изображением, так как непрозрачный оригинал размещается на рабочей поверхности сканера лицевой стороной вниз и закрывается крышкой.






