Технические и технологические мероприятия снижения вредных выбросов котельных
Лекция 16. ОБОРУДОВАНИЕ И МЕРОПРИЯТИЯ, ПРИМЕНЯЕМЫЕ ДЛЯ СНИЖЕНИЯ ВРЕДНЫХ ВЫБРОСОВ КОТЕЛЬНЫХ
План
16.1 Технические и технологические мероприятия снижения вредных выбросов котельных
16.2 Применение одиночных и батарейных циклонов для очистки выбросов котельных от твердых веществ
В угольной промышленности основными мерами, направленными на уменьшение количества вредных выбросов с дымовыми газами котельных, являются закрытие котельных малой мощности; совершенствование технологии сжигания топлива; полное оснащение котельных эффективным пылеулавливающим и газоулавливающим оборудованием.
Технико-экономический анализ показывает, что очистку дымовых газов на мелких котельных (особенно от оксидов серы) обеспечить нельзя. Необходима централизация теплоснабжения предприятий и населенных пунктов путем подключения абонентов к котельным большой мощности и ТЭЦ с последующей ликвидацией малых котельных, оборудованных котлоагрегатами устаревших типов. Крупные теплоэнергетические установки позволяют осуществлять подачу вторичного острого дутья для устранения химического недожога при работе на твердом топливе. Это уменьшает выброс сажи и оксида углерода на 80-90 %, а горючих веществ - примерно в два раза. Крупные котлоагрегаты экономически целесообразнее оснащать современными устройствами для очистки дымовых газов не только от пыли, но и от других вредных летучих компонентов (оксиды серы, азота, углерода).
Дальнейшее совершенствование процессов сжигания твердого топлива заключается в его облагораживании, т.е. обессеривании, брикетировании, гранулировании. Сжигание такого топлива сопровождается минимальными выбросами оксидов серы и азота, уменьшением уноса твердых фракций с дымовыми газами, увеличением полноты сгорания. Например, по сравнению со сжиганием рядового угля применение гранул из отсевов углей уменьшает запыленность дымовых газов в 4-9 раз, а оксидов азота в 5-7 раз. Облагороженное топливо целесообразно использовать для маломощных котлоагрегатов промышленных котельных, работающих на естественной тяге и не подлежащих оборудованию пылеулавливающими устройствами, а также средствами санитарной очистки выбросов от пыли.
Известно, что образование оксидов азота обусловливается в основном двумя факторами - температурой горения и концентрацией кислорода в топочной камере. Одним из способов снижения температуры и концентрации кислорода при слоевом сжигании является рециркуляция продуктов сгорания, в результате которой выбросы оксидов азота снижаются на 10-15 % при условии, что в месте отбора газа коэффициент избытка воздуха не превышает 1,8.
Уменьшает вредные выбросы в атмосферу использование для котлоагрегатов жидкого или газообразного топлива, включая метан от дегазации шахт. Последнее направления является особенно перспективным на основе использования когенерационных технологий.
Улавливание пыли из дымовых газов котельных производится е помощью различных очистных установок. Вид их зависит от физико-химических свойств улавливаемой золы и пыли (в первую очередь фракционного состава).
Наиболее эффективным методом очистки дымовых газов промышленных и коммунально-бытовых котельных от твердых веществ является в настоящее время метод сухой механической очистки с применением одиночных циклонов для котельных с котлами паропроизводительностью 2,5-6,5 т/ч и батарейных циклонов для котельных с котлами производительностью 6,5-20 т/ч.
Электрофильтры вследствие высокой стоимости, больших габаритов, сложности обслуживания в промышленных котельных малой и средней мощности не применяются. Их устанавливают в основном на крупных котельных и ТЭЦ.
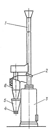
Если котельная оборудована несколькими вертикальными котлами, то на каждый из них устанавливают один или два циклона ЦН непосредственно около дымовой трубы. Предпочтительнее два циклона меньшего размера, так как в этом случае повышается эффективность очистки и уменьшаются габариты установки. Принципиальная - схема очистки газов циклонами тина ЦН приведена на рис. 16.1.
| Рис.16.1. Компоновка циклонов с вертикальным котлом: 1 - дымовая труба; 2 - шибер трубы; 3 - котел; 4 - разгрузочное отделение; 5 - бункер; 6 - циклон. |
Для очистки дымовых газов котельных, оборудованных чугунными секционными котлами, рекомендуются циклоны типа ЦН и БЦ. При этом на каждый котел целесообразно устанавливать два спаренных циклона и располагать их непосредственно за котлом (вне котельной).
В котельных установках производительностью 2,5-4 т/ч пылеуловители рекомендуется размещать непосредственно за хвостовыми поверхностями нагрева.
Для всех вышеперечисленных котлов производительностью 2,5-25 т/ч в качестве аппарата пылеулавливания может применяться батарейный циклон
БЦУ-М. При выборе пылеуловителя следует иметь в виду, что наряду с высокой эффективностью очистки аэродинамическое сопротивление БЦУ-М циклонов вдвое больше, чем циклона БЦ.
Кроме сокращения пыли все более важной для охраны окружающей среды становится очистка отходящих газов от вредных компонентов - оксидов серы, азота, углерода. Устройства для их улавливания основаны на использовании явлений абсорбции, адсорбции, ионного обмена, сухого и мокрого каталитического окисления. Сорбенты применяют как жидкие, так и сухие. Сорбенты и иониты очищают газ, поглощая вредные газообразные примеси. Каталитическое окисление осуществляется при температуре 500-600 °С.
Вводимые в токсическую газовую среду катализаторы окисляют вредные компоненты, делая их тем самым безвредными для окружающей среды.
С учетом актуальности проблемы уменьшения выбросов оксидов серы в атмосферу институтом НИИОГаз для нужд отрасли разработана установка (производительностью до 50 тыс. м³/ч)для очистки дымовых газов от сернистого ангидрида. В качестве сорбента в ней используется суспензия известняка с добавкой к поглотительному раствору осадка от нейтрализации кислых шахтных вод, содержащих гидрооксиды металлов, гипс, угольно-породную взвесь. Преимущество известнякового метода — простота технологической схемы, доступность и дешевизна сорбента, относительно малые капитальные затраты, возможность очистки газа без предварительного охлаждения и обеспыливания. Эффективность установки - 85 %. Это позволяет уменьшить выбросы сернистого ангидрида до уровня санитарных норм.
Существенным недостатком данного способа, основанного на использовании жидкого сорбента, является необходимость строительства шламохранилищ.
СПИСОК ИСТОЧНИКОВ
1. Гребенкин С.С., Костенко В.К., Матлак Е.С. и др. Сохранение окружающей природной среды на горнодобывающих предприятиях. Монография под общ. ред. Гребенкина С.С. и Костенко В.К. -Донецк: «ВИК», 2010.- 505 с.
2. Родионов А.И., Кузнецов Ю.П., Соловьев Г.С. Защита биосферы от промышленных выбросов. Основы проектирования технологических процессов. – М.:Химия, Колосс,2005. – 392с.
3. Ищук И.Г., Поздняков Г.А. Средства комплексного обеспыливания горных предприятий: Справочник.-М.: Недра, 1991.-253 с.
4. Николин В.И., Матлак Е.С. Охрана окружающей среды в горной промышленности.-К., Донецк: Вища школа, 1987.-192 с.
5. Ветрошкин, А. Г. Процессы и аппараты пылеочистки: учебное пособие / А. Г. Ветрошкин. – Пенза: Изд-во Пенз. гос. ун-та, 2005. – 210 с.
6. Гарин, В. М. Промышленная экология: учебное пособие / В. М. Гарин, И. А. Кленов, В. И. Колесников. – М.: Маршрут, 2005. – 328 с. – (Высшее профессиональное образование).
7. Закон України «Про охорону атмосферного повітря» від 16.10.1992 №2707.
8. Куликова Е.Ю. Теоретические основы защиты окружающей среды в горном деле. - М.: Изд-тво «Горная книга», 2005. – 611 с.
9. Архипов Н.А., Ельчанинов Е.А., Горбачев Д.Т. Добыча угля и рациональное природопользование - М.: Недра, 1987. – 285 с.
10. Горное дело и окружающая среда / [Сластунов С.В., Кролева В.Н., Колеков К.С., Кунепова Е.Ю и др.]. – М.: Лотос, 2001. – 272с.
11. Джигирей В.С. Єкологія та охорона навколишнього середовища: навч. посіб. – К.: Вид-во «Знання», КОО, 2000. – 203с.
12. Рациональное природопользование в горной промышленности/ [Арский Ю.М., Архипов Н.А. и др.]; под ред. проф. Харченко В.А. – М.: изд-во Московского горного университета. – 1998. – 444с.
13. Мазур И.И., Молдованов О.Н. Курс инженерной экологии: учеб. для ВУЗов / под ред. И.И.Мазура. – М.: Высш. Шк., 1999. – 447с.
14. Певзнер М. Е., Костовецкий В. П. Экология горного производства. – Москва: «Недра», 1990. – 346 с.
15. Колоков О.В., Хоменко М.П. Охрана окружающей среды при подземной разработке месторождений полезных ископаемых. – К.: «Высшая школа», 1986. – 426 с.






