Кассетные машины обычно состоят из следующих основных технологических узлов:
– самонаклада с выводным устройством;
– первого транспортера;
– первой фальцсекции;
– приемно-выводного устройства;
– компрессора;
– электропривода;
В каждой фальцмашине имеются контрольные блокирующие устройства, останавливающие машину в случае:
1) подачи 2 и более листов из самонаклада одновременно;
2) смятия и застревания листов в фальцевальной секции и на транспортере.
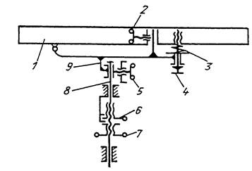
Схема регулировки выравнивающей линейки первого транспортера следующая (рис. 21).
Линейка 1 шарнирно прикреплена к рычагу 9, который при помощи винта 5 связан со стержнем 8, находящимся в горизонтальных направляющих машины, ориентировочная регулировка выполняется линейкой 1 на транспортере путем ее перемещения вдоль стержня 8 и фиксирования винтом 5.

Рис. 21. Схема регулировки выравнивающей линейки первого транспортера
Для точной установки линейки 1 в пределах нескольких миллиметров служит гайка 6, а для ее закрепления – контргайка 7. Косину в положении линейки 1 устраняют винт 4 и пружина 3. Винтом 2 закрепляется положение, полностью отрегулированное линейкой 1.
|
|
|
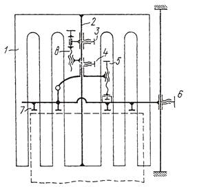
Схема выравнивания линии передних упоров показана на рис. 22.
Стенки кассеты 1, выполненные из листовой стали, имеют продольные прорези, в которые входит гребенка, а также при ориентировочной регулировке положения линии сгиба освобождают винты 3 и 4 и передвигают гребенку упоров 7 на необходимые расстояния к стержню 2. Для точной установки упоров служит винт 8. После точной регулировки с помощью винта 4 закрепляется положение гребенки упоров 7.

Рис. 22. Схема выравнивания линии передних упоров
Винт 5 используется для равнения косины упоров 7, а для закрепления – винт 6.
Поверхность фальцевальных валиков имеет параллельное или косое рифление, необходимое для уменьшения проскальзывания листов. Косое рифление, кроме того, уменьшает шум, возникающий при работе машины.
В каждой паре фальцваликов один размещен в неподвижных подшипниках, а другой – в подвижных, за счет чего он может перемещаться. Величина зазора между двумя фальцваликами должна быть не менее суммы толщины листов, проходящих между ними. Это позволяет создать такие деформации сжатия тетради, которые обеспечивают четкость фальца и достаточное сцепление с листом валиков.
Усилие для деформации листа выше при сгибах, расположенных поперек волокон бумаги, чем вдоль волокон. Для регулирования зазора «а» (рис. 23) между валиками применяется три различных устройства:
– винтовое;
– клиновое;
– рычажное.

Рис. 23. Схемы устройств регулирования зазора между фальцваликами






