Основным механизмом рулонной крышкоделательной машины является механизм привода каретки подачи, который служит не только для периодического перемещения заготовки, но и для привода других механизмов машины, так как вывод сторонок, подача отстава, транспортировка отрезанной заготовки должны быть увязаны с перемещением ленты с полуфабрикатами. Каретка подачи движется возвратно-поступательно, заготовки крышки перемещаются только в одну сторону, поэтому в систему передач введены муфты одностороннего хода.
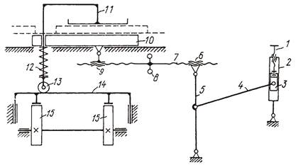
Кинематическая схема механизма привода каретки подачи полуфабрикатов представлена на рис. 54. Каретка движется кривошипным механизмом 2, приводимым от электродвигателя через понижающую передачу с зубчатыми колесами. Кривошип 2 через рычаг 4 качает коромысло 5. Шатун 7, имеющий на концах правую и левую нарезки, гайками 6 и 9 шарнирно связан с одной стороны с коромыслом 5, а с другой − с кареткой 10. Балка прижима 11 перемещается по горизонтали вместе с кареткой 10 и, кроме того, перемещается относительно каретки по вертикали. Пружина 12 и собственная масса системы тянут балку прижима 11 вниз. При рабочем ходе каретки 10 балка прижима 11 опирается на нее через картонные сторонки и ленту. При возвратном движении каретки 10 балка прижима 11 находится в верхнем положении, так как кулаки 15, с двух сторон сидящие на главных валах машины, поднимают направляющую 14, на которую опирается ролик 13 прижима 11. Гайкой 8 вращается тяга, соединяющая каретку 10 с коромыслом 5. Тем самым может устанавливаться исходное положение каретки 10.
|
|
|

Рис. 54. Кинематическая схема механизма привода каретки подачи полуфабрикатов
На рис. 53 б представлены графики движения балки прижима 11. На участке АБ, во время перемещения ткани, балка прижима 11 опущена и удерживает ленту с заготовками. В крайнем правом положении БВ балка поднимается, освобождает крышки, и каретка возвращается в исходное положение. Перед началом следующего хода балка опускается на ленту.
При наладке машины каретка подачи 10 может смещаться по продольной оси машины и устанавливаться в такое начальное положение, при котором угловырубные ножи 12 располагаются точно по линии будущего поперечного разреза ленты. Кроме того, величина хода каретки 10 может изменяться в пределах максимального и минимального форматов, на которые рассчитана данная машина, благодаря изменению радиуса кривошипа 2 (рис. 54). Вращая винт 1, можно смещать относительно центра вращения кривошипа 2 шарнир 3. В результате будет меняться амплитуда качания коромысла 5, а значит, и величина хода каретки 10.
На каретке в машинах старой конструкции также устанавливались две пары угловырубных ножей 12 (рис. 53 а), которые двигались симметрично оси машины при переходе на иной формат крышек.
В машинах выпуска последних лет механизм угловырубных ножей перенесен на станину машины вне каретки, за счет чего уменьшаются динамические нагрузки в ее приводе. Он срабатывает во время выстоя ленты. Однако точность снижается.