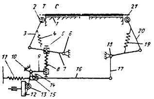
Кинематическая схема механизма поперечной загибки передней и задней кромок крышки показана на рис. 56. Отрубленная заготовка крышки с загнутыми продольными краями материала Т прижата к столу поперечной загибки 1. Длина стола 1 изменяется в соответствии с форматом крышки перемещением правой части стола 1 вместе с опорой 18. Работой механизма управляет торцевой кулак 12, находящийся на главном валу машины и поворачивающий через ролик 13 трехплечий рычаг 9 против часовой стрелки вокруг опоры 10: при этом преодолевается сопротивление пружины 11.

Рис. 56. Кинематическая схема механизма поперечной загибки передней и задней кромок крышки
Рычаг 9 через упругое звено, состоящее из стержня 5 и пружины 8, поворачивает по часовой стрелке вокруг опоры 6 рычаг 7, к концу которого шарнирно прикреплен рычаг 3, несущий валик 2. Пружина 4 поворачивает рычаг 3 по часовой стрелке относительно но рычага 7. За счет этого валик 2 при повороте рычага 7 по часовой стрелке поднимается до уровня стола поперечной загибки 1, а затем прокатывается по столу 1, упруго прижимаясь к нему и производя загибку конца материала и прикатывание его к картонной сторонке С.
На среднем плече рычага 9 шарнирно подвешена муфта 15, в которой болтом 14 закреплен стержень 16, передающий движение валику 21 через рычаги 17 и 20. Пружина 19, поворачивая рычаг 20 против часовой стрелки относительно рычага 17, обеспечивает упругое прижатие валика 21 к переплетной крышке.






