Так как ТП должны размещаться как можно ближе к центру потребителей (ЦЭН), то для этого должны применяться внутрицеховые подстанции, а также
встроенные в здание цеха или пристроенные к нему, питающие отдельные цехи (корпуса) или части их.
ТП должны размещаться вне цеха только при невозможности размещения внутри него или при расположении части нагрузок вне цеха.
Применение внешних отдельно стоящих цеховых подстанций целесообразно:
а) при питании от одной подстанции нескольких цехов, когда пристройка или сооружение самостоятельных подстанций в каждом цехе экономически неоправданы;
б) при наличии в цехах взрывоопасных производств;
в) при невозможности размещения подстанций внутри цехов по соображениям производственного характера.
Выбранная подстанция должна занимать минимум полезной площади цеха, удовлетворять требованиям электрической и пожарной безопасности и не должна создавать помех производственному процессу.
Цеховые ТП подразделяются на комплектные подстанции заводского изготовления (КТП) и подстанции, монтируемые на месте строительства (ТП). При проектировании следует отдавать предпочтение КТП, обеспечивающим большую надежность и сокращение сроков строительства.
Ограждение КТП следует применять в цехах, насыщенных оборудованием или в цехах с интенсивным движением транспорта.
В зависимости от условий производства все ТП, служащие для питания цеховых электроприемников напряжением до 1000 В, по конструктивному исполнению и компоновке бывают следующих типов:
- внутрицеховые;
- встроенные;
- пристроенные;
- отдельностоящие.
Внутрицеховые ТП имеют все стены или легкие ограждения, выходящие в цех. Они могут сооружаться только в помещениях с производствами Г и Д, I-ой и II-ой степени огнестойкости по противопожарным требованиям.
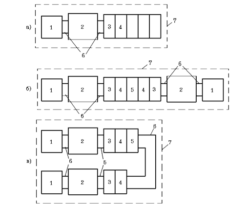
Внутрицеховые ТП бывают одно- и двухтрансформаторными (рисунок 6). ТП могут размещаться в отдельных помещениях или открыто (с легкими ограждениями) в цехе, как правило, в мертвой зоне грузоподъемных машин для исключения случайных ударов. Габаритные и установочные размеры КТП приведены на рисунке 7.
Для основных типов масляных трансформаторов внутрицеховых подстанций должны предусматриваться бетонированные маслосборные ямы (маслоприемники) на полный объем масла без его отвода. Маслосборные ямы перекрываются решеткой со слоем со слоем гравия - 250 мм, фракцией от 30 до 40 мм, при этом уровень полного объема масла не должен доходить до решетки на 50 мм.
У встроенных цеховых подстанций одна из стен совпадает со стеной цеха, а сама подстанция размещается на площади цеха (рисунок 8).
Встроенные подстанции позволяют более удачно решить архитектурное оформление здания, однако расположение подстанции на площади цеха не всегда возможно по условиям размещения технологического оборудования. Следует иметь ввиду, что там, где это возможно, предпочтение должно отдаваться наружной установке трансформаторов. При этом удешевляется строительная часть, улучшаются условия охлаждения трансформаторов, увеличивается срок службы, уменьшаются потери и увеличивается перегрузочная способность.

1 - вводное устройство высокого напряжения (6, 10 кВ);
2 - силовой трансформатор (6-10/0,4 кВ);
3 - распределительное устройство низкого напряжения (0,4/0,23);
4 - низковольтный шкаф отходящих линий;
5 - шкаф секционного низкого напряжения;
6 - шинные короба;
7 - ограждение подстанции.
Рисунок 6 - Компоновки КТП с одним и двумя трансформаторами

Рисунок 7 - Габаритные и установочные размеры КТП

а) однотрансформаторные с внутренней установкой трансформатора;
б) двухтрансформаторная с внутренней установкой трансформатора;
в) двухтрансформаторная с наружней установкой трансформатора.