Важнейшими практическими задачами, которые привели к развитию теплотехники и термодинамики были создание тепловых сетей для внутреннего обогрева помещений и создание устройств для превращения внутренней энергии в механическую – тепловых двигателей. В основе первой задачи лежит теория теплопроводности. Для решения второй был необходим процесс, при котором внутренняя энергия системы уменьшается, а механическая увеличивается. Такой процесс известен: при расширении газа под поршнем, он двигает поршень и при этом охлаждается. Молекулярное описание этого процесса уже было дано. Казалось бы, задача решена. Однако, важной особенностью является то, что работа двигателя должна быть циклической, он должен возвращаться к исходному состоянию. Поэтому, если после совершения полезной работы А, при которой внутренняя энергия рабочего тела (газа) уменьшилась на DU, вернуть его в исходное состояние по тому же пути, то внешние силы совершат работу A’=-А (поскольку внутренняя энергия должна увеличиться на DU), и никакой полезной работы совершить не удастся.
|
|
|
Дальше намечается два пути 1) каждый раз использовать новое рабочее тело, продукты реакции выбрасывать (двигатели внутреннего сгорания) или 2) использовать одно и то же рабочее тело (одну порцию газа), но возвращать систему в исходное состояние по пути с более низкой температурой. Рассмотрим этот способ подробнее, поскольку в этом случае машина не обменивается веществом с окружающей средой, а только теплом.

Цилиндр с газом может вступать в тепловой контакт с двумя телами, имеющими разную температуру – «нагревателем» и «холодильником». T1>T2. Цикл состоит из 4 частей. 1)Получая от нагревателя тепло Q1, газ расширяется при температуре T1 2) Контакт с нагревателем прекращен, но газ продолжает расширяться, охлаждаясь до температуры T2 3) Цилиндр приводят в контакт с холодильником и он сжимается при температуре T2, отдавая холодильнику тепло Q2. Важнейшей особенностью процесса является то, что тепло Q2 меньше тепла Q1. На последней части цикла газ сжимается без контакта с холодильником, его температура достигает T1, а объем становится равен исходному. Машина готова к повторению цикла. Полезная работа A=Q1-Q2>0, Этот идеализированный цикл послужил основой для построения теории тепловых двигателей. Был выяснен важнейший факт: количество тепла Q1 не может быть полностью превращено в механическую работу. Часть тепла будет бесполезно потеряна. КПД теплового двигателя логично определить долей Q1, превращенной в механическую работу
. Описанный выше циклический процесс был проанализирован французским инженером итальянского происхождения Сади Карно и получил название цикла Карно. Для машины без тепловых и механических потерь КПД цикла Карно вычисляется по формуле
Это максимальный КПД, который может иметь тепловая машина с данными температурами T1 и T2. Видно, что чем больше разность температур, тем выше КПД. Поскольку понижать температуру T2 ниже температуры окружающей среды невыгодно (почему?), стараются повысить температуру T1.
|
|
|
Холодильник. Если организовать этот процесс в противоположном направлении, то мы будем отбирать у второго резервуара тепло Q2 и отдавать первому Q1. По этому принципу работают все холодильные машины. Вторым резервуаром является охлаждаемое тело, первым – обычно атмосфера. На каждом цикле работы холодильника необходимо совершать внешнюю механическую работу. В бытовом холодильнике легкоиспаряемая жидкость испаряется при более низкой температуре в спирали холодильной камеры, а затем конденсируется при более высокой во внешней спирали. Ясно, что конденсация при более высокой температуре должна происходить при повышенном давлении. На повышение этого давления и идет механическая работа электродвигателя холодильника.
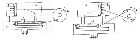
В реальных тепловых машинах конструкторов не особо заботило сохранение рабочего тела. В паровой машине нагретый пар совершал работу, двигая поршень, после чего выбрасывался в атмосферу. Отработанные продукты сгорания в современных двигателях также выбрасываются. Принципиальная схема поршневого двигателя приведена на рисунке

Нагретые газы под высоким давлением поступают из нижнего отверстия в камеру, связанную с цилиндром. На левом такте газы давят на поршень слева, а из правой части отработанный газ беспрепятственно уходит в атмосферу. Маховик на оси вращения заставляет систему проходить через крайние точки. Недостатками тепловых двигателей является ограниченная мощность. Увеличение мощности ведет к увеличению прочности цилиндров (и их веса), веса поршней и движущихся частей. Поэтому максимальная мощность поршневого двигателя 17500 лошадиных сил. 1л.с.=735 Вт. Кроме поршневых двигателей используются роторные, где движущаяся с большой скоростью струя пара вращает турбину с лопатками.






