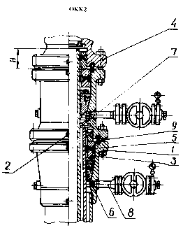
Колонная головка. Представляет собой нижнюю часть устьевого оборудования. Предназначена для подвешивания обсадных колонн, герметизации и разобщения межколонных пространств, проведения ряда технологических операций, установки противовыбросового оборудования в процессе бурения и фонтанной арматуры в процессе эксплуатации скважины.
После установки колонная головка на все время эксплуатации скважины остается на устье, не демонтируется и не ремонтируется. Колонные головки устанавливаются на всех скважинах независимо от способа их эксплуатации. Скважины, вскрывшие пласты с высоким давлением, оборудуются колонными головками с клиновой подвеской обсадных труб, которые способны выдержать высокие давления в межтрубном пространстве и отличаются легкостью и простотой монтажа (типа ГКК, ОКК).
Трубная головка. Трубная головка представляет собой верхнюю часть устьевого оборудования. Предназначена для закрепления фланцевого переводника фонтанной арматуры, для обводки (подвешивания, закрепления) колонны НКТ, а так ж для вторичного уплотнения колонны внутренней обсадной трубы (эксплуатационной колонны) и выполнения технологических операций при освоении, эксплуатации и ремонте скважин.
Фонтанная арматура. Фонтанная арматура предназначена для герметизации устья скважин, контроля и регулирования режима их эксплуатации, а так же для проведения различных технологических операций. Конструкция фонтанной арматуры включает в себя: трубную головку, фонтанную елку, запорные устройства с ручным (или пневматическим) управлением, регулирующие устройства. Существуют два основных типа фонтанной арматуры: крестовые и тройниковые (Рис. 3.3.).

Фонтанная елка предназначена для направления продукции скважины в выкидную линию (шлейф), регулирования режима эксплуатации скважины, для установки специальных устройств при спуске скважинных приборов или скребков для очистки труб от парафина, замера давления и температуры, а так же проведения некоторых технических операций.
В качестве запорных устройств фонтанной арматуры применяют проходные пробковые краны и прямоточные задвижки различной конструкции с принудительной или автоматической подачей смазки.
На рисунке 3.4. представлена типичная обвязка газовой скважины. Для регулирования режима эксплуатации на боковых струнах фонтанной елки устанавливаются регулируемые и нерегулируемые дроссели (угловые дроссели).
|

![]() |
