X(z) = R(z) / A(z) = R(z) ´ H(z), (10.6)
где H(z) = G / A(z) - передаточная функция синтезирующего фильтра, обратная передаточной характеристике фильтра-анализатора с точностью до скалярного коэффициента усиления G. Фильтр H(z) - это линейная система с переменными параметрами (фактически - модель фильтра голосового тракта), которая возбуждается импульсной последовательностью для вокализованных звуков и шумом для невокализованных (см. рис.10.1). Фильтр-анализатор и фильтр-синтезатор являются рекурсивными, поскольку значение сигнала на их выходах определяется лишь предшествующими выходными выборками речевого сигнала.
Рис. 10.3. Модель фильтра-синтезатора X(z)
Такая модель имеет следующие параметры: классификатор вокализованных и невокализованных звуков, период основного тона для вокализованных сегментов, коэффициент усиления G и коэффициенты api цифрового фильтра. Все эти параметры, разумеется, медленно изменяются во времени.
11. Вокодеры с линейным предсказанием (липредеры)
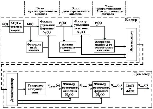
Кодирование речи на основе метода линейного предсказаниязаключается в том, что по линии связи передаются не параметры речевого сигнала (РС), как такового, а параметры некоторого фильтра, в известном смысле эквивалентного голосовому тракту, и параметры сигнала возбуждения этого фильтра. В качестве такого фильтра используется фильтр линейного предсказания (ФЛП), названный ранее фильтром-анализатором с передаточной функцией A(z). При кодировании (на передаче) производится оценка параметров ФЛП и параметров сигнала возбуждения, а при декодировании (на приеме) - сигнал возбуждения пропускается через фильтр-синтезатор, на выходе которого получается восстановленный сигнал речи. Различные варианты алгоритмов кодирования отличаются набором передаваемых параметров фильтра, методом формирования сигнала возбуждения и рядом других деталей, а процедура кодирования речи сводится к следующему (рис. 11.1):
· оцифрованный сигнал речи "нарезается" на сегменты длительностью 20 мс;
· для каждого сегмента оцениваются параметры ФЛП и параметры сигнала возбуждения; в качестве сигнала возбуждения в простейшем (по идее) случае может выступать остаток предсказания, получаемый при пропускании сегмента речи через фильтр A(z) с параметрами, полученными из оценки для данного сегмента;
· параметры фильтра и параметры сигнала возбуждения кодируются по определенному закону и передаются в канал связи.

Рис. 11.1. Кодирование речи на основе метода линейного предсказания
Процедура декодирования речи заключается в пропускании принятого сигнала возбуждения через синтезирующий фильтр известной структуры, параметры которого переданы одновременно с сигналом возбуждения. Сигнал на вход анализирующего фильтра поступает непосредственно с выхода АЦП, а выходной сигнал синтезирующего фильтра попадает на вход ЦАП. Приведенное описание процессов кодирования и декодирования речи не является исчерпывающим, оно объясняет лишь принцип действия кодека. Практические схемы заметно сложнее, и это связано в основном со следующими двумя моментами.
Во-первых, речевой сигнал обладает двумя видами внутренних корреляционных связей, кратковременной и долговременной избыточностью, поэтому в подавляющем большинстве современных речевых кодеков используется два предсказателя: кратковременный (SHORT-TERM) и долговременный (LONG-TERM). Первый предсказатель (STP), учитывающий кратковременную избыточность РС, связан с корреляциями между близко расположенными отсчетами сигнала и определяет огибающую спектра. Его порядок обычно бывает 6÷10. Второй, долговременный, предсказатель (LTP) определяет тонкую структуру РС и связан с корреляцией двух отрезков сигнала между собой, реально - двух соседних периодов основного тона (ОТ). Период основного тона речиизменяется в широких пределах. На практике обеспечивается формирование частоты ОТ в пределах 57 ё 500 Гц, что соответствует изменению периода от 2 до 17,5 мс.
Сочетание двух предсказателей с разными характеристиками позволяет в значительной мере устранить остаточную избыточность и приблизить остаток предсказания по своим статистическим характеристикам к белому шуму. При этом на приемную сторону передаются остаток предсказания и коэффициенты обоих (STP и LTP) предсказаний.
Во-вторых, использование остатка предсказания в качестве сигнала возбуждения оказывается недостаточно эффективным, так как требует для кодирования слишком большого числа бит. Поэтому практическое применение находят более экономичные (по загрузке канала связи, но отнюдь не по вычислительным затратам) методы формирования сигнала возбуждения.
Рассмотрим структурную схему вокодера с линейным предсказанием более подробно (рис. 11.2). На подготовительном этапе выполняют аналого-цифровое преобразование РС и сегментацию цифрового потока: для последующей обработки выбирают отсчеты сигнала на интервале длительностью 20 мс, что при Fд = 8 кГц обеспечивает число обрабатываемых отсчетов равное 160. После сегментации отсчетов РС в кодере последовательно выполняются следующие три процедуры:
1. кратковременный (формантный) анализ с использованием процедуры линейного предсказания, в результате чего получают первый остаточный сигнал r 1(k);
2. долговременный анализ с использованием линейного предсказания для определения параметров ОТ, в результате чего получают второй остаточный сигнал r 2(k), близкий по своим характеристикам к шумовому, поскольку между отсчетами этого сигнала корреляция мала;
3. аппроксимация второго остаточного сигнала с целью формирования сигнала возбуждения.
В первой процедуре оценку текущего отсчета Ś(k) определяют в соответствии с (10.1) как сумму P предшествующих отсчетов. При формантном анализе порядок предсказания P выбирают равным 8 – 12. Определение коэффициентов предсказания api фильтра-анализатора (10.5) производят в блоке формантного анализа из условия минимизации среднеквадратичного значения ошибки предсказания (т.е. первого остаточного сигнала) на интервале сегмента.
Вычисленные значения коэффициентов предсказания используют в фильтре удаления формант кодера, на выходе которого получают сигнал, свободный от квазипериодических составляющих – формант; его называют первым остаточным сигнал ом. Информацию о формантах несут переданные на приемный конец параметры фильтра api, либо связанные с ними коэффициенты частичной корреляции (коэффициенты отражения). Иногда используют функции от коэффициентов отражения - так называемые логарифмические отношения площадей.
Во второй процедуре с учетом того, что основной тон характеризуется всего двумя параметрами, - амплитудой и периодом, передаточная функция фильтра удаления ОТ A2(z) описывается более простым, по сравнению с (10.4), выражением
, (11.1)
где G - единственный коэффициент предсказания, характеризующий амплитуду основного тона. Задержка a определяет период основного тона, ее значение обычно заключается в пределах от 20 до 160 интервалов дискретизации сигнала, что соответствует диапазону частот основного тона 50 - 400 Гц. Известно, что значение основного тона для разных голосов может изменяться почти в 10 раз - от 2 до 18 мс. Это обстоятельство создает немало трудностей при оценке ОТ, так как слух очень чувствителен к его искажениям. Методов измерения ОТ известно очень много и, вместе с тем, метод, не требующий чрезмерной задержки, пока не появился.
Несмотря на относительную простоту выражения (11.1), анализ и удаление ОТ является более сложной процедурой по сравнению с формантным анализом. Это обусловлено существенно большим периодом ОТ и сложностью выявления корреляции между отсчетами на большом временном интервале. Кроме того, период и амплитуда ОТ очень важны для точного восстановления речи. Именно поэтому на этапе долговременного анализа сегмент речи разделяют на 4 подсегмента. Каждый подсегмент имеет длительность 5 мс и содержит 40 отсчетов. Значения G и a определяют для каждого подсегмента по отдельности. Найденные параметры G и a используют в фильтре удаления основного тона. Их также передают на приемный конец в декодер, где используют при синтезе речевого сигнала.

Рис. 11.2. Структурная схема липредора
Решаемая задача третьей процедуры - при минимальном объеме информации о сигнале возбуждения обеспечить приемлемое качество восстановленного сигнала. Для достижения этого обработку второго остаточного сигнала производят отдельно для каждого подсегмента из 40 отсчетов. Суть аппроксимации состоит в том, что второй остаточный сигнал моделируют в виде определенного числа импульсов на интервале подсегмента.
Переданные по каналу связи параметры аппроксимации второго остаточного сигнала, параметры основного тона G и a, коэффициенты формантного фильтра api поступают на соответствующие блоки декодера (рис. 11.2). В любом случае по каналу связи вместо самой речи передают так или иначе выделенные и квантованные параметры кратковременного и долговременного предсказания, интервал и усиление ОТ, параметры возбуждения. В декодере ЛП по принятым параметрам восстанавливают сигнал возбуждения, пропускают его через синтезирующий фильтр и восстанавливают речь.
Синтез сигнала начинают с восстановления второго остаточного сигнала, выполняемого генератором возбуждения. Восстановленный сигнал r 2вос(k) несколько отличается от второго остаточного сигнала в кодере из-за погрешности аппроксимации.
Восстановленный второй остаточный сигнал пропускают через фильтр восстановления основного тона, передаточную характеристику которого H2(z) устанавливают обратной характеристике фильтра удаления основного тона кодера:
.
На выходе этого фильтра получают восстановленный первый остаточный сигнал r 1вос(k), который включает основной тон. Наконец, фильтр восстановления формант с передаточной функцией H(z) восстанавливает формантные составляющие сигнала.
Восстановленный сигнал S вос(n) достаточно близок к исходному сигналу на входе кодера S (n). Выполнив цифро-аналоговое преобразование и пропустив сигнал через ФНЧ, получают восстановленный аналоговый сигнал.
Все процедуры обработки сигнала в кодере и декодере выполняются цифровыми методами. Кодер и декодер реализуют на высокопроизводительном сигнальном процессоре. Показанные на рис. 11.2 модули липредора фактически являются блоками программного обеспечения.
12. Кодирование речи в гибридных кодерах
Гибридные кодеры речевой информации основаны на комбинации линейного предсказания с элементами кодирования формы сигнала, т.е. звуковой волны. Так, в алгоритме линейного предсказания с возбуждением от остатка предсказания (RELP) (см. табл. 6.1) наряду с передачей вокодерных параметров (коэффициентов линейного предсказания и усиления) осуществляется передача сигнала остатка (ошибки) предсказания в полосе частот 0...800 Гц. Сигнал остатка предсказания приблизительно равен сигналу возбуждения голосового тракта модели речеобразования (см. рис. 10.1), поэтому в алгоритме RELP он используется в синтезаторе декодера для возбуждения синтезирующего фильтра. Формируемый в результате речевой сигнал звучит более естественно.
Большинство гибридных кодеров используют замкнутое кодирование на основе линейного предсказания, называемое также методом «анализ через синтез» (AbS). Этот метод характеризуется исчерпывающей самооптимизирующейся процедурой поиска. Ее выполняет аппаратура передачи, которая находит наилучшую аппроксимацию каждого речевого сегмента исходного речевого сигнала (РС). Как только такая аппроксимация определена, представляющий ее код передается на приемную сторону, где используется для синтеза РС.
Одной из первых реализаций метода анализа через синтез (1982 г.) является алгоритм линейного предсказания с многоимпульсным возбуждением (MPE), используемый в системах спутниковой связи. В многоимпульсном возбуждении сигнал остатка линейного предсказания представляется в виде последовательности импульсов с неравномерно распределенными интервалами и с разными амплитудами. Число импульсов в каждом кадре речевого сигнала зависит от требуемого качества речи, чем больше импульсов, тем выше качество речи. На каждом кадре в 10 мс речевого сигнала считается достаточным 6...8 импульсов (или 8 импульсов на период основного тона) для получения высокого качества синтезированной речи.
Согласно этому алгоритму (рис. 12.1), амплитуды и положения импульсов сигнала многоимпульсного возбуждения определяются на покадровой основе (кадр за кадром): на передающей стороне генератор возбуждения создает неравномерно распределенную последовательность импульсов и(п), которая в качестве сигнала возбуждения поступает на вход синтезирующего фильтра, на выходе которого возникают выборки речи Ŝ(n). Эти выборки сравниваются с соответствующими выборками S(n) исходного РС и находится ошибка предсказания z(n).
Рис. 12.1. Схема речевого кодера, использующего метод «анализ через синтез»
Кодер, реализованный на основе метода «анализ через синтез», - это речевой синтезатор, который генерирует сигнал, подобный объекту кодирования - речевому сигналу. Синтезатор состоит из генератора возбуждения и фильтров долговременного (LTP)икратковременного (STP) предсказания. STP -фильтр моделирует краткосрочную корреляцию РС (восстанавливает огибающую спектра), порядок адаптации при этом составляет 20…30 мс, а порядок предсказания P обычно выбирается равным 8-12. LTP -фильтр формирует долгосрочную корреляцию РС (точную структуру спектра); период его адаптации – каждые 5…10 мс. Из-за рекурсивной природы обоих фильтров они содержат память-буфер, содержимое которого переносится из предыдущего анализируемого кадра.
В процессе кодирования каждого речевого сегмента (кадра) для него находятся такие “наилучшие” положения импульсов в последовательности и(п) и их амплитуды, которые обеспечивают минимальную ошибку. Алгоритм оптимизации, используя уравнение (10.2), минимизирует разность z(n) между исходным и синтезированным сигналами путем изменения возбуждающего сигнала и коэффициентов линейного предсказания api фильтров STP и LTP. Это достигается выполнением последовательных процедур – сначала определяются параметры нестационарного (т.е. синтезирующего) фильтра, затем по ним оптимизируется возбуждение.
Метод “анализа через синтез” дает весьма высокое качество синтезированной кодеком речи, поскольку учитывает процессы квантования коэффициентов вокодера, возникающие ошибки квантования, их влияние на синтезированную речь. К тому же, при вычислении величины ошибки между синтезированной и исходной речью используют не среднеквадратический критерий, а критерий, учитывающий особенности субъективного восприятия слушателем (в частности, эффект маскировки сигнала малого уровня сигналом большого уровня). Для этого перед вынесением решения о величине средней ошибки на речевом сегменте сигнал ошибки пропускают через взвешивающий фильтр, т.е. в алгоритме оптимизации используется не сама погрешность, а ее взвешенное значение zw(n). Этот фильтр перестраивается одновременно с синтезирующим фильтром и перераспределяет энергию ошибки по частотному диапазону (где-то усиливает, а где-то ослабляет). В результате б о льшая часть шума квантования попадает в места расположения формантных областей (максимумов спектра) РС, а м е ньшая — между областями. В этом случае в формантных областях происходит маскировка шума речевым сигналом, в результате чего общая заметность шума в синтезированной речи уменьшится.
На сторону приема передаются параметры LTP- и STP- фильтров, а также параметры сигнала возбуждения. Представление сигнала возбуждения и(п) ввиде последовательности импульсов с неравномерно распределенными интервалами и различными амплитудами позволяет более точно учесть особенности возбуждения голосового тракта человека.
Метод “анализа через синтез” применяется почти в каждом вокодере. Это обусловлено тем, что оптимальные значения для некоторых параметров, участвующих в синтезе речи, можно найти только методом перебора (внутри заданного заранее множества их значений).
Установлено, что для вокализованного РС многоимпульсное возбуждение можно упростить, представив его в виде последовательности равномерно расположенных импульсов (обычно 10 импульсов на интервале 5 мс). В методе возбуждения регулярной импульсной последовательностью (RPE) взаимное положение импульсов предопределено заранее - используют решетку равноотстоящих импульсов, а оптимизируют расположение решетки и амплитуды импульсов. В этом методе число импульсов определяется интервалом между ними. Экспериментально установлено, что интервал, равный четырем отсчетам (4*0,125 = 0,5 мс) РС, является оптимальным. Интервал больше, чем 5 отсчетов ухудшает звучание, особенно женских голосов. Местоположение первого импульса должно определяться каждые 5 мс минимизацией сигнала остатка.
Качество речи, синтезированной с использованием этого метода возбуждения, конечно, не имеет той полноты звучания, которое получается при многоимпульсном возбуждении. Однако алгоритм обработки при RPE значительно проще. Это и определяет широкое распространение данного метода аппроксимации второго остаточного сигнала.
В 1984 году, как естественное развитие многоимпульсного метода возбуждения, было предложено так называемое векторное кодирование (VQ), когда кодируется одновременно группа параметров, характеризующих позиции импульсов и их амплитуды. В этом случае в качестве сигнала возбуждения используется последовательность отсчетов (т.е. “ вектор ”), взятая из заданного набора этих последовательностей (т.е. из “ кодовой книги векторов ”). Входной вектор, представляющий собой образец входного РС, сравнивается с векторами, находящимися в кодовой книге, и находится вектор, наиболее близкий к входному. Критерием выбора вектора часто становится минимизация среднеквадратичной ошибки между образцом входного сигнала и вектором. Каждому “вектору” из этой “книги” соответствует свой адрес - индекс (номер), который и передается по каналу связи на приемную сторону. На рис. 12.2 изображен процесс кодирования. На приемной стороне в декодере используется точно такая же кодовая книга, из которой по индексу извлекается требуемый вектор. Таким образом, снижение скорости в результате использования VQ достигается путем передачи на прием только номера (индекса) вектора с масштабным коэффициентом.

Рис. 12.2. Принцип векторного кодирования
Как правило, кодовая книга состоит из большого количества векторов, т.к. ее размер оказывает значительное влияние на качество речи. В виду очень больших вычислительных затрат прямой перебор векторов для отыскания среди них оптимального оказывается очень часто не возможен. Поэтому прибегают к различным ухищрениям в виде разбиения одной книги на несколько и последовательного поиска в каждой из них, а также структурирования содержания книги. Чтобы уменьшить время поиска подходящего вектора в кодовой книге, используют также так называемый древовидный поиск. В этом случае число вычислительных операций равно log2N, где N - число векторов. Однако при этом требуется большой объем памяти. Как правило, создаются две кодовые книги: одна для образцов сигнала возбуждения, другая - для образцов огибающей спектра.
Наиболее подходящий вектор возбуждения выбирается из заранее составленных кодовых книг, содержащих обычно 27 -210 квазислучайных векторов заданной длины с элементами, нормированными по амплитуде. Амплитуда вектора возбуждения кодируется отдельно в соответствии с громкостью передаваемого сегмента речи. Векторное кодирование лежит в основе метода стохастического кодирования, или метода линейного предсказания с кодовым возбуждением (CELP). Частными случаями CELP являются методы VSELP и ACELP.
Кодер CELP реализует процедуру анализа через синтез (рис.12.3). Сигнал возбуждения u(h) формируется путем сложения масштабированного сигнала из адаптивной кодовой книги (добавляются долговременные частотные составляющие речевого сигнала) и масштабированного сигнала из большой фиксированной кодовой книги. Полученный сигнал возбуждения управляет синтезирующим фильтром, который моделирует эффекты голосового тракта. В декодере сигнал возбуждения проходит через синтезирующий фильтр, формируя восстановленный речевой сигнал Ŝ(n).
Очевидно, что сначала определяются параметры фильтра, а затем уже находятся индексы кодовых книг а и k и соответствующие коэффициенты усиления G1 и G2. Параметры кодовых книг выбираются так, чтобы минимизировать взвешенную ошибку между исходным речевым сигналом S(n) и восстановленным Ŝ(n), что достигается подачей содержимого каждой «ячейки» кодовой книги на синтезирующий фильтр с целью выявления максимально похожего (по восприятию) образца.

Рис. 12.3. Блок-схема кодера CELP
В алгоритме VSELP используется не одна большая стохастическая кодовая книга, а две, меньшего размера (128 векторов в каждой). Для эффективности кодирования эти две книги также образуются с помощью нескольких базовых векторов (базиса книги). Базовые вектора взаимно ортогональны друг другу, что обеспечивает и ортогональность самих книг кодовых книг между собой. Структура кодовой книги алгоритма ACELP (с речевой скоростью 7,4 кбит/c) следующая: существует 4 базовых вектора. Различной линейной комбинацией этих векторов и образуются все вектора кодовой книги. Такая жесткая структуризация книги позволяет резко снизить требуемые вычислительные затраты на поиск в ней оптимального вектора.
Кодовые книги бывают детерминированными и стохастическими. Детерминированные книги образуется посредством процесса “обучения”, т.е. заполнения книги векторами, полученными из реальных речевых сигналов. Обучение проводится на достаточно большой длительности (30..40 мин) для нескольких дикторов, на мужских и женских голосах. В отличие от детерминированных, стохастические книги не требуют обучения. Они заполняются случайными гауссовскими последовательностями (отрезками белого шума с нулевым средним и единичной дисперсией). Основанием для использования такой книги в качестве возбуждающей является то, что в системах с линейным предсказанием с двумя предсказателями (кратковременным и долговременным) в сигнале остатка на выходе этих предсказателей практически устранены все корреляционные связи, он имеет случайный характер.
13. Речевые кодеки для абонентского терминала стандарта GSM
Кодер речи является первым элементом собственно цифрового участка передающего тракта, следующим после АЦП (рис.2.1). Основная задача кодера - предельно возможное сжатие сигнала речи, представленного в цифровой форме, - при сохранении приемлемого качества передачи речи. Компромисс между степенью сжатия и сохранением качества отыскивается экспериментально, а проблема получения высокой степени сжатия без чрезмерного снижения качества составляет основную трудность при разработке кодера. В приемном тракте перед ЦАП размещен декодер речи, задача которого - восстановление обычного цифрового сигнала речи, с присущей ему естественной избыточностью, по принятому кодированному сигналу.
В предыдущих лекциях было показано, что кодирование речи на самом деле представляет собой процесс сжатия данных, при котором вместо преобразованных отсчетов входного сигнала для передачи подбираются кодированные параметры модели источника речи, позволяющие приемнику генерировать речевой сигнал (РС), чрезвычайно похожий на исходный. В системе GSM определены три стандарта кодирования речи:
• кодирование речи с полной скоростью(GSM FR);
• кодирование речи с половинной скоростью(GSM HR);
• улучшенноекодирование речи с полной скоростью(GSM EFR).
Современные мобильные телефоны имеют речевые кодеры и декодеры, позволяющие применять любой из перечисленных стандартов.
Кодирование речи с полной скоростью. Этот тип кодирования речи использует модифицированный метод RPE-LTP - линейное предсказание с возбуждением регулярной последовательностью импульсов и долговременным предсказателем (см. раздел 12). Упрощенная блок-схема кодера представлена на рис.13.1.

Рис. 13.1. Блок-схема полноскоростного кодера речи в системе GSM(FR)
Основные требования к кодеру состоят в сокращении избыточности речевого сигнала и обеспечении в перерывах во время пауз передачи речи. Поэтому при передаче речи в системе GSM используется техника прерывистой передачи DTX, означающая, что каждый речевой канал активен не непрерывно.
Блок предварительной обработки кодера осуществляет предыскажение входного сигнала при помощи цифрового фильтра восприятия, подчеркивающего верхние частоты, нарезание сигнала на сегменты по 160 выборок (20 миллисекунд) и взвешивание каждого из сегментов окном Хэмминга. Сигнал с выхода фильтра предыскажений подвергается анализу в соответствии с методом линейного предсказания, в результате чего определяются коэффициенты кратковременного линейного предсказания(STP). Полученные параметры, представляющие собой восемь коэффициентов отражения STP -фильтра, преобразуются в логарифмические отношения площадей (LAR), которые могут быть представлены более компактно, нежели сами коэффициенты отражения. Значения LAR в цифровой форме представляются 36 битами.
Затем найденные коэффициенты кратковременного линейного предсказания используются в фильтре-анализаторе STP для обработки того же самого сегмента входных отсчетов. В результате получаются 160 отсчетов остатка кратковременного предсказания сигнала.
Для дальнейшей обработки 20-мс сегмент остатка кратковременного предсказания z(n) делится на четыре подсегмента длительностью 5 мс, по 40 выборок в каждом. Каждый подсегмент последовательно обрабатывается в блоках кодера по отдельности.
Перед обработкой каждого подсегмента речевой кодер определяет параметры фильтра долгосрочного предсказания(LTP) – (весовой) коэффициент предсказания g и задержку d. Операция выполняется на основе текущего подсегмента остатка STP -предсказания (см. сигнал 1 на рис.13.1) и сохраненной последовательности из трех восстановленных предшествующих подсегментов остатка кратковременного предсказания (см. сигнал 4 на рис.13.1). Подсегмент остатка сигнала (2), прошедшего LTP -фильтр, представляет собой разность между подсегментом приближенных значений прошедшего STP -фильтр остатка сигнала (3) и подсегментом точных STP -фильтрованных значений остатка этого сигнала (1). В результате получается субсегмент остатка долговременного предсказания. После отбрасывания последнего отсчета этот подсегмент направляется в блок-анализатор с возбуждением последовательностью регулярных импульсов(RPE). RPE -анализатор разделяет обрабатываемый подсегмент на три последовательности возбуждения, каждая из которых состоит из 13 импульсов. Для этого производится децимация отсчетов и выбор сигнальной сетки (интервал следования импульсов возбуждения обычно втрое превышает период дискретизации исходного сигнала). Затем вычисляется энергия трех прореженных последовательностей. Последовательность с самой большой энергией выбирается как представляющая весь блок прошедших LTP -фильтр остатков. Выбранные импульсы возбуждения нормируются по отношению к наибольшей амплитуде и кодируется. Сдвиг сетки также кодируется и вместе со значениями импульсов возбуждения передается на приемник. В результате представление каждого 5-мс подсегмента производится 47-битовым блоком.






