Индексы структурных сдвигов
Экономические индексы.
Средние индексы.
Экономические индексы
Динамические ряды



(9); 



;

.
(1),
(2),
(3),
(4),
(5),
(6),
(7),
(8),
(9)
(10),
(11),
(12),
(13).
(14),
(15),
(16),
(17),
(18),
(19),
(20),
(21),
(22),
(23),
(24),
(25),
(26),
(27) 
(28).
(29),
(30),
(31),
(32).
(33),
(34),
(35),
(36),
(37).
| Базисные | Цепные | |
; ; …
| ; ; …
| (1) |
; ; …
| ; ; …
| (2) |
; ; …
| ; ; …
| (3) |
; ; ; …
| ; ; ; …
| (4) |
; ; ; …
| ; ; ; …
| (5) |
; ; ; …
| ; ; ; …
| (6) |
(7);
(8);
(9);
(10);
(11);
(12);
(13); 
(14);
(15);
(16);
(17);

(18).
(19),
(20),
(21),
(22),
(23)
1.
(24), 2.
,
(25),
3.
,
(26).
основные понятия и определения
Всякое сооружение передает действующие на него нагрузки, включая его собственный вес, на основание. Основание – это напластование грунтов, воспринимающее давление от сооружения (рис. 1).

Рис.1. Схема фундамента с основанием
Различают основания естественны е, сложенные природными грунтами, и искусственно улучшенные – при искусственном улучшении свойств природных грунтов или частичной замене грунтов.
Располагать сооружение непосредственно на поверхности земли можно в относительно редких случаях. Этому обычно препятствуют следующие особенности верхних слоев грунта:
а) неспособность восприятия давления от сооружения (малая несущая способность);
б) возможность вертикального перемещения под воздействием метеорологических факторов (пучение при промерзании, просадка при оттаивании, набухание при увлажнении, усадка при высыхании);
в) возможность разрушения различными землероями, корнями растений и выветриванием.
Все это обусловливает необходимость устройства подземной конструкции, предназначаемой главным образом для передачи давления на грунты, лежащие на некоторой глубине. Эту конструкцию называют фундаментом.
Фундамент 1 (см. рис.1) чаще всего располагают ниже поверхности земли 2. Надземные конструкции 3 опираются на верхнюю плоскость фундамента – его обрез 4. Нижнюю плоскость фундамента называют его подошвой 5. В основании различают несущий слой грунта 6, на который передается давление от фундамента, и подстилающие слои 7.
Высота фундамента hф обычно несколько меньше глубины его заложения h, поскольку обрез фундамента располагают, как правило, ниже планировочной отметки поверхности земли около фундамента.
Грунтами называют горные породы коры выветривания литосферы. В геологии все горные породы, кроме скальных, называют рыхлыми горными породами. Именно эти породы в механике грунтов называют грунтами. Основной их особенностью является раздробленность (дисперсность). По СНиП различают грунты скальные, крупнообломочные, песчаные, глинистые и органогенные.

Структура грунта – обусловливает выделение его в отдельную группу. Свойства грунтов могут резко изменяться в зависимости от состояния.
Например:
Глина: – в текучем состоянии Р = 0,5 кг/см2 = 0,05 МПа;
– в твердом состоянии Р = 500 кг/см2 = 50 МПа.
Проектирование зданий в проектных институтах обычно осуществляется по типовым проектам, а фундаменты всегда проектируются, исходя из индивидуальных условий – это обусловливается природным залеганием грунтов.
Пизанская башня (построенная более 800 лет назад)
Р ср=5 кг/см2=50 т/м2=500 Н/м2=0,5МПа
В 1932 г. под основание башни было произведено нагнетание через 351 скважину 50 мм около 1000 т цементного раствора. Приращение наклона за последнее время 3,3 мм в год (1 мм в год). Только в 2002 г. отклонение башни было стабилизировано за счет выемки грунта из основания.
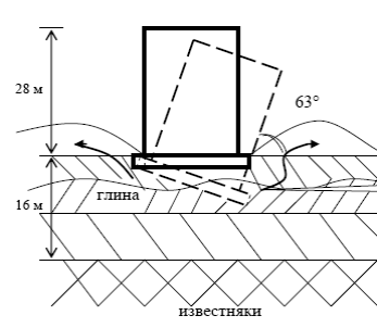
Трансконский элеватор (г. Виннипег, Канада 1913 г.)
После катастрофы незначи-
тельно деформируемое соору-
жение осталось стоять под уг-
лом около 63° к горизонту.
Впоследствии элеватор верну-
ли в прежнее положение с по-
мощью домкратов.

Погружение Венеции:


образование грунтов (генезис)
Свойства горных пород в большой степени зависят от условий и места их образования – от ГЕНЕЗИСА. Поэтому все горные породы делят, в зависимости от генезиса, на три типа:
· магматические (МГП), образовавшиеся при застывании магмы в глубине земной коры или лавы на её поверхности;
· осадочные (ОГП), образовавшиеся на земной поверхности вследствие осаждения материала выветривания пород в воздушной или водной среде;
· метаморфические (МетГП) – появившиеся в результате преобразования (метаморфизма) уже существующих горных пород.
;
;
…
;
…
;
;
…
;
…
;
;
…
;
…
;
;
; …
;
;
; …
;
;
; …
;
; …
;
;
; …
;
; …






