Выбросы i-го вещества одним автомобилемк-й группы в день при выезде с территории или помещения стоянки
и возврате
рассчитываются по формулам:
(2.1)
(2.2)
где
- удельный выброс i-го вещества при прогреве двигателя автомобиля к-й группы, г/мин;
- пробеговый выброс i-го вещества, автомобилем к-й группы при движении со скоростью 10-20 км/час, г/км;
- удельный выброс i-го вещества при работе двигателя автомобиля к-й группы на холостом ходу, г/мин;
tnp - время прогрева двигателя, мин;
L1, L2 - пробег автомобиля по территории стоянки, км:
- время работы двигателя на холостом ходу при выезде с территории стоянки и возврате на неё (мин).
Значения удельных выбросов загрязняющих веществ
,
, и
для различных типов автомобилей представлены в табл. 2.1
2.18.
В таблицах применяются следующие обозначения:
тип двигателя: Б - бензиновый, Д - дизель, Г1) - газовый (сжатый природный газ); при использовании сжиженного нефтяного газа удельные выбросы загрязняющих веществ равны выбросам при использовании бензина, выброс Рb отсутствует;
|
|
|
период года: Т - теплый, Х - холодный;
условия хранения
автомобилей: БП - открытая или закрытая не отапливаемая стоянка без средств подогрева; СП - открытая стоянка, оборудованная средствами подогрева. Для теплых закрытых стоянок удельные выбросы загрязняющих веществ в холодный и переходный период года принимаются равными удельным выбросам в теплый период.
1) При использовании на автотранспортных средствах двигателей, работающих по газодизельному циклу, удельные выбросы принимаются равными выбросам при работе на дизельном топливе.
При установке на автомобилях каталитических нейтрализаторов к данным удельных выбросов, приведённых в таблицах 2.4 - 2.6, 2.14 - 2.15, применяются понижающие коэффициенты, указанные в примечаниях к таблицам.
Введение понижающих коэффициентов к удельным выбросам, представленных в таблицах 2.1 - 2.3, 2.7 - 2.13 и 2.16 - 2.18, при использовании каталитических нейтрализаторов, а также в таблицах 2.1 - 2.18, при использовании любых других устройств, предназначенных для снижения выбросов загрязняющих веществ, может осуществляться только по согласованию с региональными органами Госкомэкологии. При этом обязательным условием является наличие официального заключения независимой экспертизы, подтверждающего эффективность применения этих устройств на соответствующих моделях автомобилей в условиях, характерных для движения по территории стоянок.
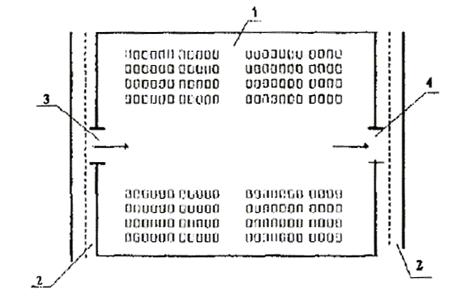
Расчетная схема 1.

Расчетная схема 2.

Рис. 1. Варианты размещения стоянок
1 - территория или помещение стоянки;
2 - дороги общего пользования;
3 - въезд с дороги общего пользования;
|
|
|
4 - выезд на дороги общего пользования;
5 - внутренние проезды;
6 - здания и сооружения, не предназначенные для стоянки автомобилей.
Таблица 2.1.
Удельные выбросы загрязняющих веществ при прогреве двигателей легковых автомобилей
Удельные выбросы загрязняющих веществ ( ), г/мин
| ||||||||||||||||||||
| СО | CH | NOX | SO2 | РЬ | ||||||||||||||||
| Рабочий объем | Тип | X | X | X | X | АИ-93 | А-92; А-76 | |||||||||||||
| двигателя, л | двигателя | Т | Т | Т | Т | Т | X | Т | X | |||||||||||
| БП | СП | БП | СП | БП | СП | БП | СП | БП | СП | БП | СП | |||||||||
| до 1,2 | Б | 2,6 | 5,1 | 3,4 | 0,26 | 0,40 | 0,32 | 0,02 | 0,03 | 0,02 | 0,008 | 0,010 | 0,009 | 0,005 | 0,006 | 0,005 | 0,003 | 0,003 | 0,003 | |
| свыше 1,2 до 1,8 | Б | 4,0 | 7,1 | 4,8 | 0,38 | 0,60 | 0,48 | 0,03 | 0,04 | 0,03 | 0,010 | 0,013 | 0,011 | 0,006 | 0,008 | 0,007 | 0,003 | 0,004 | 0,004 | |
| свыше 1,8 до 3,5 | Б | 5,0 | 9,1 | 6,2 | 0,65 | 1,00 | 0,80 | 0,05 | 0,07 | 0,05 | 0,013 | 0,016 | 0,014 | 0,007 | 0,009 | 0,008 | 0,003 | 0,004 | 0,004 | |
| свыше 3,5 | Б | 9,5 | 19,0 | 12,4 | 1,15 | 1,73 | 1,38 | 0,07 | 0,09 | 0,07 | 0,018 | 0,021 | 0,019 | 0,010 | 0,012 | 0,011 | 0,004 | 0,005 | 0,005 | |
Примечания: 1. В переходный период значения выбросов CO, CH, C, SO2 и Рb должны умножаться на коэффициент 0,9 от значений холодного периода. Выбросы NOX, равны выбросам в холодный период.
2. Удельные выбросы загрязняющих веществ при прогреве двигателей современных легковых автомобилей с улучшенными экологическими характеристиками принимаются по табл. 2.4. Здесь и далее под легковыми автомобилями с улучшенными экологическими характеристиками понимаются:
а) автомобили зарубежного производства (кроме стран СНГ), выпущенные после 01.01.1994 г.
б) автомобили производства стран СНГ, оснащенные двигателями с впрыском топлива.
в) автомобили зарубежных моделей, собираемые по лицензии на территории стран СНГ.
Таблица 2.2.
Пробеговые выбросы легковых автомобилей
Удельные выбросы загрязняющих веществ ( ), г/км
| |||||||||||||
| Рабочий | Тип | СО | СН | NOX | SO2 | Рb | |||||||
| объем | двигателя | АИ-93 | А-92; А-76 | ||||||||||
| двигателя, л | Т | X | Т | X | Т | X | Т | X | Т | X | Т | X | |
| до 1,2 | Б | 13,8 | 17,3 | 1,3 | 1,9 | 0,23 | 0,23 | 0,040 | 0,050 | 0,019 | 0,024 | 0,009 | 0,011 |
| свыше 1,2 до 1,8 | Б | 15,8 | 19,8 | 1,6 | 2,3 | 0,28 | 0,28 | 0,060 | 0,070 | 0,028 | 0,035 | 0,013 | 0,016 |
| свыше 1,8 до 3,5 | Б | 17,0 | 21,3 | 1,7 | 2,5 | 0,40 | 0,40 | 0,070 | 0,090 | 0,035 | 0,044 | 0,016 | 0,021 |
| свыше 3,5 | Б | 24,0 | 30,0 | 2,4 | 3,6 | 0,56 | 0,56 | 0,105 | 0,130 | 0,053 | 0,067 | 0,025 | 0,032 |
Примечания: 1. В переходный период значения выбросов CO, CH, C, S02 и Рb должны умножаться на коэффициент 0,9 от значений холодного периода. Выбросы NOX, равны выбросам в холодный период.
2. Пробеговые выбросы загрязняющих веществ для современных легковых автомобилей с улучшенными экологическими характеристиками принимаются по табл. 2.5.
Таблица 2.3.
Удельные выбросы загрязняющих веществ на холостом ходу легковыми автомобилями
Удельные выбросы загрязняющих веществ ( ), г/мин
| |||||||
| Рабочий | Тип | СО | СН | NOX | SO2 | Рb | |
| объем | двигателя | АИ-93 | А-92; А-76 | ||||
| двигателя, л | |||||||
| до 1,2 | Б | 2,5 | 0,20 | 0,02 | 0,008 | 0,005 | 0,002 |
| свыше 1,2 до 1,8 | Б | 3,5 | 0,30 | 0,03 | 0,010 | 0,006 | 0,003 |
| свыше 1.8 до 3,5 | Б | 4,5 | 0,40 | 0,05 | 0,012 | 0,007 | 0,003 |
| свыше 3,5 | Б | 7,0 | 0,80 | 0,08 | 0,016 | 0,009 | 0,005 |
Примечание: Удельные выбросы загрязняющих веществ на холостом ходу современными легковыми автомобилями с улучшенными экологическими характеристиками принимаются по табл. 2.5.
Таблица 2.4.
Удельные выбросы загрязняющих веществ при прогреве двигателей современных легковых автомобилей с улучшенными экологическими характеристиками
Удельные выбросы загрязняющих веществ ( ), г/мин
| |||||||||||||||||||||||
| Рабочий, | Тип | СО | СН | NOх | С | SO2 | Рb | ||||||||||||||||
| объем | двигате- | Т | X | Т | X | Т | X | Т | X | Т | X | АИ-93 | А-92; А-76 | ||||||||||
| двигателя, | ля | Т | X | Т | X | ||||||||||||||||||
| л | БП | СП | БП | СП | БП | СП | БП | СП | БП | СП | БП | СП | БП | СП | |||||||||
| до 1,2 | Б | 2,3 1,2 | 4,5 2,4 | 2,9 1,6 | 0,18 0,08 | 0,27 0,12 | 0,22 0,10 | 0,01 0,01 | 0,02 0,02 | 0,01 0,01 | - | - | - | 0,008 0,007 | 0,009 0,008 | 0,008 0,007 | 0,004 0,004 | 0,005 0,005 | 0,005 0,005 | 0,002 0,002 | 0,003 0,003 | 0,003 0,003 | |
| Д | 0,14 | 0,21 | 0,17 | 0,06 | 0,07 | 0,06 | 0,06 | 0,09 | 0,07 | 0,002 | 0,004 | 0,003 | 0,032 | 0,038 | 0,034 | - | - | - | - | - | - | ||
| свыше 1,2 до 1,8 | Б | 3,0 1,7 | 6,0 3,4 | 3,9 2,2 | 0,31 0,14 | 0,47 0,21 | 0,38 0,17 | 0,02 0,02 | 0,03 0,03 | 0,02 0,02 | - | - | - | 0,010 0,009 | 0,012 0,010 | 0,011 0,009 | 0,006 0,005 | 0,007 0,006 | 0,006 0,005 | 0,002 0,002 | 0,003 0,003 | 0,003 0,003 | |
| Д | 0,19 | 0,29 | 0,23 | 0,08 | 0,10 | 0,09 | 0,08 | 0,12 | 0,09 | 0,003 | 0,006 | 0,004 | 0,040 | 0,048 | 0,043 | - | - | - | - | - | - | ||
| свыше 1,8 до 3,5 | Б | 4,5 2,9 | 8,8 5,7 | 5,7 3,7 | 0,44 0,18 | 0,66 0,27 | 0,53 0,22 | 0,03 0,03 | 0,04 0,04 | 0,03 0,03 | - | - | - | 0,012 0,011 | 0,014 0,013 | 0,013 0,012 | 0,007 0,006 | 0,009 0,008 | 0,008 0,007 | 0,003 0,003 | 0,004 0,004 | 0,004 0,004 | |
| Д | 0,35 | 0,53 | 0,42 | 0,14 | 0,17 | 0,15 | 0,13 | 0,20 | 0,16 | 0,005 | 0,010 | 0,007 | 0,048 | 0,058 | 0,052 | - | - | - | - | - | - | ||
| свыше 3,5 | Б | 9,0 4,8 | 18,0 9,6 | 11,7 6,3 | 0,88 0,39 | 1,30 0,58 | 1,04 0,46 | 0,05 0,05 | 0,06 0,06 | 0,05 0,05 | - | - | - | 0,016 0,014 | 0,019 0,017 | 0,017 0,015 | 0,009 0,008 | 0,011 0,010 | 0,010 0,009 | 0,004 0,004 | 0,005 0,005 | 0,005 0,005 | |
| Д | 0,60 | 0,75 | 0,49 | 0,24 | 0,29 | 0,26 | 0,23 | 0,35 | 0,28 | 0,009 | 0,018 | 0,012 | 0,065 | 0,078 | 0,070 | - | - | - | - | - | - | ||
Примечания: 1. В числителе приведены данные для автомобилей, оснащенных двигателями с карбюраторами, в знаменателе с впрыском топлива.
|
|
|
2. В переходный период значения выбросов СО, СН, С, SO2 и Рb должны умножаться на коэффициент 0,9 от значений холодного периода года. Выбросы NOX, принимаются равными выбросам в холодный период.
3. Для автомобилей, оборудованных сертифицированными каталитическими нейтрализаторами и работающих на неэтилированном бензине, значения выбросов в таблице должны умножаться на коэффициенты:
для СО - на 0,7, СН и NOX - на 0,8 при установке 3-х компонентных нейтрализаторов,
для СО - на 0,7, СН - на 0,8 при установке2-х компонентных нейтрализаторов с дополнительной подачей воздуха (окислительного типа).
Тип каталитического нейтрализатора определяется по техническому паспорту на нейтрализатор или инструкции по эксплуатации автомобиля.
Таблица 2.5.
|
|
|
Пробеговые выбросы современных легковых автомобилей,
с улучшенными экологическими характеристиками
| Рабочий | Удельные выбросы загрязняющих веществ ( ), г/км
| ||||||||||||||
| объем | Тип | СО | СН | NOX | С | SO2 | Pb | ||||||||
| двигателя, | двигателя | АИ-93 | А-92; А-76 | ||||||||||||
| л | Т | X | Т | X | Т | X | Т | X | Т | X | Т | X | Т | X | |
| до 1,2 | Б | 7,5 5,3 | 9,3 6,6 | 1,0 0,8 | 1,5 1,2 | 0,14 0,14 | 0,14 0,14 | - | - | 0,036 0,032 | 0,045 0,041 | 0,017 0,015 | 0,021 0,019 | 0,008 0,007 | 0,010 0,009 |
| Д | 0,8 | 0,9 | 0,1 | 0,2 | 0,80 | 0,80 | 0,04 | 0,06 | 0,143 | 0,178 | - | - | - | - | |
| свыше 1,2 до 1,8 | Б | 9,4 6,6 | 11,8 8,3 | 1,2 1,0 | 1,8 1,5 | 0,17 0,17 | 0,17 0,17 | - | - | 0,054 0,049 | 0,068 0,061 | 0,025 0,022 | 0,031 0,028 | 0,012 0,010 | 0,015 0,013 |
| Д | 1,0 | 1,2 | 0,2 | 0,3 | 1,10 | 1,10 | 0,06 | 0,09 | 0,214 | 0,268 | - | - | - | - | |
| свыше 1,8 до 3,5 | Б | 13,2 9,3 | 16,5 11,7 | 1,7 1,4 | 2,5 2,1 | 0,24 0,24 | 0,24 0,24 | - | - | 0,063 0,057 | 0,079 0,071 | 0,032 0,028 | 0,040 0,036 | 0,015 0,013 | 0,019 0,017 |
| Д | 1,8 | 2,2 | 0,4 | 0,5 | 1,90 | 1,90 | 0,10 | 0,15 | 0,250 | 0,313 | - | - | - | - | |
| свыше 3,5 | Б | 18,8 13,3 | 23,5 16,6 | 2,4 2,0 | 3,6 3,0 | 0,34 0,34 | 0,34 0,34 | - | - | 0,097 0,087 | 0,121 0,109 | 0,049 0,044 | 0,061 0,055 | 0,023 0,020 | 0,029 0,025 |
| Д | 3,1 | 3,7 | 0,7 | 0,8 | 2,40 | 2,40 | 0,15 | 0,23 | 0,350 | 0,481 | - | - | - | - |
Примечания: 1. В числителе приведены данные для автомобилей, оснащенных двигателями с карбюраторами, в знаменателе - с системой впрыска топлива.
2. В переходный период значения выбросов CO, CH, C, SO2 и Pb должны умножаться на коэффициент 0,9 от значений холодного периода. Выбросы NOX, равны выбросам в холодный период.
3. Для автомобилей, оборудованных сертифицированными каталитическими нейтрализаторами и работающих на неэтилированном бензине, значения выбросов должны умножаться на коэффициенты:
для СО - на 0,2, СН и NOX - на 0,3 при установке 3-х компонентных нейтрализаторов;
для СО - на 0,2, СН - на 0,3 при установке 2-х компонентных нейтрализаторов с дополнительной подачей воздуха (окислительного типа)
Тип каталитического нейтрализатора определяется по техническому паспорту на нейтрализатор или инструкции по эксплуатации автомобиля
Таблица 2.6.
Удельные выбросы загрязняющих веществ на холостом ходу современными легковыми автомобилями с улучшенными экологическими характеристиками
| Рабочий | Тип | Удельные выбросы загрязняющих веществ ( ), г/мин
| ||||||
| объем | двигателя | СО | СН | NOX | С | SO2 | Рb | |
| двигателя, л | АИ-93 | А-92; А-76 | ||||||
| до 1,2 | Б | 1,5 0,8 | 0,15 0,07 | 0,01 0,01 | - | 0,007 0,006 | 0,004 0,004 | 0,002 0,002 |
| Д | 0,1 | 0,04 | 0,05 | 0,002 | 0,032 | - | - | |
| свыше 1,2 до 1,8 | Б | 2,0 1,1 | 0,25 0,11 | 0,02 0,02 | - | 0,009 0,008 | 0,005 0,004 | 0,002 0,002 |
| Д | 0,1 | 0,06 | 0,07 | 0,003 | 0,040 | - | - | |
| свыше 1,8 до 3,5 | Б | 3,5 1,9 | 0,35 0,15 | 0,03 0,03 | - | 0,011 0,010 | 0,006 0,005 | 0,003 0,003 |
| Д | 0,2 | 0,10 | 0,12 | 0,005 | 0,048 | - | - | |
| свыше 3,5 | Б | 6,0 3,2 | 0,70 0,31 | 0,05 0,05 | - | 0,015 0,013 | 0,008 0,007 | 0,004 0,004 |
| Д | 0,4 | 0,17 | 0,21 | 0,008 | 0,065 | - | - |
Примечания: 1 В числителе приведены данные для автомобилей, оснащенных двигателями с карбюраторами, в знаменателе - с впрыском топлива.
2. Для автомобилей, оборудованных сертифицированными каталитическими нейтрализаторами и работающих на неэтилированном бензине, значения выбросов должны умножаться на коэффициенты:
для СО - на 0,2, СН и NOX - на 0,3 при установке 3-х компонентных нейтрализаторов;
для СО - на 0,2, СН на 0,3 при установке2-х компонентных нейтрализаторов с дополнительной подачей воздуха (окислительного типа).
Тип каталитического нейтрализатора определяется по техническому паспорту нейтрализатора или инструкции по эксплуатации на автомобиль.
Таблица 2.7.
Удельные выбросы загрязняющих веществ при прогреве двигателей грузовых автомобилей, произведенных в странах СНГ
Удельные выбросы загрязняющих веществ ( ), г/мин
| |||||||||||||||||||||||
| Грузоподъ- | Тип | СО | СН | NOX | С | SO2 | Рb | ||||||||||||||||
| емность, т | двигателя | Т | X | Т | X | Т | X | Т | X | Т | X | АИ-93 | А-92; А-76 | ||||||||||
| Т | X | Т | X | ||||||||||||||||||||
| БП | СП | БП | СП | БП | СП | БП | СП | БП | СП | БП | СП | БП | СП | ||||||||||
| Б | 5,0 | 9,1 | 6,2 | 0,65 | 1,00 | 0,80 | 0,05 | 0,07 | 0,05 | - | - | - | 0,013 | 0,016 | 0,014 | 0,007 | 0,009 | 0,008 | 0,003 | 0,004 | 0,004 | ||
| Д | 1,5 | 2,4 | 1,9 | 0,20 | 0,50 | 0,30 | 0,40 | 0,60 | 0,40 | 0,01 | 0,040 | 0,026 | 0,054 | 0,065 | 0,059 | - | - | - | - | - | - | ||
| свыше 2 до 5 | Б | 15,0 | 28,1 | 18,3 | 1,50 | 3,80 | 2,50 | 0,20 | 0,30 | 0,20 | - | - | - | 0,020 | 0,025 | 0,022 | - | - | - | 0,005 | 0,006 | 0,005 | |
| Г | 7,6 | 14,3 | 9,3 | 0,89 | 2,20 | 1,50 | 0,20 | 0,30 | 0,20 | - | - | - | 0,018 | 0,023 | 0,020 | - | - | - | - | - | - | ||
| Д | 1,9 | 3,1 | 2,5 | 0,30 | 0,60 | 0,40 | 0,50 | 0,70 | 0,50 | 0,02 | 0,080 | 0,040 | 0,072 | 0,086 | 0,077 | - | - | - | - | - | - | ||
| свыше 5 до 8 | Б | 18,0 | 33,2 | 19,5 | 2,60 | 6,60 | 4,10 | 0,20 | 0,30 | 0,20 | - | - | - | 0,028 | 0,036 | 0,032 | - | - | - | 0,006 | 0,008 | 0,007 | |
| Г | 9,2 | 16,9 | 10,0 | 1,53 | 3,90 | 2,40 | 0,20 | 0,30 | 0,20 | - | - | - | 0,026 | 0,033 | 0,029 | - | - | - | - | - | - | ||
| Д | 2,8 | 4,4 | 3,6 | 0,38 | 0,80 | 0,50 | 0,60 | 0,80 | 0,60 | 0,03 | 0,120 | 0,060 | 0,090 | 0,108 | 0,097 | - | - | - | - | - | - | ||
| свыше | Б | 18,0 | 33,2 | 19,5 | 2,60 | 6,60 | 4,10 | 0,20 | 0,30 | 0,20 | - | - | - | 0,028 | 0,036 | 0,032 | - | - | - | 0,006 | 0,008 | 0,007 | |
| 8 до 16 | Д | 3,0 | 8,2 | 5,3 | 0,40 | 1,10 | 0,70 | 1,00 | 2,00 | 1,00 | 0,04 | 0,080 | 0,113 | 0,136 | 0,122 | - | - | - | - | - | - | ||
| свыше 16 | Д | 3,0 | 8,2 | 5,3 | 0,40 | 1,10 | 0,70 | 1,00 | 2,00 | 1,00 | 0,04 | 0,160 | 0,080 | 0,113 | 0,136 | 0,122 | - | - | - | - | - | - |
Примечания: 1. В переходный период значения выбросов CO, CH, C, SО2 и Рb должны умножаться на коэффициент 0,9 от значений холодного периода. Выбросы NOX, равны выбросам в холодный период.
2. При комплектации автомобилей дизелями, удовлетворяющими требованиям Правил ЕЭК ООН №49-02A и 49-02В (ЕВРО-1 и ЕВРО-2) по токсичности, значения выбросов загрязняющих веществ принимаются по таблице 2.10.
Таблица 2.8
Пробеговые выбросы загрязняющих веществ грузовыми автомобилями, произведенными в странах СНГ
| Грузоподъемность, т | Тип двигателя | Удельные выбросы загрязняющих веществ ( ), г/км
| |||||||||||||
| СО | СН | NOX | С | SO2 | Pb | ||||||||||
| АИ-93 | А-92; А-76 | ||||||||||||||
| Т | X | Т | X | Т | X | Т | X | т | X | Т | X | Т | X | ||
| до 2 | Б | 22,7 | 28,5 | 2,8 | 3,5 | 0,6 | 0,6 | - | - | 0,09 | 0,11 | 0,044 | 0,054 | 0,021 | 0,026 |
| Д | 2,3 | 2,8 | 0,6 | 0,7 | 2,2 | 2,2 | 0,15 | 0,20 | 0,33 | 0,41 | - | - | - | - | |
| свыше 2 до 5 | Б | 29,7 | 37,3 | 5,5 | 6,9 | 0,8 | 0,8 | - | - | 0,15 | 0,19 | - | - | 0,035 | 0,043 |
| Г | 15,2 | 19,0 | 3,3 | 4,1 | 0,8 | 0,8 | - | - | 0,14 | 0,17 | - | - | - | - | |
| Д | 3,5 | 4,3 | 0,7 | 0,8 | 2,6 | 2,6 | 0,20 | 0,30 | 0,39 | 0,49 | - | - | - | - | |
| свыше 5 до 8 | Б | 47,4 | 59,3 | 8,7 | 10,3 | 1,0 | 1,0 | - | - | 0,18 | 0,22 | - | - | 0,044 | 0,054 |
| Г | 24,2 | 30,2 | 5,1 | 6,1 | 1,0 | 1,0 | - | - | 0,16 | 0,20 | - | - | - | - | |
| Д | 5,1 | 6,2 | 0,9 | 1,1 | 3,5 | 3,5 | 0,25 | 0,35 | 0,45 | 0,56 | - | - | - | - | |
| свыше 8 до 16 | Б | 79,0 | 98,8 | 10,2 | 12,4 | 1,8 | 1,8 | - | - | 0,24 | 0,28 | - | - | 0,059 | 0,069 |
| Д | 6,1 | 7,4 | 1,0 | 1,2 | 4,0 | 4,0 | 0,30 | 0,40 | 0,54 | 0,67 | - | - | - | - | |
| свыше 16 | Д | 7,5 | 9,3 | 1,1 | 1,3 | 4,5 | 4,5 | 0,40 | 0,50 | 0,78 | 0,97 | - | - | - | - |
Примечания: 1. В переходный период значения выбросов CO, CH, C, S02 и Рb должны умножаться на коэффициент 0,9 от значений холодного периода. Выбросы NOX, равны выбросам в холодный период.
2. При комплектации автомобилей дизелями, удовлетворяющими требованиям Правил ЕЭК ООН №49-02A и 49-02В (ЕВРО-1 и ЕВРО-2) по токсичности, значения выбросов загрязняющих веществ принимаются по таблице 2.11.
3. Для грузовых автомобилей, оборудованных сертифицированными 2-х компонентными нейтрализаторами с дополнительной подачей воздуха (окислительного типа) и работающих на неэтилированном бензине значения выбросов СО должны умножаться на коэффициент 0,2, СН - 0,3.
Таблица 2.9.
Удельные выбросы загрязняющих веществ на холостом ходу грузовыми автомобилями, произведенными в странах СНГ
| Грузоподъемность,т | Тип двигателя | Удельные выбросы загрязняющих веществ ( ), г/мин
| ||||||
| СО | СН | NOX | С | SO2 | Рb | |||
| АИ-93 | А-92; А-76 | |||||||
| до 2 | Б | 4,5 | 0,40 | 0,05 | 0,012 | 0,007 | 0,003 | |
| Д | 0,8 | 0,20 | 0,16 | 0,015 | 0,054 | - | - | |
| свыше 2 до 5 | Б | 10,2 | 1,70 | 0,20 | - | 0,020 | - | 0,005 |
| Г | 5,2 | 1,00 | 0,20 | - | 0,018 | - | - | |
| Д | 1,5 | 0,25 | 0,50 | 0,020 | 0,072 | - | - | |
| свыше 5 до 8 | Б | 13,5 | 2,20 | 0.20 | - | 0,029 | - | 0,006 |
| Г | 6,9 | 1,30 | 0,20 | - | 0,026 | - | - | |
| Д | 2,8 | 0,35 | 0,60 | 0,030 | 0,090 | - | - | |
| свыше 8 до 16 | Б | 13,5 | 2,90 | 0,20 | - | 0,029 | - | 0,006 |
| Д | 2,9 | 0,45 | 1,00 | 0,040 | 0,100 | - | - | |
| свыше 6 | Д | 2,9 | 0,45 | 1,00 | 0,040 | 0,100 | - | - |
Примечания: 1. При комплектации автомобилей дизелями, удовлетворяющими требованиям Правил ЕЭК ООН №49-02A и 49-02В (ЕВРО-1 и ЕВРО-2) по токсичности, значения выбросов загрязняющих веществ принимаются по таблице 2.12.
2. Для грузовых автомобилей, оборудованных сертифицированными 2-х компонентными нейтрализаторами с дополнительной подачей воздуха (окислительного типа) и работающих на неэтилированном бензине значения выбросов СО должны умножаться на коэффициент 0,2, СН - 0,3.
Таблица 2.10.
Удельные выбросы загрязняющих веществ при прогреве двигателей иностранных грузовых автомобилей выпуска после 01.01.94 г.
Удельные выбросы загрязняющих веществ ( ), г/мин
| ||||||||||||||||||||||||||
| Грузоподъемность, | Тип | СО | СН | NOX | С | SO2 | Рb | |||||||||||||||||||
| т | двигателя | Т | X | Т | X | Т | X | Т | X | Т | X | АИ-93 | А-92; А-76 | |||||||||||||
| Т | X | Т | X | |||||||||||||||||||||||
| БП | СП | БП | СП | БП | СП | БП | СП | БП | СП | БП | СП | БП | СП | |||||||||||||
| Б | 4,5 | 8,8 | 5,7 | 0,44 | 0,66 | 0,53 | 0,03 | 0,04 | 0,03 | - | - | - | 0,012 | 0,014 | 0,013 | 0,007 | 0,009 | 0,008 | 0,003 | 0,004 | 0,004 | |||||
| до 2 | 2,9 | 5,7 | 3,7 | 0,16 | 0,24 | 0,21 | 0,03 | 0,04 | 0,03 | 0,011 | 0,013 | 0,012 | 0,006 | 0,008 | 0,007 | 0,003 | 0,004 | 0,004 | ||||||||
| Д | 0,35 | 0,53 | 0,42 | 0,14 | 0,17 | 0,15 | 0,13 | 0,20 | 0,16 | 0,005 | 0,010 | 0,007 | 0,048 | 0,058 | 0,052 | - | - | - | - | - | - | |||||
| свыше 2 до 5 | Д | 0,58 | 0,87 | 0,70 | 0,25 | 0,30 | 0,27 | 0,22 | 0,33 | 0,26 | 0,008 | 0,016 | 0,011 | 0,065 | 0,078 | 0,070 | - | - | - | - | - | - | ||||
| свыше 5 до 8 | Д | 0,86 | 1,29 | 1,03 | 0,38 | 0,46 | 0,41 | 0,32 | 0,48 | 0,38 | 0,012 | 0,024 | 0,016 | 0,081 | 0,097 | 0,087 | - | - | - | - | - | - | ||||
| свыше 8 до 18 | Д | 1,34 | 2,00 | 1,60 | 0,59 | 0,71 | 0,64 | 0,51 | 0,77 | 0,62 | 0,019 | 0,038 | 0,025 | 0,100 | 0,120 | 0,108 | - | - | - | - | - | - | ||||
| свыше 18 | Д | 1,65 | 2,50 | 2,00 | 0,80 | 0,96 | 0,86 | 0,62 | 0,93 | 0,74 | 0,023 | 0,046 | 0,030 | 0,112 | 0,134 | 0,121 | - | - | - | - | - | - | ||||
Примечания: 1. В числителе приведены данные для автомобилей, оснащенных двигателями с карбюраторами, в знаменателе - с впрыском топлива.
2. В переходный период значения выбросов CO, CH, C, SО2 и Рb должны умножаться на коэффициент 0,9 от значений холодного периода. Выбросы NOX, равны выбросам в холодный период.
Таблица 2.11
Пробеговые выбросы загрязняющих веществ иностранными грузовыми автомобилями выпуска после 01.01.94г.
| Грузоподъемность, т | Тип двигателя | Удельные выбросы загрязняющих веществ ( ), г/км
| |||||||||||||
| СО | СН | NOX | С | SO2 | Рb | ||||||||||
| АИ-93 | А-92; А-76 | ||||||||||||||
| Т | X | Т | X | Т | X | Т | X | Т | X | Т | X | Т | X | ||
| до 2 | Б | 15,8 11,2 | 19,8 14,0 | 2,0 1,7 | 2,9 2,5 | 0,3 0,3 | 0,3 0,3 | - | - | 0,080 0,070 | 0,100 0,090 | 0,038 | 0,047 0,043 | 0,018 | 0,022 0,020 |
| 0,034 | 0,016 | ||||||||||||||
| Д | 1,8 | 2,2 | 0,4 | 0,5 | 1,9 | 1,9 | 0,10 | 0,15 | 0,250 | 0,313 | - | - | - | - | |
| свыше 2 до 5 | Д | 2,9 | 3,5 | 0,5 | 0,6 | 2,2 | 2,2 | 0,13 | 0,20 | 0,340 | 0,430 | - | - | - | - |
| свыше 5 до 8 | Д | 4,1 | 4,9 | 0,6 | 0,7 | 3,0 | 3,0 | 0,15 | 0,23 | 0,400 | 0,500 | - | - | - | - |
| свыше 8 до 16 | Д | 4,9 | 5,9 | 0,7 | 0,8 | 3,4 | 3,4 | 0,20 | 0,30 | 0,475 | 0,590 | - | - | - | - |
| свыше 16 | Д | 6,0 | 7,2 | 0,8 | 1,0 | 3,9 | 3,9 | 0,30 | 0,45 | 0,690 | 0,860 | - | - | - | - |
Примечания: 1. В числителе приведены данные для автомобилей, оснащенных двигателями с карбюраторами, в знаменателе - с впрыском топлива.
2. В переходный период значения выбросов CO, CH, C, SО2 и Рb должны умножаться на коэффициент 0,9 от значений холодного периода. Выбросы NOX, равны выбросам в холодный период.
3. Для грузовых автомобилей, оборудованных штатными каталитическими нейтрализаторами и работающих на неэтилированном бензине, значения выбросов должны умножаться на коэффициенты:
для СО - на 0,2, СН и NOX - на 0,3 при установке 3-х компонентных нейтрализаторов;
для СО - на 0,2, СН на 0,3 при установке2-х компонентных нейтрализаторов с дополнительной подачей воздуха (окислительного типа).
Тип каталитического нейтрализатора определяется по техническому паспорту нейтрализатора или инструкции по эксплуатации на автомобиль.
Таблица 2.12
Удельные выбросы загрязняющих веществ на холостом ходу иностранными грузовыми автомобилями выпуска после 01.0l.94r.
| Тип | Удельные выбросы загрязняющих веществ ( ), г/мин
| |||||||
| Грузоподъемность, | двигателя | СО | СН | NOX | С | SO2 | Рb | |
| т | АИ-93 | А-92; А-76 | ||||||
| Б | 3,5 | 0,35 | 0,03 | - | 0,011 | 0,006 | 0,003 | |
| до 2 | 1,9 | 0,15 | 0,03 | 0,010 | 0,005 | 0,003 | ||
| Д | 0,22 | 0,11 | 0,12 | 0,005 | 0,048 | - | - | |
| свыше 2 до 5 | Д | 0,36 | 0,18 | 0,20 | 0,008 | 0,065 | . | |
| свыше 5 до 8 | Д | 0,54 | 0,27 | 0,29 | 0,012 | 0,081 | - | - |
| свыше 8 до 16 | Д | 0,84 | 0,42 | 0,46 | 0,019 | 0,100 | - | . |
| свыше 16 | Д | 1,03 | 0,57 | 0,56 | 0,023 | 0,112 | - | - |
Примечания: 1. В числителе приведены данные для автомобилей, оснащенных двигателями с карбюраторами, в знаменателе - с впрыском топлива.
2. Для грузовых автомобилей, оборудованных штатными каталитическими нейтрализаторами и работающих на неэтилированном бензине, значения выбросов должны умножаться на коэффициенты:
для СО - на 0,2, СН и NOX - на 0,3 при установке 3-х компонентных нейтрализаторов;
для СО - на 0,2, СН - на 0,3 при установке2-х компонентных нейтрализаторов с дополнительной подачей воздуха (окислительного типа).
Тип каталитического нейтрализатора определяется по техническому паспорту нейтрализатора или инструкции по эксплуатации на автомобиль.
Таблица 2 13
Удельные выбросы загрязняющих веществ при прогреве двигателей автобусов, произведенных в странах СНГ
| Класс | Тип | Удельные выбросы загрязняющих веществ ( ), г/мин
| |||||||||||
| автобуса | дви- | СО | СН | NOX | С | ||||||||
| (габаритная | гате- | Т | X | Т | X | Т | X | Т | X | ||||
| длина, м) | ля | БП | СП | БП | СП | БП | СП | БП | СП | ||||
| Особо малый | Б | 5,0 | 9,1 | 6,2 | 0,65 | 1,00 | 0,80 | 0,05 | 0,07 | 0,05 | - | - | - |
| (до 5,5) | Д | 1,5 | 2,4 | 1,9 | 0,20 | 0,50 | 0,30 | 0,40 | 0,60 | 0,40 | 0,010 | 0,040 | 0,026 |
| Малый | Б | 15,0 | 28,1 | 18,3 | 1,50 | 3,80 | 2,50 | 0,20 | 0,30 | 0,20 | - | - | - |
| (6,0-7,5) | Д | 1,9 | 3,1 | 2,5 | 0,30 | 0,60 | 0,40 | 0,50 | 0,70 | 0,50 | 0,020 | 0,080 | 0,040 |
| Средний | Б | 18,0 | 33,2 | 19,5 | 2,60 | 6,60 | 4,10 | 0,20 | 0,30 | 0,20 | - | - | - |
| (8,0-10,0) | Д | 2,8 | 4,4 | 3,6 | 0,40 | 0,80 | 0,50 | 0,60 | 0,80 | 0,60 | 0,030 | 0,120 | 0,068 |
| Большой | Б | 22,8 | 42,0 | 24,8 | 3,10 | 7,70 | 5,00 | 0,20 | 0,30 | 0,20 | - | - | - |
| (10,5-12,0) | Д | 4,6 | 8,2 | 5,3 | 0,45 | 1,10 | 0,70 | 1,00 | 2,00 | 1,00 | 0,040 | 0,160 | 0,080 |
| Особо большой (сочлененный 16,5-24,0) | Д | 4,6 | 8,2 | 5,3 | 0,45 | 1,10 | 0,70 | 1,00 | 2,00 | 1,00 | 0,040 | 0,160 | 0,080 |
Продолжение таблицы 2 13
| Класс автобуса (габаритная длина, м) | Тип двигателя | Удельные выбросы загрязняющих веществ ( ), г/мин
| |||||||||
| SO2 | Pb | ||||||||||
| Т | X | АИ-93 | А-92; А-76 | ||||||||
| Т | X | Т | X | ||||||||
| БП | СП | БП | СП | БП | СП | ||||||
| Особо малый (до 5,5) | Б | 0,013 | 0,016 | 0,014 | 0,007 | 0,009 | 0,008 | 0,003 | 0,004 | 0,004 | |
| Д | 0,054 | 0,065 | 0,059 | - | - | - | - | - | - | ||
| Малый (6,0-7,5) | Б | 0,020 | 0,025 | 0,022 | - | - | - | 0,005 | 0,006 | 0,005 | |
| Д | 0,072 | 0,086 | 0,077 | - | - | - | - | - | - | ||
| Средний (8,0-10,0) | Б | 0,028 | 0,036 | 0,032 | - | - | - | 0,005 | 0,008 | 0,007 | |
| Д | 0,090 | 0,108 | 0,097 | - | - | - | - | - | - | ||
| Большое (10,5 12,0) | Б | 0,033 | 0,043 | 0,039 | - | - | - | 0,006 | 0,009 | 0,008 | |
| Д | 0,113 | 0,136 | 0,122 | - | - | - | - | - | - | ||
| Особо большой (сочлененный 16,5-24,0) | Д | 0,113 | 0,136 | 0,122 | - | - | - | - | - | - | |
Примечания: 1. В переходный период значения выбросов CO, CH, C, SО2 и РЬ должны умножаться на коэффициент 0,9 от значений холодного периода. Выбросы NOX, равны выбросам в холодный период.
2. При комплектации автобусов дизелями, удовлетворяющими требованиям Правил ЕЭК ООН №49-02A и 49-02В (ЕВРО-1 и ЕВРО-2) по токсичности, значения выбросов загрязняющих веществ принимаются по таблице 2.16.
Таблица 2.14
Пробеговые выбросы загрязняющих веществ автобусами, произведенными в странах СНГ
| Класс | Удельные выбросы загрязняющих веществ ( ), г/км
| ||||||||||||||
| автобуса | Тип | СО | СН | NOX | С | SO2 | Рb | ||||||||
| (габаритная | двигателя | АИ-93 | А-92; А-76 | ||||||||||||
| длина, м) | Т | X | Т | X | Т | X | Т | X | Т | X | Т | X | Т | X | |
| Особо малый (до 5,5) | Б | 22,7 | 28,5 | 2,8 | 3,5 | 0,6 | 0,6 | - | - | 0,09 | 0,11 | 0,040 | 0,054 | 0,021 | 0,026 |
| Д | 2,3 | 2,8 | 0,6 | 0,7 | 2,2 | 2,2 | 0,15 | 0,20 | 0,33 | 0,41 | - | - | - | - | |
| Малый (6,0-7,5) | Б | 29,7 | 37,3 | 5,5 | 6,9 | 0,8 | 0,8 | - | - | 0,15 | 0,19 | - | - | 0,035 | 0,043 |
| Д | 3,5 | 4,3 | 0,7 | 0,8 | 2,6 | 2,6 | 0,20 | 0,30 | 0,39 | 0,49 | - | - | - | - | |
| Средний (8,0-10,0) | Б | 47,4 | 59,3 | 8,7 | 10,3 | 1,0 | 1,0 | - | - | 0,18 | 0,22 | - | - | 0,044 | 0,054 |
| Д | 5,1 | 6,2 | 0,9 | 1,1 | 3,5 | 3,5 | 0,20 | 0,30 | 0,45 | 0,56 | - | - | - | - | |
| Большой (10,5-12,0) | Б | 55,3 | 68,8 | 9,9 | 11,9 | 1,2 | 1,2 | - | - | 0,22 | 0,26 | - | - | 0,053 | 0,065 |
| Д | 5,1 | 6,2 | 0,9 | 1,1 | 3,5 | 3,5 | 0,25 | 0,35 | 0,45 | 0,56 | - | - | - | - | |
| Особо большой (сочлененный, 16,5-24,0) | Д | 7,5 | 9,3 | 1,1 | 1,3 | 4,5 | 4,5 | 0,30 | 0,40 | 0,78 | 0,97 | - | - | - | - |
|
|
), г/мин






