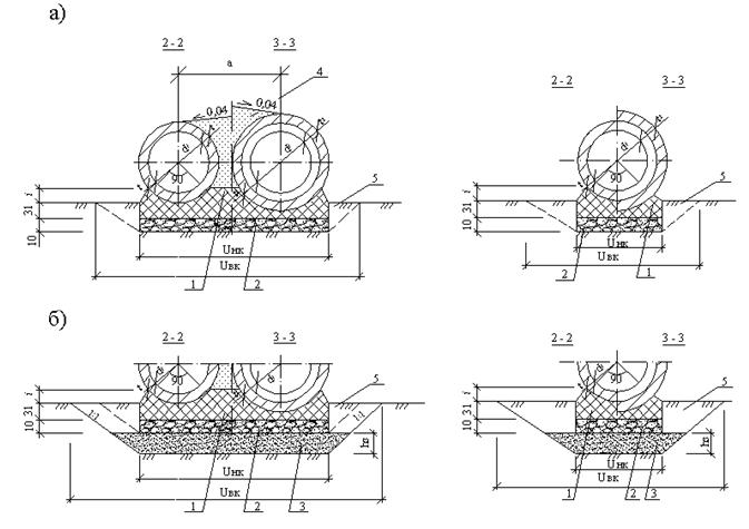
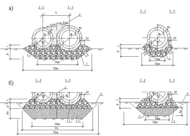
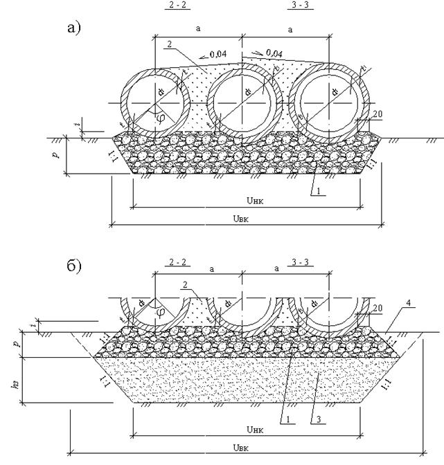
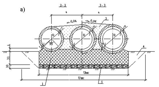
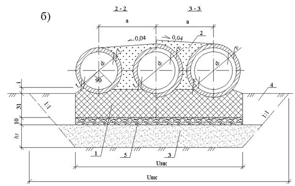
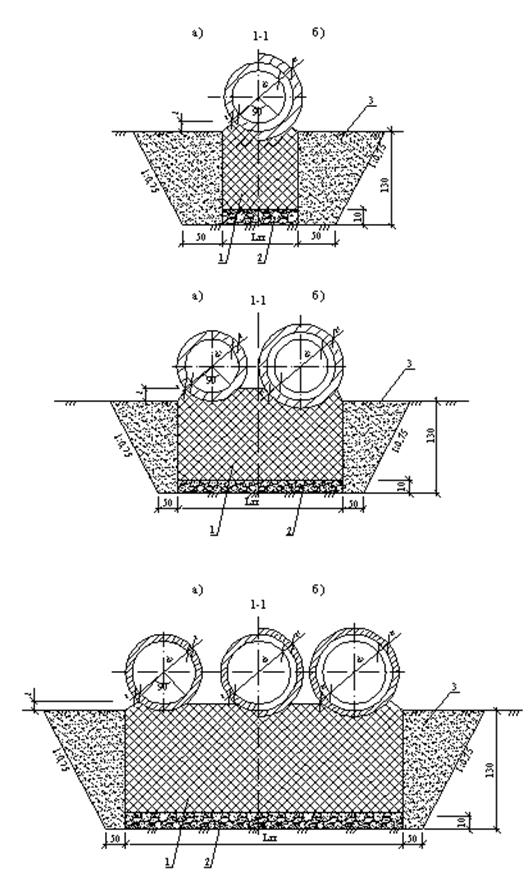
На чертеже трубы приводятся поперечные сечения (2 - 2) тела трубы и сечение (3 - 3) стыка трубы (рис.2.6.3-2.6.5) для принятого по заданию типа фундамента и необходимости замены грунта основания.
Толщину монолитного фундамента предусматривают равной 31 см. Толщину подушки из гравийно-щебеночной смеси и толщину замены слабого грунта основания принять по заданию.
Поперечные сечения (2 - 2) и (3 - 3) приведены на рисунках 2.6.3 и 2.6.4. Вместо буквенных обозначений подставляются данные, полученные расчетом по формулам (см. §2.7).

Рисунок 2.6.3 Поперечные разрезы: 2 – 2 и 3 – 3 (см. рис. 2.6.2 а) фундаментной трубы: а) без замены грунта основания; б) с заменой: 1 – бетон фундамента В25; 2 – щебень толщиной 10см; 3 – замена грунта основания; 4 – заполнение пазух двухочковой трубы бетоном В7,5; 5 – обратная засыпка котлована

Рисунок 2.6.4 Поперечные разрезы: 2 – 2 и 3 – 3 (см. рис.2.6.1 и 2.6.2 б) труб на подушке из ПГС (щебня): без замены грунта основания (а) и с заменой (б): 1 – ПГС (щебень); 2 – засыпка пазух ПГС; 3 – замена грунта основания; 4 – обратная засыпка котлована
|
|
|

Рисунок 2.6.5 Поперечные разрезы 2 – 2 и 3 – 3 (см. рис.2.6.1) трехочковых труб на подушке из гравийно-щебеночной смеси: без замены грунта (а) или с заменой (б): 1 – ПГС (щебень); 2 – засыпка пазух ПГС; 3 – замена грунта основания; 4 – обратная засыпка котлована


Рисунок 2.6.6 Поперечные разрезы 2 – 2 и 3 – 3 (см. рис. 2.6.2) трехочковых труб на монолитном фундаменте без замены грунта основания (а) или с заменой (б): 1 – бетон В25; 2 – засыпка пазух бетоном В7,5; 3 – замена грунта основания; 4 – обратная засыпка котлована; 5 – щебень толщиной 10 см

Рисунок 2.6.7 Поперечные разрезы противофильтрационного экрана на выходе (а) и на входе (б): 1 – бетон В25; 2 – щебеночная подготовка толщиной 10см; 3 – засыпка котлована ПГС
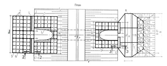
План трубы
План включает (рис.2.6.8-2.6.10) изображение начала и конца трубы, очертание границ укрепления русла на выходе, на входе, откосов в соответствии с принятым типом укрепления, его размерами (см. § 2.5).
Схема плана трубы приведена на рисунке 2.6.8 и 2.6.9.
а)
б) 

в) 
Рисунок 2.6.8 Схемы плана трубы при укреплении: а) плитами ПК100.12.е; б) русла на выходе монолитным бетоном, русла на входе и откосов плитами ПК50.8.е; в) монолитным бетоном: 1- плиты; 2, 3 – блок упора; 4 – бетон В25; 5 – наброска камня; 6 – строительный раствор; 7 – антисептированные доски
|
Рисунок 2.6.9 Схема плана трубы при укреплении откосов нетканым синтетическим материалом русла плитами ПК 100.12.е: 1- плиты ПК100.12.е; 2 – НГ СТ; 3 - строительный раствор; 4 – скобы; 5 – колья
В случае пологих откосов насыпи начало и конец трубы смещаются от подошвы насыпи к оси дороги (см. §2.1). В этом случае на плане трубы приводится схема сопряжения откосов. Пример такого сопряжения представлен на рисунке 2.6.10.
|
|
|

Рисунок 2.6.10 Пример плана трубы на выходе: 1 – звено; 2 – плиты ПК 100.12.е;
3 – НГ СТ; 4 – наброска камня
В случае, когда начало (конец) трубы отодвигаются от подошвы насыпи по направлению от оси дороги, на плане трубы приводится сопряжение откосов насыпи и обсыпки трубы, пример которого представлен на рисунке 2.6.11.

Рисунок 2.6.11 Сопряжение откосов насыпи и обсыпки трубы






