Лекция 8.
Поршневые компрессоры могут быть разделены на два типа: бескрейцкопфные и крейцкопфные (рис. 8.1).

Рис. 8.1. Схемы поршневых компрессоров:
а — крейцкопфная; б — бескрейцкопфная:
1 — кривошип; 2 — шатун; 3 — ползун (крейцкопф); 4 — поршень; 5 — цилиндр склапанами
Компрессоры низкого и среднего давления обычно выполняют по бескрейцкопфной схеме. Роль крейцкопфа (ползуна) в них выполняет сам поршнеь, имеющий удлиненную цилиндрическую поверхность.
Крейцкопфная схема (рис. 8.1, а) характерна для многоступенчатых компрессоров, сжимающих газ до высокого давления. При этом в последних ступенях возникают значительные по величине поперечные силы, восприятие которых поверхностями поршней оказывается недопустимым.
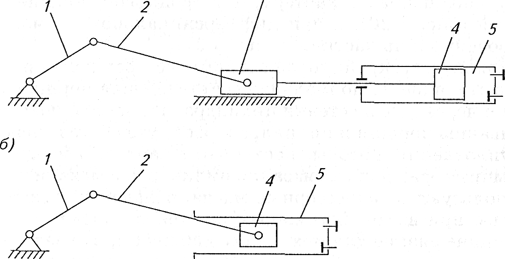
Бескрейцкопфные компрессоры (рис. 8.1, б) отличаются простотой конструкции, имеют лучшие массогабаритные характеристики. Этот тип компрессоров выполняется с тронковыми и дифференциальными поршнями. Площадь поверхности поршня, обращенная к картеру, при тронковом поршне остается нерабочей (рис. 8.2), а при дифференциальном — может быть использована лишь частично (рис. 8.3).

| Рис. 8.2.Тронковый поршень: А — рабочая плоскость; Б — рабочая поверхность | Рис. 8.3.Дифференциальный поршень жизнеобеспечения |
Поскольку в бескрейцкопфных компрессорах роль крейцкопфа играет сам поршень, нормальная составляющая поршневой силы действует через него на стенки цилиндра, что ведет к повышенному изнашиванию поршня и цилиндра и росту утечек газа через поршневые уплотнения, которые поступают в картер. В бескрейцкопфных компрессорах для смазывания цилиндров и механизма движения используют компрессорные масла, обладающие достаточной вязкостью при высокой температуре стенок рабочей камеры, но они излишне вязкие для механизма движения, что ведет к дополнительным затратам работы на механическое трение.
Бескрейцкопфные компрессоры уступают крейцкопфным по потерям на трение, кроме того, при равных подачах они имеют большие диаметры поршней. Основные преимущества бескрейцкопфных компрессоров — малая масса и габаритные размеры. Наиболее рациональная область их применения ограничивается мощностью 40...50 кВт. Более крупные компрессоры целесообразно выполнять крейцкопфными. В системах жизнеобеспечения применяют исключительно бескрейцкопфные компрессоры.
Поршневые компрессоры по расположению осей цилиндров в пространстве делят на вертикальные, горизонтальные и угловые.
Вертикальные компрессоры занимают меньшую площадь, но при большой подаче имеют значительную высоту и сложны в обслуживании. В вертикальных компрессорах смазочный материал, поступающий в цилиндр, равномерно распределяется по рабочей поверхности, а попадающие вместе с ним или газом твердые частицы оседают не на цилиндрической, а на торцевой поверхности поршня, которая не соприкасается с внутренней поверхностью цилиндра. Поэтому вертикальные компрессоры меньше изнашиваются и имеют лучшую герметичность уплотнений.
Силы инерции возвратно-поступательно движущихся масс в вертикальных компрессорах действуют на фундамент вертикально, что повышает устойчивость компрессоров и позволяет использовать фундаменты меньшей массы, а также выполнять вертикальные компрессоры более быстроходными.
Горизонтальные компрессоры предназначены для обеспечения высокой производительности. Они лишены преимуществ вертикальных машин, однако более просты в обслуживании. Широкое распространение в последние годы получили горизонтальные компрессоры с расположением цилиндров по обе стороны вала, так называемые оппозитные компрессоры, которые обладают существенными преимуществами перед компрессорами других типов.
Основным преимуществом оппозитных компрессоров является возможность выполнения их многорядными с расположением в каждом ряду одного цилиндра (рис. 8.4).

Рис. 8.4. Схема оппозитного компрессора.
Вследствие взаимного уравновешивания инерционных сил, действующих в противолежащих рядах компрессора, коренные подшипники вала оказываются разгруженными, силы инерции, а в некоторых компоновках и моменты этих сил не передаются на фундамент (возможна установка компрессора на относительно небольших фундаментах).
По сравнению с горизонтальными компрессорами, у которых цилиндры размещены по одну сторону от коленчатого вала, у оппозитных компрессоров удельная масса в 1,9 раза, а занимаемая площадь в 1,4 раза меньше.
Угловые компрессоры выполняют V-, W-, вееро- и звездообразными и в основном с одноколенным валом, к которому присоединяют до четырех шатунов.
Основные преимущества угловых компрессоров следующие: они достаточно хорошо уравновешены с помощью противовесов (как правило, удается полностью уравновесить силы инерции первого порядка, но силы инерции второго порядка остаются свободными); цилиндры значительно удалены друг от друга; простота их конструкции и малая длина вала, что способствует применению подшипников качения; удобство монтажа. Угловые компрессоры, в частности V-, W-образные, находят широкое применение в различных системах, особенно в холодильных машинах.
Важным отличительным признаком конструкции многоступенчатого компрессора является вид поршня. Многоступенчатые компрессоры выполняют двух типов:
1) с дифференциальными поршнями и несколькими ступенями сжатия в одном цилиндре;
2) со ступенями сжатия в отдельных цилиндрах.
В компрессоре первого типа (рис. 8.5) ступени сжатия разнесены по обе стороны дифференциального поршня (I-II — ступени компрессора). Принцип работы виден на индикаторной диаграмме, построенной совместно для обеих ступеней (рис. 8.6).
При движении поршня вправо происходит всасывание в первую ступень (линия 4' — 1'), сжатие и выталкивание во второй ступени (линии 3'-2" и 2"— 3").

| Рис. 8.5.Двухступенчатый ком- прессор с дифференциальным порш- нем | Рис. 8.6. Теоретическая индикаторная диаграмма двухступенчатого компрес- сора с дифференциальным поршнем |
Когда поршень начинает двигаться влево, в первой ступени происходит сжатие, а во второй — расширение газа. Последний процесс идет до тех пор, пока давление в цилиндре не достигнет р'2 в точке 4"'. В этот момент открывается всасывающий клапан второй ступени и поршень, двигаясь влево, будет всасывать газ из замкнутого пространства охладителя. При этом давление газа будет снижаться. Когда поршень займет положение, определяемое точкой 2', давление газа в охладителе снизится настолько, что откроется напорный клапан первой ступени и газ будет поступать из нее через охладитель во вторую ступень. Давление газа будет из-меняться по линии 2'—3'. В начале хода вправо в первой степени происходит расширение газа по политропе 3' — 4''.
Объемы цилиндров первой и второй ступеней компрессора неодинаковы, поэтому рассмотренные диаграммы имеют различные масштабы абсцисс. В компрессорах этого типа процессы сжатия и ступенях осуществляются на разных ходах поршня, поэтому рабочие усилия на ходовые части распределяются достаточно равномерно.
Используя принцип создания ступеней при помощи поршня переменного диаметра, можно создать компрессор с большим чис-лом ступеней. На рис. 8.7 приведена схема шестиступенчатого компрессора (I - VI).

Рис. 8.7. Схема шестиступенчатого компрессора
с дифференциальным поршнем
В компрессорах второго типа газ последовательно подается из одного цилиндра в другой, каждый из которых представляет собой ступень сжатия. Объем каждого последующего цилиндра, естественно, меньше предыдущего.

Рис. 8.8. Схемы поршневых компрессоров: а - одноцилиндровый двойного действия; б - двухступенчатый дифференциальный; в - двухцилиндровый трехступенчатый; г - двухцилиндровый одноступенчатый; д - трехцилиндровый двухступенчатый V-образный; е - двухцилиндровый двухступенчатый угловой; ж - двухцилиндровый двухступенчатый оппо-зитный; з — однорядный двухцилиндровый двухступенчатый;
I—Ill -номера ступеней