Рисунок 8 - Бессальниковый холодильный компрессор.
Рисунок 8 - Герметичный холодильный компрессор
Классификация поршневых компрессоров
3 2 1 2
Pн 2
Теоретический поршневой компрессор
Поршневые компрессоры


P
![]() |
Pвс

4 1


Vт



4





Vцил(Sп)
















ВМТ НМТ




































Рисунок 1 – Индикаторная диаграмма теоретического поршневого компрессора.
Теоретическим называется компрессор, у которого отсутствуют все энергетические и объемные потери.
Основными элементами теоретического поршневого компрессора являются: цилиндр (1),поршень (2),всасывающий клапан (3), нагнетательный клапан (4).
Возвратно-поступательное движение поршня в цилиндре, в сочетании с работой всасывающего и нагнетательного клапана обеспечивают последовательное протекание процессов всасывания, сжатия и нагнетания.
За один оборот коленчатого вала совершается один рабочий цикл компрессора.
Работу теоретического компрессора можно изучить по индикаторной диаграмме в V,P координатах.
Vц – внутренний объём цилиндра.
P – давление в цилиндре.
В первоначальный момент времени поршень находится в Верхней мертвой точке (ВМТ), всасывающий и нагнетательный клапаны закрыты. При вращении коленчатого вала поршень начинает двигаться от ВМТ к НМТ. Всасывающий клапан открывается, объём цилиндра увеличивается и пар поступает в цилиндр через проходные сечения всасывающего клапана, т.е. начинается процесс всасывания. Процесс всасывания (4-1) протекает при постоянном давлении, по мере движения поршня от ВМТ к НМТ. Он заканчивается, когда поршень достигнет НМТ. При этом всасывающий клапан закрывается. Цилиндр максимально заполняется паром холодильного агента. При дальнейшем вращении коленчатого вала поршень начинает двигаться в обратном направлении: от НМТ к ВМТ. Объём цилиндра начинает уменьшаться, т.к. всасывающий и нагнетательный клапаны закрыты. В цилиндре повышается давление, т.е. происходит процесс сжатия (1-2). При достижении давления в цилиндре, равного давлению нагнетания (т.2), открывается нагнетательный клапан и пар начинает выходить через нагнетательный клапан из цилиндра. Процесс нагнетания (2-3) протекает при постоянном давлении Pн по мере движения поршня от т.2 до ВМТ. Процесс нагнетания заканчивается тогда, когда поршень достигнет ВМТ. При этом внутренний объём цилиндра будет равен нулю. Нагнетательный клапан закрывается. При дальнейшем вращении коленчатого вала открывается всасывающий клапан и начинается новый рабочий цикл.
Холодильные поршневые компрессоры классифицируются по множеству отличительных особенностей, из которых наиболее значительные следующие:
1. По виду рабочего вещества холодильные компрессоры делятся на аммиачные, фреоновые, пропановые, воздушные и др.
Детали и узлы компрессоров изготавливают из таких конструкционных материалов, которые не вступают в химическую реакцию с холодильным агентом. Например, в аммиачных компрессорах исключается применение медных деталей, так как аммиак окисляет медь, что может привести к нежелательному омеднению стальных поверхностей. Фреоны являются наиболее текучими холодильными агентами. Поэтому, во избежание утечек, к материалам блок-картеров предъявляются повышенные требования (отсутствие микротрещин, раковин, рисок и т. д.).
2. По диапазону работы на высоко-, средне- и низкотемпературные.
Для высокотемпературных компрессоров стандартная температура кипения холодильного агента равна
, для среднетемпературных компрессоров
,для низкотемпературных
.
3. По холодопроизводительности на малые, средние и крупные.
К малым относятся компрессоры, имеющие холодопроизводительность
менее 12 кВт, к средним
от 12 до120 кВт, к крупным -
более 120кВт при стандартном среднетемпературном режиме.
4. По конструкции кривошипно-шатунного механизма: крейцкопфные и бескрейцкопфные. (рисунок 3)

Рисунок 3 – Конструкции механизма движения компрессора.
а) крейцкопфный; б) бескрейцкопфный;
1-цилиндр;2-шатун; 3-поршень; 4-коленчатый вал; 5-крейцкопф; 6-шток; 7-нагнетательный клапан; 8-всасывающий клапан.
В крейцкопфных конструкциях компрессоров (рисунок 3а) движение от шатуна к поршню передается через специальный механизм-крейцкопф и шток. В бескрейцкопфных компрессорах движение от шатуна непосредственно передается поршню (рисунок 3б). В крейцкопфных компрессорах поршень имеет небольшую высоту, достаточную только для размещения колец, так как всю боковую нагрузку воспринимает на себя крейцкопф. В бескрейцкопфных компрессорах высота поршня значительно больше, здесь роль крейцкопфа выполняет нижняя часть поршня. В настоящее время в холодильной технике применяются в основном бескрейцкопфные компрессоры, как наиболее простые.
5. По количеству цилиндров: одно-, двух-, четырех-, шести- и так далее цилиндров (количество цилиндров может быть до шестнадцати). Так как валы холодильных компрессоров преимущественно двухколенчатые, то число цилиндров всегда четное, кроме одноцилиндровых с консольным или эксцентриковым валом.
6. По расположению осей цилиндров – вертикальные, горизонтальные, оппозитные и угловые (рисунок 4).

Рисунок 4 – Расположение осей цилиндров компрессоров.
а – вертикальный; б – горизонтальный; в – угловой; г – оппозитный, д – V-образный; е – W-образный.
В вертикальных компрессорах оси цилиндров расположены вертикально (рисунок 4а). У горизонтальных компрессоров оси цилиндров проходят горизонтально по одну сторону коленчатого вала (рисунок 4б). Расположение осей цилиндров у оппозитного компрессора также горизонтальное, только по обе стороны коленчатого вала (рисунок.4г). Угловые компрессоры имеют часть цилиндров, расположенных горизонтально, часть - вертикально (рисунок 4в). В последнее время большое распространение получили угловые компрессоры, у которых оси цилиндров расположены Y-образно с углом развала от
до
(рисунок 4д) и веерообразно с углом развала от
до
(рисунок 4е).
7. По типу газораспределения в цилиндре: прямоточные и непрямоточные (рисунок 5,6,7).

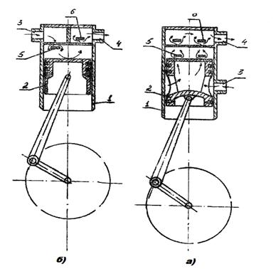
Рисунок 5 – Схема прямоточного (а) и непрямоточного (б) компрессора.

Рисунок 6 – Прямоточный компрессор

Рисунок 7 – Непрямоточный компрессор
1 — блок картер, 2 — всасывающий патрубок, 3 — блок цилиндров, 4 — крышка цилиндров, 5 — клапанная группа, 6 — нагнетательный патрубок, 7 — шатунно-поршневая группа, 8—коленчатый вал, 9 – фильтр
В прямоточных компрессорах пар всегда движется в одном направлении. Нагнетательный клапан неподвижно закреплен в клапанной доске в верхней части цилиндра, а всасывающий клапан находится в верхней части поршня и движется вместе с ним (рисунок 5а). В непрямоточных компрессорах, всасывающий и нагнетательный клапан неподвижны и расположены в клапанной доске в верхней части цилиндра. При всасывании и нагнетании пар холодильного агента в цилиндре меняет свое направление (рисунок 5б).
8. По количеству ступеней сжатия на одно-, двух-, многоступенчатые.
Количество ступеней сжатия выбирается в зависимости от того, какой термодинамический цикл осуществляется в холодильной машине. Сжатие в одной ступени экономически не эффективно при отношении давления нагнетания и всасывания:

В многоступенчатом поршневом компрессоре одна часть цилиндров работает на низкую ступень, другая – на ступень высокого давления.
9. По степени герметичности на герметичные, бессальниковые и сальниковые.

1 – электродвигатель, 2 – коленчатый вал, 3 – шатунно-поршневая группа, 4 – блок цилиндров, 5 – глушитель шума, 6 – кожух.
В герметичных компрессорах весь механизм движения вместе с электродвигателем помещен в один неразъемный сварной кожух (рисунок 8). Бессальниковый компрессор имеет картер со встроенным электродвигателем (рисунок 9). Картер выполнен со съемными крышками, обеспечивающим доступ к клапанам, механизму движения и электродвигателю. Сальниковые компрессоры соединяются с приводом через муфту или ременную передачу. Тут герметичность между выходным концом коленчатого вала и корпусом достигается установкой специального устройства-сальника.


1 — блок картер, 2 — ротор электродвигателя, 3 — статор электродвигателя, 4 — герметизированные электровводы
10. По взаимному креплению цилиндра и картера: на блок-картерные и блок-цилиндровые.
Блок-картерные конструкции имеют блок цилиндров и картер в общей отливке. В блок-цилиндровых компрессорах картер и блок цилиндров отдельные детали, крепящиеся друг к другу болтами. Блок-цилиндровые компрессоры применяются в настоящее время сравнительно редко и только в малых холодильных компрессорах.
11. По числу рабочих полостей цилиндра: на компрессоры простого действия и двойного действия.
В компрессорах простого действия сжатие пара осуществляется одной стороной поршня, а в компрессорах двойного действия обеими сторонами поршня, соответственно в двух рабочих полостях цилиндра. Крейцкопфные компрессоры в основном двойного действия (рисунок 3а), бескрейцкопфные – простого действия (рисунок 3б).
12. По виду охлаждения: на компрессоры с водяным охлаждением и с воздушным охлаждением, с охлаждением паром холодильного агента, с комбинированным охлаждением.
При водяном охлаждении верхняя часть цилиндров, а иногда и крышки, имеют водяную рубашку, выполненную в блок-картере или в блок-цилиндре. В компрессорах с воздушным охлаждением для увеличения теплопередающей поверхности на блок-цилиндрах и крышках делается оребрение.
13. По способу смазки трущих деталей: на компрессоры с принудительной смазкой, разбрызгиванием, комбинированной смазкой и без смазки.
Для смазки поверхностей трения используется специальное жидкое масло, которое находится в нижней части картера компрессора. Принудительная смазка осуществляется при помощи масляного насоса через просверленные отверстия в коленчатом вале и шатуне.
При смазке разбрызгиванием, масляного насоса нет, а смазка осуществляется за счет разбрызгивания масла по всему внутреннему объему компрессора. При комбинированной смазке применяется совместное действие принудительной системы смазки и разбрызгиванием. В настоящее время выпускаются крейцкопфные компрессоры, у которых цилиндропоршневая группа не смазывается, а кривошипно-шатунный механизм имеет обычную циркуляционную смазку от насоса. Для предотвращения попадания масла к цилиндрам, в них на штоке, между поршнем и крейцкопфом, устанавливается сальник. Прошли успешные испытания бескрейцкопфные поршневые компрессоры без смазки, где полностью отсутствует жидкое масло. В таких компрессорах шатунные подшипники, поршневые кольца, втулки верхних головок шатунов изготовлены из композиционных антифрикционных материалов с низким коэффициентом трения. Имеются также компрессоры без смазки, в нижних головках шатунов которых установлены герметизированные подшипники качения с консистентной смазкой. Такие компрессоры имеют разъемный вал.
