Цифровые реле совмещают следующие функции:
- РЗ от всех возможных видов повреждений и ненормальных режимов работы электроустановок;
- автоматическое включение резервного источника питания (АВР);
- автоматическое отделение поврежденного участка и других автоматических устройств управления в аварийном и послеаварийном режиме;
- измерение и запись электрических величин;
- оперативное и запрограммированное управление коммутационными аппаратами;
- определение места повреждения на аварийно отключившейся линии.
Такие цифровые устройства называют многофункциональными. В отличие от традиционного выполнения РЗА с помощью наборов отдельных реле, как правило, с одной функцией (реле тока, напряжения, времени), при использовании цифровых реле задачи РЗА решают комплексно.
Кроме больших функциональных возможностей, цифровые устройства РЗА обладают следующими свойствами:
- непрерывная автоматическая самопроверка;
- запоминание событий;
- возможность дистанционного контроля и оперативного изменения настройки РЗА с помощью компьютера и канала связи или по заранее предусмотренному в этом же реле фактору.
Так, может быть изменен весь набор уставок РЗА при изменении, например, первичной схемы электрической сети. Эти преимущества цифровых РЗА делают их наиболее перспективными для автоматизации распределительных электрических сетей.
Не зависимо от производителя, цифровые реле обладают близкими характеристиками. Например, мощность, потребляемая от измерительных трансформаторов тока и напряжения, находится на уровне 0,1÷0,5 ВА, аппаратная погрешность – в пределах 2÷5 %, коэффициент возврата измерительных органов составляет 0,96÷0,97.
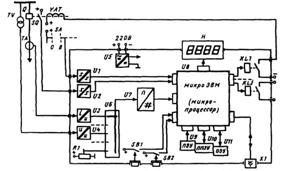
Структурная схема цифрового устройства РЗ представлена на рис. 3.1.

Рис. 3.1. Структурная схема цифрового устройства защиты
Центральным узлом цифрового устройства является микропроцессор, который через устройства ввода-вывода обменивается информацией с периферийными узлами.
Характерные узлы микропроцессорного устройства РЗА: входные U 1… U 4 и выходные KL 1… KLj преобразователи сигналов; тракт аналого-цифрового преобразования U 6, U 7; кнопки управления и ввода информации от оператора SB l, SB 2; дисплей Н для отображения информации и блок питания U 5; коммуникационный порт X 1 для связи с другими устройствами.
Входные преобразователи приводят контролируемые сигналы к единому виду, как правило, к напряжению, и нормированному уровню и обеспечивают гальваническую развязку внешних цепей устройства от внутренних. Кроме того, на этом этапе осуществляется предварительная частотная фильтрация входных сигналов перед их аналого-цифровым преобразованием; принимаются меры по защите внутренних элементов устройства от воздействия помех и перенапряжений.
Различают аналоговые (U 3, U 4) и логические (U 1, U 2) преобразователи входных сигналов. Первые выполняют так, чтобы обеспечить линейную (иногда нелинейную) передачу контролируемого сигнала во всем диапазоне его изменения. Преобразователи логических сигналов, наоборот, делают чувствительными только к узкой области диапазона возможного нахождения контролируемого сигнала.
Воздействие реле на защищаемый объект традиционно осуществляется в виде дискретных сигналов управления. При этом выходные цепи устройства защиты выполняют так, чтобы обеспечить гальваническую развязку коммутируемых цепей, как между собой, так и относительно внутренних цепей устройства РЗ. Выходные преобразователи должны обладать соответствующей коммутационной способностью и, в общем случае, обеспечивать видимый разрыв коммутируемой цепи.
Тракт аналого-цифрового преобразования включает аналоговый мультиплексор (коммутатор) U 6 и собственно аналого-цифровой преобразователь (АЦП) – U 7. Мультиплексор поочередно подает контролируемые сигналы на вход АЦП. Применение мультиплексора позволяет использовать один АЦП для нескольких каналов. В АЦП происходит преобразование мгновенного значения входного сигнала в пропорциональное ему цифровое значение.
Преобразования выполняются с заданной периодичностью. Далее, в микропроцессоре по этим выборкам из входных сигналов рассчитываются интегральные параметры контролируемых сигналов – их амплитудные или действующие значения.
Блок питания (БП) U 5 обеспечивает стабилизированным напряжением все узлы рассматриваемого устройства, независимо от возможных изменений напряжения в питающей сети, например, в диапазоне 154÷264 В. Как правило, в БП формируется и ряд дополнительных сигналов, исключающих неправильную работу микропроцессора и некоторых других электронных узлов устройства в момент появления или исчезновения напряжения питания.
Характерными узлами любого цифрового устройства являются дисплей и клавиатура. Они позволяют оператору получить информацию от устройства, изменять режим его работы, вводить новую информацию. Дисплей Н и клавиатура SB l, SB 2 в цифровых реле, как правило, реализуются в максимально упрощенном виде: дисплей – цифробуквенный, строчный; клавиатура – кнопочная.
В устройстве РЗ может использоваться несколько микропроцессоров, каждый из которых решает отдельный фрагмент общей задачи, что обеспечивает высокое быстродействие, например, применение сигнальных процессоров для предварительной обработки входных сигналов.
Ранее было отмечено такое достоинство микропроцессорных устройств как возможность передачи имеющейся информации в другие цифровые системы: АСУ ТП, персональный компьютер и т.д., что позволяет интегрировать различные системы, экономя на каналах связи, затратах на предварительную обработку сигналов и т.п. Коммуникационный порт – необходимый элемент для дистанционной работы с данным устройством, а также для связи с внешними цифровыми устройствами.
В цифровых устройствах могут быть и другие узлы, например, цифроаналоговые преобразователи для формирования аналоговых сигналов управления и регулирования. Обработку информации в цифровом реле производит микропроцессор по алгоритму, реализованному в виде программы.