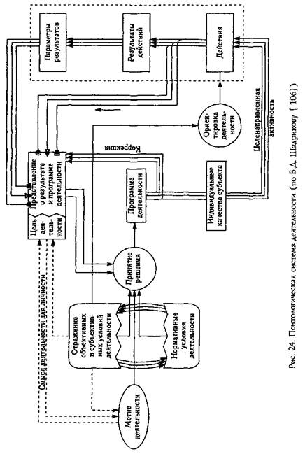
степени рассогласования идеальной цели и реального результата, после чего происходит коррекция — как бы «доводка» реального результата до идеальной цели или до приемлемого приближения к ней. Коррекция развертывается с разной мерой выраженности в зависимости от величины обнаруживаемых рассогласований цели и результата. Если рассогласования минимальны, то и коррекция будет носить либо констатирующий характер («результат достигнут»), либо быть в основном «косметической» и направленной на устранение деталей. Если же рассогласование цели и результата велико, то усложняется и коррекция. В случае полного рассогласования намеченных целей с реально достигнутыми результатами коррекция может приобретать форму повтора всего деятельностного цикла — форму «новой попытки» достичь цель. Требуется вновь вернуться к исходной цели, радикально пересмотреть выбранные ранее средства и методы ее достижения (поскольку они не дали результата) и вновь реализовать деятельность.
Во-вторых, в свете этого понятно, что коррекция по своему содержанию уже как бы выходит за пределы регулятивных процессов и может принимать вид новой деятельности (или, по крайней мере, новых действий) по исправлению допущенных ошибок. В этом виде коррекция выполняет и роль связующего звена между различными циклами, видами деятельности. Являясь завершающим этапом одного деятельностного цикла, она позволяет перейти к началу другого цикла; или же показывает направления изменения первого цикла и требует возврата к его началу.
Благодаря процессам коррекции деятельность принимает как бы замкнутый — кольцеобразный (точнее — спиралевидный) характер. Она приобретает наряду со свойством целенаправленности также и свойство цехедостшаемости.
В-третьих, на основе процессов коррекции и через эти процессы происходит самообучение субъекта, расширение и обогащение его профессионального опыта, повышение общего уровня компетентности. Процессы коррекции связаны с исправлением собственных ошибок и недочетов. Но, как известно, ничто не учит так сильно и эффективно, как свои собственные ошибки и уроки, извлеченные из них (в частности, найденные и реализованные способы устранения ошибок — т.е., фактически, коррекции). С психологической точки зрения механизмом самообуче-
19.2. СПЕЦИФИКА ОСНОВНЫХ РЕГУЛЯТИВНЫХ ПРОЦЕССОВ В УПРАВЛЕНЧЕСКОЙ ДЕЯТЕЛЬНОСТИ 349







