ких действий, направленных на обеспечение их мотивации. В теории противодействия доказано, что это далеко не так: исполнители (подчиненные), как правило, активно стараются влиять на систему вознаграждения. Примеров тому — огромное множество, а одним из наиболее типичных среди них является стремление подчиненных повлиять на мнение о них руководства с тем, чтобы повысить вероятность получения (или повышения) вознаграждения.
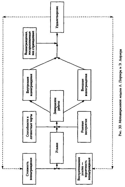
Мотивационнная модель А. Портера и Э. Аоулера [161]. Эта концепция является удачной попыткой объединения двух рассмотренных теорий — «ожидания» и «справедливости». Согласно ей результаты, достигаемые человеком, зависят от: 1) ценности («стоимости») вознаграждения; 2) степени реального удовлетворения; 3) затрачиваемых и «воспринимаемых» усилий;
4) способностей и индивидуальных особенностей человека;
5) осознания человеком своей роли в процессе труда («ролевых
восприятий»). Модель мотивации схематично представлена на
рис. 30.
Уровень затрачиваемых человеком усилий будет зависеть от того, насколько человек верит в существование причинной связи между затратами усилий и возможными вознаграждениями. Достижение требуемого уровня результативности может повлечь за собой два вида вознаграждения: внутреннее (чувство удовлетворенности от выполненной работы, чувство своей высокой профессиональной компетентности и др.) и внешнее (похвала, премия, продвижение по службе). Удовлетворение — это результат как внутренних, так и внешних вознаграждений с учетом их справедливости. Оно является мерилом того, насколько ценно и справедливо вознаграждение в действительности. Эта оценка влияет на мотива-ционное поведение человека во вновь возникающих ситуациях.
Наиболее важным выводом модели Л. Портера и Э. Лоулера является то, что результативный труд как таковой ведет к росту удовлетворенности и поэтому сам по себе выступает достаточно сильным мотивом. Большинство концепций мотивации указывает, что вознаграждение, удовлетворение есть стимул и причина высоких результатов (проще говоря, более довольные исполнители работают лучше). В данной концепции вскрыта и обратная зависимость: чувство выполненной работы и удовлетворенность от этого способствуют повышению результативности труда (работающие лучше сильнее и мотивированы). Таким образом, дан-
23.2. ПРОЦЕССУАЛЬНЫ! ТЕОРИИ МОТИВАЦИИ 483







