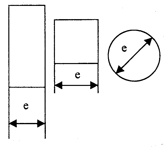
┌───────────────┬──────────────────────────────────────────────────────┐
│ Размер │ Расстояние безопасности, мм │
│ отверстия, мм │ │
│ ├──────────────────────────────────────────────────────┤
│ │ Форма отверстия │
│ ├─────────────────┬──────────────────┬─────────────────┤
│ │ Прямоугольник │ Квадрат │ Круг │
│ │ (щель) │ │ │
├───────────────┼─────────────────┼──────────────────┼─────────────────┤
│е <=4 │>=2 │>=2 │>=2 │
├───────────────┼─────────────────┼──────────────────┼─────────────────┤
│4<е<=6 │>=10 │>=5 │>=5 │
├───────────────┼─────────────────┼──────────────────┼─────────────────┤
│6<е<=8 │>=20 │>=15 │>=15 │
├───────────────┼─────────────────┼──────────────────┼─────────────────┤
│8<е<=10 │>=80 │>=25 │>=20 │
├───────────────┼─────────────────┼──────────────────┼─────────────────┤
│10<е<=12 │>=100 │>=80 │>=80 │
├───────────────┼─────────────────┼──────────────────┼─────────────────┤
│12<е<=20 │>=120 │>=120 │>=120 │
├───────────────┼─────────────────┼──────────────────┼─────────────────┤
│20 < е <= 30 │>=850* │>=120 │>=120 │
├───────────────┼─────────────────┼──────────────────┼─────────────────┤
│30 < е <= 40 │>=850 │>=200 │>=200 │
├───────────────┼─────────────────┼──────────────────┼─────────────────┤
│40 < е <= 120 │>=850 │>=850 │>=850 │
└───────────────┴─────────────────┴──────────────────┴─────────────────┘

"Формы и размеры отверстия"
Размеры, приведенные в таблице, соответствуют:
- ГОСТ Р 51336-99 "Безопасность машин. Безопасные расстояния для предохранения верхних конечностей от попадания в опасную зону"
- стандарту EN294: 1992 "Безопасность механизмов - Зазоры безопасности, не позволяющие дотянуться до опасных участков"
──────────────────────────────
* Если длина прямоугольника <= 65 мм, большой палец будет действовать как стопор и расстояние безопасности можно уменьшить до 200 мм
Приложение 11






