Электросталеплавильный процесс, более совершенный способ выплавки и производится в электродуговых и индукционных печах. Этот метод применяется для получения высококачественных сталей.
В электродуговых печах (рис. 3.5.) для нагрева и плавления металла используется тепловая энергия излучения электрической дуги возбуждаемой между электродами и металлом, легко регулируемая изменением параметров тока, с возможностью создавать окислительную, восстановительную, нейтральную атмосферу или вакуум.
По мере плавки электроды опускаются вглубь шихты, заваленной в печь. Электроды изготавливают из графита. Общая продолжительность процесса 3 – 4 часа.
![]() |
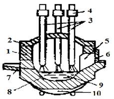
Рис. 3.5. Принципиальная схема электродуговой печи:
1 – корпус печи; 2 – съемный свод; 3 – электроды; 4 – электрододержатели; 5 – рабочее окно; 7 – желоб для выпуска плавки; 8 – слой шлака; 9 – металл; 10 – сектор для наклона печи.
Основным сырьем для плавки стали служит стальной и железный лом, легированные металлоотходы, чугун, шлакообразующие компоненты (известняк, известь, шамотный бой), окислители (окалина), науглероживатели (кокс), легирующие добавки, раскислители.
|
|
|
Для ускорения процессов в шихту вдувают газообразный кислород под давлением 0,8 – 1,0 МПа через фурму.
В электропечах выплавляют в больших количествах нержавеющие стали, жаропрочные и специальные стали, а также сложнолегированные сплавы, содержащие тугоплавкие элементы.
![]() |
Индукционная электроплавка применяется в основном для выплавки в относительно небольших количествах разнообразных высококачественных сталей и специальных сплавов. Нагрев и расплавление шихты в этих печах происходит за счет тепла, выделяемого индуктированным в ней током (рис. 3.6.).
Рис. 3.6. Принципиальная схема индукционной печи:
1 – металл; 2 – крышка; 3 – индуктор; 4 – тигель.








