Запорная арматура. Запорная арматура предназначена для полного перекрытия потока и включает краны, вентили, задвижки и заслонки.
Краны. Кран представляет собой устройство, основными деталями которого являются корпус и затвор (пробка) в виде конуса, цилиндра, шара или диска. Для движения среды в затворе предусмотрено сквозное отверстие или канал различной формы, которые обеспечивают требуемую пропускную характеристику при применении крана в качестве регулирующего устройства.
Наиболее широко используются запорные краны, которые по типу затвора делят на конусные, цилиндрические и шаровые. Достоинства крана как запорного устройства заключаются в следующем: простоте конструкции; малом гидравлическом сопротивлении; небольшой высоте; возможности установки в любом рабочем положении на трубопроводе; простоте управления (поворот пробки на 90°); возможности использования в качестве запорного и регулирующего органа.
Вместе с тем краны имеют некоторые недостатки: значительные крутящие моменты для управления кранами с большим условным диаметром; необходимость тщательного обслуживания и смазывания уплотнительных поверхностей конической пробки и корпуса во избежание «прикипания» пробки к корпусу; усложненность пригонки (притирки) конической пробки к корпусу; неравномерность изнашивания корпусных пробок, что в процессе их эксплуатации приводит к снижению герметичности запорного органа. Вследствие этих недостатков для ответственных объектов все большее применение получают шаровые краны.
Краны изготовляются из латуни, бронзы, серого чугуна, стали, титана, пластмассы и других материалов. Краны из латуни (Dу ≤80 мм) применяются для сред с ру ≤2,5 МПа при t ≤225 °С. Чугунные краны (Dу≤150 мм) используются для воды, нефти, смазочных масел, топливного газа, нейтральных газов при ру ≤1,6 МПа и tр ≤150 °С. Стальные краны (Dу ≤1400 мм) применяются для топливных газов, сжиженных газов, нефтепродуктов при ру ≤16 МПа и t ≤500 °С. Латунные краны изготовляются в качестве пробноспускных и запорных. Пробно-спускные краны (Dу ≤20 мм) предназначены для установки на котлы и резервуары при ру = 1 МПа и tр =225 °С.
Латунные запорные конусные краны делят на натяжные (рис. 2, а) и сальниковые (рис. 2, б).

Рис. 2. Краны
В натяжных кранах уплотнение осуществляется подтягиванием гайки 3, навернутой на нижний конец пробки 2, проходящей через дно корпуса 1. В сальниковых кранах уплотнение пробки достигается подтяжкой грундбуксы 4.
Для облегчения извлечения пробки в нижней части корпуса сальникового крана устанавливается отжимной болт 5.
Конусность пробки в кранах обычно составляет от 1: 6 до 1: 7 в зависимости от материала деталей. При меньшей конусности снижается осевое усилие, требуемое для герметизации запорного органа, но при этом повышается вероятность заклинивания пробки в корпусе. В связи с этим конусность 1: 7 принимается в кранах из чугуна, бронзы и латуни общепромышленного назначения с ру ≤ 1 МПа, т. е. для материалов, не склонных к задиранию и обладающих антифрикционными свойствами. Конусность 1: 6 принимается для материалов, более склонных к схватыванию и образованию задиров.
Основные параметры кранов регламентированы ГОСТ 9702—77.
Запорные клапаны и вентили. В арматуростроении клапаном называют устройство, служащее для перекрытия потока среды в трубопроводе с помощью затвора, который имеет вид диска (тарелки клапана, золотника), при поступательном движении шпинделя (штока) вдоль оси потока, перпендикулярно плоскости седла.
Вентиль представляет собой клапан со шпинделем, ввинчиваемым в резьбу неподвижной ходовой гайки, которая расположена в крышке. Он отличается простотой конструкции и создает хорошие условия для надежной герметичности запорного органа в закрытом состоянии. В связи с этим вентили получили широкое распространение как запорная арматура.
Наиболее часто вентили применяются на трубопроводах малого диаметра. По мере увеличения условного диаметра прохода трубопровода, начиная c Dy = 50 мм, вентили уступают место задвижкам. При диаметрах D = 200-250 мм вентили и клапаны используются редко, так как при больших условных диаметрах прохода и высоких давлениях усилие на шпинделе возрастает настолько, что вентиль становится трудноуправляемым. Кроме того, вентили обычной конструкции имеют, как правило, высокий коэффициент гидравлического сопротивления.
Клапаны и вентили изготовляются из серого чугуна, ковкого чугуна, стали, латуни, бронзы, алюминия, титана, фарфора, стекла, пентапласта, полипропилена и различных пластмасс.
По конструкции корпуса и расположению на трубопроводе различают проходные (рис. 3, а), прямоточные (рис. 3, б) и угловые (рис. 3, в) вентили и клапаны. Проходные и прямоточные устанавливаются на горизонтальном или вертикальном участках трубопровода, угловые - на месте поворота трубопровода. Последние имеют меньшее гидравлическое сопротивление, но область их применения ограничена поворотными участками трубопроводов. Прямоточные вентили и клапаны, шпиндель которых расположен под углом к оси прохода (обычно под углом в 45°), имеют относительно малое сопротивление.
Вентили и клапаны конструируются, как правило, и устанавливаются так, чтобы движение среды происходило «под клапан», т. е. навстречу движению затвора при закрывании запорного органа. Обратное движение среды, т. е. «на клапан», осуществляется редко и применяется главным образом при больших диаметрах прохода, с целью разгрузить шпиндель от больших усилий сжатия. Серьезным недостатком конструкции вентиля с подачей среды «на клапан» является то обстоятельство, что при этом сальник все время находится под действием давления среды, даже при закрытом положении запорного органа.
По конструкции уплотнения шпинделя (штока) вентили делят на сальниковые и бессальниковые. В бессальниковых вентилях в качестве герметизирующего элемента используются сильфоны и мембраны. Наиболее широкое распространение получили сильфонные вентили (рис. 4).

Рис. 3. Запорные вентили:
1 - тарелка; 2 - корпус; 3 - крышка; 4 - шпиндель(шток); 5 - сальниковая набивка; 6 -пружина

Рис. 4. Сильфонный вентиль
Уплотнение с помощью сильфона обеспечивает большую плотность, чем сальниковая набивка, и применяется на трубопроводах, находящихся под разрежением (вакуумом), чтобы не допустить срыва вакуума из-за подсоса в трубопровод наружного воздуха, или на трубопроводах с агрессивной средой, утечка которой недопустима.
Герметичность запорного органа клапанов и вентилей обеспечивается с помощью уплотнительного кольца, изготовляемого из металла, резины, пластмасс или кожи. Поверхности механических колец выполняются либо плоскими, либо конусными (с фаской). Первые проще в изготовлении, вторые - более герметичны. Уплотнительные кольца с конусным уплотнением эффективнее обеспечивают удаление из зоны между уплотнительными поверхностями колец твердых включений, находящихся в среде, что несколько увеличивает надежность запорного органа.
Основные параметры запорных вентилей регламентированы ГОСТ 9697-87.
Задвижки. Задвижки имеют большое распространение и применяются для трубопроводов с условным диаметром прохода Dу = 50-3000 мм. Положительными качествами задвижки являются сравнительная простота конструкции и малое гидравлическое сопротивление. У задвижек коэффициент гидравлического сопротивления обычно находится в пределах ζ = 0,08-0,2, в то время как у вентилей он составляет ζ= 2-5 и более. Недостатком задвижек является их большая строительная высота.
В зависимости от конструкции запорного органа задвижки делят на параллельные (рис. 5) и клиновые (рис. 6): у первых уплотнительные кольца расположены параллельно друг другу, у вторых — расположены под небольшим углом, образуя клин. Параллельные задвижки могут иметь затвор в виде одного диска или листа либо затвор в виде двух дисков с расположенным между ними распорным клином или распорной пружиной. Клиновые задвижки изготовляются с цельным клином (жестким или упругим) и составным двухдисковым клином, образованным двумя дисками, которые расположены под углом друг к другу.
Применение жесткого клина в задвижках малых диаметров обеспечивает высокую герметичность запорного органа, но при колебаниях температуры рабочей среды здесь возникает опасность заклинивания затвора в корпусе. Кроме того, пригонка жесткого клина к корпусу значительно более трудоемка, чем пригонка двухдискового клина. В связи с этим получил распространение промежуточный вариант - затвор в виде упругого клина, частично сочетающего достоинства обеих конструкций. При повышенных требованиях к герметичности применяется двухдисковый затвор.
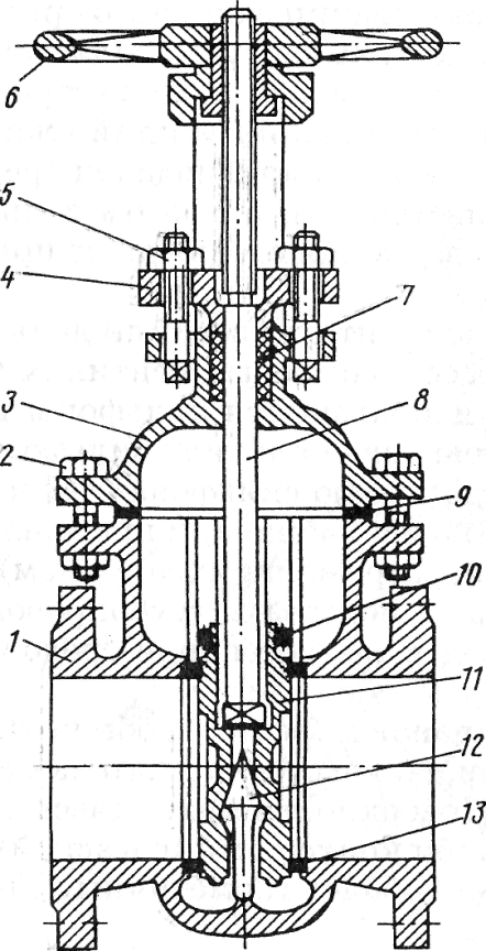
По месту расположения ходового узла (внутри или вне полости корпуса) задвижки делят на задвижки с выдвижным или невыдвижным шпинделем. У конструкции первого типа (рис. 7) ходовая резьба шпинделя и гайки находится вне полости задвижки, а у конструкций второго типа - внутри. В задвижках с невыдвижным шпинделем (рис. 8) ходовой узел погружен в рабочую среду, доступ к нему накрыт, он подвержен действию коррозии и абразивных частиц рабочей среды, если она засорена.
В связи с этим задвижки с невыдвижным шпинделем имеют ограниченное применение. Они используются для трубопроводов, транспортирующих нефть, воду (которые не засорены твердыми примесями и не имеют коррозионных свойств). Задвижки с невыдвижным шпинделем имеют меньшую строительную высоту, что делает целесообразным их применение для подземных коммуникаций, колодцев и т. п.

| Рис. 5. Задвижка параллельная: 1 - корпус; 2 - болты; 3 -крышка корпуса; 4 - крышка сальника; 5 - болт; 6 - маховик; 7-сальниковая набивка; 8 - шток; 9 - прокладка; 10 - проволочное кольцо; 11 - диск; 12 - клин; 13 - уплотнительное кольцо | Рис. 6.Задвижка клиновая фланцевая: 1 - корпус; 2 - клин (диск); 3 - крышка; 4 - шпиндель; 5 - узел уплотнения шпинделя; 6 - ходовой узел шпинделя |

| Рис. 7.Задвижка с выдвижным шпинделем | Рис. 8.Задвижка с невыдвижным шпинделем: а - с жестким клином для воды; б - клиновая двухдисковая для топливных газов |
Задвижки изготовляются из чугуна, стали, цветных сплавов и пластмасс. Корпус и крышки стальных задвижек могут быть литыми, сварными или штампованными. Штампосварной способ обеспечивает возможность получать детали из прочного и тщательно проконтролированного материала, поэтому применяется для ответственных объектов (в атомной энергетике).
В задвижках используется ручной либо электрический привод, в них находят ограниченное применение поршневые приводы, гидравлический или пневматический.
Основные параметры конструкций задвижек регламентированы ГОСТ 9698-86.
Заслонки. Заслонки применяются для перекрытия потока жидкости и газа (воздуха). По своей конструкции заслонка представляет собой короткий отрезок трубы с затвором в виде диска, поворачивающегося вокруг оси, расположенной перпендикулярно к оси прохода (рис.9). Затвор (диск) может быть плоским или двояковыпуклым. Для герметизации запорного органа применяются металлические или мягкие (из резины, фторопласта) уплотнительные кольца. Заслонки могут использоваться как запорная и регулирующая арматура.

| Рис. 9. Заслонка с электроприводом для воды: 1 - затвор; 2 - корпус; 3 - электропривод | Рис. 10. Заслонка многолопастная для вентиляционных установок |
Управление заслонками может осуществляться вручную, при помощи электропривода, поршневого или мембранного пневмо- или гидропривода. Достоинствами заслонок являются: минимальная строительная длина, малые масса и металлоемкость, простота конструкции, малое число деталей и относительно низкая стоимость. Недостатками заслонок являются пониженная герметичность запорного органа и большие крутящие моменты на валу, необходимые для управления заслонками с большими условными диаметрами прохода.
Помимо круглых заслонок существуют заслонки с затвором прямоугольной формы и многолопастные (многостворчатые) (рис. 10). Последние представляют собой вертикальный ряд прямоугольных затворов в виде лопасти, поворачивающейся вокруг своей оси, расположенной параллельно остальным. Поворот всех затворов происходит одновременно при помощи рычажного механизма с кривошипом на каждой оси. Прямоугольные заслонки применяются исключительно в вентиляционных системах.
Одним из видов заслонок, также применяемых в вентиляционных системах, являются так называемые герметичные клапаны (гермоклапаны).
Герметичные вентиляционные клапаны предназначены для установки в воздуховодах вентиляционных систем.
Одним из основных узлов клапана (рис. 11) является корпус 1, который ответными фланцами присоединен к воздуховодам. Проход клапана закрывается тарелью 3, на которой крепится уплотнительное кольцо 2 из резины. При помощи оси 6 тарель соединена с рычагом 5. Рычаг связывает тарель с валом клапана 7.

Рис. 11. Герметичный клапан с электроприводом:
1 - корпус; 2 - уплотнительное кольцо; 3 - тарель; 4 - пружина; 5 - рычаг; 6 - ось; 7 - вал клапана; 8 - ограничитель; 9 - червячный редуктор
Затвор открывается в два этапа. При повороте вала клапана на 20-30° тарель отходит от уплотнения корпуса, не поворачиваясь, что достигается пружинами 4. Затем поворотом вала на следующие 90° тарель поворачивается также на 90° и устанавливается параллельно оси трубопровода. Для ограничения поворота при открывании служит заштифтованный на валу клапана ограничитель 8, который своим выступом упирается в выступ, сделанный на корпусе.
Герметические вентиляционные клапаны могут устанавливаться в вертикальных и горизонтальных воздуховодах. Предпочтение отдается установке, при которой давление среды будет прижимать тарель к седлу клапана.
Основные параметры заслонок регламентированы ГОСТ 12521-89 и ГОСТ 25923-89.
Регулирующая арматура. Изменение количества протекающей по трубопроводу рабочей среды осуществляется регулирующей арматурой, к которой относятся регулирующие вентили, регулирующие клапаны, регуляторы давления и уровня.
При помощи вентиля производится только периодическое ступенчатое регулирование. Непрерывное и бесступенчатое регулирование осуществляется при помощи регулирующих клапанов, снабженных приводом. Они являются исполнительным устройством в системе автоматического регулирования. Регулятор давления представляет собой автоматически действующее автономное устройство, состоящее из регулирующего клапана, снабженного приводом, управляемым чувствительным элементом, реагирующим на давление рабочей среды, без применения постороннего источника энергии.
Регулирующие вентили. Конструктивно они аналогичны запорным и отличаются от них только формой тарелки, которая для обеспечения плавного регулирования количества протекающей среды выполняется в виде профилированной иглы обтекаемой формы и составляющей со шпинделем единое целое (рис. 12). Удлиненная форма клапана (тарелки) с прорезями на хвосте и мелкая резьба на шпинделе позволяют постепенно увеличивать проходное сечение в клапане, в результате чего подача рабочей среды регулируется плавно.

| Рис. 12. Регулирующий вентиль: 1 - седло клапана; 2 -корпус; 3 - клапан; 4 - крышка; 5 - сальник; 6 - нажимной фланец; 7 - шпиндель; 8 - маховик | Рис. 13. Клапан регулирующий односедельный | Рис. 14. Клапан регулирующий двухседельный рычажный |
Регулирующие вентили имеют довольно ограниченное применение. Регулирующие клапаны. Применяются односедельные и двухседельные регулирующие клапаны. Наиболее часто применяются двухседельные регулирующие клапаны. Односедельные клапаны (рис. 13) применяются лишь и том случае, когда площадь плунжера невелика или требуется надежная герметичность клапана в закрытом положении.
Наиболее широкое применение получили двухседельные рычажные клапаны (рис. 14), а также клапаны с мембранным пневматическим приводом и пружинной нагрузкой. Регулирующие клапаны могут быть НО (нормально открыт) или НЗ (нормально закрыт) в зависимости от того, открыт или закрыт клапан при отсутствии давления на мембране привода.
Основные параметры и конструктивные разновидности регулирующих клапанов регламентированы ГОСТ 25866-83.
Регуляторы давления. Эти регуляторы предназначены для автоматического поддержания заданного давления «после арматуры» или «до арматуры». Их применяют на трубопроводах для жидких и газоообразных сред. В этих устройствах для перемещения регулирующего органа используется энергия регулируемой среды: они работают без дополнительного постороннего источника энергии.
Для регулирования давления как «после арматуры», так и «до арматуры» применяются рычажные регуляторы давления соответствующего исполнения (рис. 15), для регулирования давления «после арматуры» — пружинные регуляторы давления, или редукционные клапаны (рис. 16).

| Рис. 15.Рычажный регулятор давления еле арматуры» и «до арматуры» | Рис. 16.Пружинный регулятор давления (редукционный клапан) |
Рычажный регулятор (рис. 15) состоит из груза 4, мембранного исполнительного механизма 3 и разгруженного регулирующего органа (золотника) 2. Среда под рабочим (начальным) давлением подается во входной патрубок корпуса 1. Проходное сечение в этот момент у регуляторов «после арматуры» открыто, у регуляторов «до арматуры» закрыто за счет действия рычага с грузом на подвижную систему.
С помощью трубки давление передается на мембрану в направлении, обратном действию груза. Когда давление среды на мембрану станет больше или меньше усилия, создаваемого грузом, подвижная система начнет перемещаться, что приведет к изменению проходного сечения в регуляторе и давления до регулятора или после него. На требуемое давление регулятор настраивают подбором грузов и их расположением на рычаге.
Рычажный регулятор устанавливают на горизонтальном трубопроводе мембранной головкой вверх.
Пружинные регуляторы «после арматуры» (рис. 16) имеют односедельный корпус 1, регулирующий орган (золотник) 2, уравновешенный от одностороннего действия среды с помощью поршня в цилиндре 4, куда также поступает среда. Пружина 3 регулятора воспринимает усилие редуцированного давления среды, поступающей под золотник. На требуемое давление регулятор настраивают регулировочным винтом 5, вращением которого изменяют усилие сжатия пружины.
Основные параметры регуляторов давления промышленной арматуры регламентированы ГОСТ 12678-80.
Регуляторы уровня прямого действия. Регулятор уровня предназначен для поддержания уровня жидкости в сосуде в установленных пределах заданной высоты. Основными элементами регулятора уровня являются чувствительный элемент (датчик положения уровня) и исполнительное устройство, состоящее из запорного или регулирующего клапана или крана. В регуляторах прямого действия датчиком положения уровня обычно служит поплавок в виде полого шара или цилиндра, соединенный рычажной передачей (или без нее) с затвором клапана или крана.
Регулятор (рис. 17) состоит из поплавковой камеры 2, в которой размещаются поплавок 1, и клапана 4. Поплавковая камера соединена с паровым (воздушным) и водяным пространствами бака, поэтому уровень в ней такой же, как и в баке. При снижении уровня воды в бакепоплавок вместе с одним концом рычага перемещается вниз, а другой конец рычага поднимается вверх, увлекая за собой золотник 3, благодаря чему увеличивается проходное сечение.

Рис. 17. Регулятор уровня (перелива)
Предохранительная арматура. Предохранительная арматура служит для выпуска из защищаемой системы, установки или сосуда избыточного объема рабочей среды, создающего повышенное давление, которое не предусматривается нормальным ходом технологического процесса. К предохранительной арматуре относятся предохранительные клапаны, мембранные устройства, гидрозатворы и дыхательные клапаны.
Предохранительные клапаны. Предохранительные клапаны по методу выпуска избыточной рабочей среды делятся на клапаны открытого типа, у которых рабочая среда (пар, воздух) выпускается непосредственно в окружающую атмосферу, и клапаны закрытого типа, у которых рабочая среда может отводиться в назначенное место. Предохранительные клапаны имеют либо угловой корпус, либо проходной. Независимо от типа корпуса клапаны устанавливаются вертикально так, чтобы при закрывании седла шток опускался вниз.
По методу нагружения клапаны делятся на рычажно-грузовые и пружинные.
По высоте подъема тарелки среди предохранительных клапанов выделяют малоподъемные, у которых высота подъема несколько больше или равна 0,05 диаметра седла, и полно подъемные, высота подъема тарелки которых не менее 0,25 диаметра седла. Предохранительные клапаны с высотой подъема тарелки менее 0,25, но более 0,05 диаметра седла называются среднеподъемными.
В малоподъемных и среднеподъемных клапанах подъем золотника над седлом зависит от давления среды, поэтому их условно можно назвать клапанами пропорционального действия, хотя подъем золотника (тарелки) не пропорционален давлению рабочей среды. В полноподъемных клапанах при работе на газовой среде; открытие клапана происходит сразу на полный ход тарелки, поэтому такие клапаны называют предохранительными клапанами двухпозиционного действия.
Запорный орган предохранительного клапана находится в закрытом положении, пока усилие от давления рабочей среды меньше усилия, создаваемого грузом или пружиной. С повышением давления рабочая среда, действуя на тарелку, создает подъемную силу, превышающую силу прижатия, и клапан начинает открываться.
К предохранительным клапанам предъявляется ряд требований, основными из которых являются:
- обеспечение в открытом положении требуемой пропускной способности;
- надежность конструкции;
- безотказность работы;
- герметичность перекрытого запорного органа при действии давления среды рср;
- сохранение работоспособности в течение заданного срока службы и при больших перерывах между циклами срабатывания.
В системах с переменным расходом рабочей среды в аварийном режиме рекомендуется устанавливать предохранительные мало- и среднеподъемные клапаны, так как полноподъемные неустойчиво работают в системах с переменным аварийным режимом.
Предохранительный однорычажный клапан (рис. 18) обеспечивает сброс рабочей среды через золотник 2 при превышении предельно допустимого давления. Регулирование клапана на требуемое давление обеспечивается изменением массы груза 5 или длины плеча 4.

Рис. 18. Предохранительный однорычажный клапан:
1 — корпус; 2 — золотник; 3 — шток; 4 — рычаг; 5 — груз
Конструкция пружинного клапана открытого типа для сброса избыточного объема рабочей среды в атмосферу показана на рис.19. Предохранительный клапан состоит из корпуса 10 с ввернутым в него седлом 1. На седло навинчен стакан 4, в котором с одной стороны ввернута нажимная пробка 5, служащая для регулирования сжатия пружины 9, а с другой — вставляется клапан 11, имеющий уплотнительную прокладку 2. Клапан 11 усилием пружины 9 прижат к седлу 1. Сверху на корпус 10 навинчивается накидная гайка 8 с прокладкой 7, предназначенная для соединения клапана с трубопроводом аварийного сброса рабочей среды (6 - контровочная проволока).
Принцип работы пружинного клапана состоит в следующем (рис. 19). Когда сила давления рабочей среды, действующая на клапан 11 снизу, меньше силы сжатия пружины 9, клапан закрыт. При повышения давления в сосуде до значения, на которое регулируется затяжка пружины 9, клапан 11, сжимая пружину, отходит от седла 1 и через отверстия 3 перепускает рабочую среду из сосуда в трубопровод аварийного сброса.

| Рис. 19. Предохранительный пружинный клапан открытого типа | Рис. 20. Предохранительный пружинный клапан закрытого типа: 1 - направляющее ребро; 2 - клапан; 3 - пружина; 4 - корпус; 5 - нажимная гайка; 6- направляющая втулка; 7 - гайка; 8 - шпиндель; 9 - пломба |
Предохранительные клапаны закрытого типа (рис. 20) выполняются таким образом, чтобы обеспечить сброс паров рабочей среды из емкости с более высоким давлением в емкость с меньшим давлением. Для этого патрубок А соединяется с трубопроводом емкости низкого давления; в остальном конструкция и принцип действия аналогичны клапану, показанному на рис. 19.
Мембранное разрывное устройство. Мембранное устройство устанавливается последовательно с предохранительным устройством в тех случаях, когда протечка рабочей среды вследствие ее токсичности или агрессивности недопустима.
Назначение мембранного разрывного устройства состоит в том, чтобы при нормальных условиях работы установки герметично и надежно отделить друг от друга технологическую и выпускную линии, а при возникновении аварийного давления быстро путем разрушения мембраны открыть проход избыточной среде.
По характеру разрушения существуют мембраны разрывные, срезные, ломающиеся, выщелкивающие, отрывные и мембраны специального назначения. Для удобства и ускорения замены мембраны устанавливаются в быстросменных обоймах и зажимаются между двумя магистральными фланцами.
Помимо металлических разрывных мембран применяются гра-фитопластовые диски, помещенные в полые круглые обоймы со сквозными отверстиям. Под действием аварийного давления графитопласт продавливается сквозь отверстия, открывая переход рабочей среде. Графитопластовые диски обладают высокой коррозионной стойкостью и жаропрочностью. Они имеют сравнительно стабильное давление разрушения.
Основным недостатком мембранных разрывных устройств является практически не ограниченный по времени сброс рабочей среды после разрыва мембраны и незащищенность при этом системы.
Гидрозатворы и дыхательные клапаны. Гидрозатвор представляет собой предохранительное устройство, предназначенное для предотвращения чрезмерного повышения давления газа в установках и трубопроводах. Затвором здесь служит столб жидкости, который перекрывает выход газу до того момента, когда в защищаемом объекте произойдет чрезмерное повышение давления. В этот момент давление газа выталкивает жидкость из напорной трубы и газ сбрасывается через открывшийся проход (рис. 21).
Дыхательные клапаны устанавливаются на резервуарах большой емкости и предназначены для впуска и выпуска воздуха в зависимости от давления внутри резервуара. Под действием непрерывного изменения температуры окружающего воздуха изменяется объем жидкости и воздуха внутри емкости (резервуар, цистерна, бак). Кроме того, при изменении температуры из жидкости может выделяться растворенный в ней воздух или, наоборот, растворяться в ней.
Для того чтобы избежать образования избыточного по сравнению с окружающим воздухом давления или вакуума, необходимо в зависимости от создавшихся условий выпускать избыточное количество воздуха или впускать его из окружающей среды. Таким образом, происходит «малое дыхание» резервуара. «Большое дыхание» имеет место при больших изменениях объема жидкости, называемых поступлением или расходом жидкости.

Рис. 21. Схема гидрозатвора с предохранительной мембраной:
1 - обратный клапан; 2 - контрольный кран; 3 - разрывная мембрана; 4 - газоотводящая труба

| Рис. 22.Дыхательный клапан типа ДК | Рис. 23.Дыхательный клапан типа КД |
В дыхательном клапане (рис. 22, 23) конструктивно объединены два предохранительных клапана, действие которых направлено в противоположные стороны. Оба клапана имеют вид действия НЗ (нормально закрыт), при этом один из них соединен с воздушным пространством резервуара подклапанной полостью, другой - надклапанной полостью (рис. 23). Соответственно один клапан открывается при превышении внутреннего давления над наружным, другой — при превышении наружного над внутренним. В обычных условиях оба клапана закрыты, и один из них открывается только лишь при разности внутреннего и внешнего давлений.
Защитная арматура. Защитная арматура предназначена для защиты оборудования от аварийных режимов путем отключения защищаемого участка. К защитной арматуре относятся отсечные (защитные) и обратные клапаны.
Отсечные клапаны. Отсечные клапаны предназначены для быстрого отключения трубопровода или его части при аварийной ситуации или по технологическим требованиям. Характерной особенностью их является быстродействие, обеспечиваемое обычно срабатыванием пружины (винтовой или пакетом тарельчатых) в момент закрытия клапана.

Рис. 24. Клапан отсечный прямоточный с поршневым приводом и тарельчатой пружиной
На рис. 24 показана конструкция прямоточного клапана с поршневым пневмоприводом. Шток, управляющий тарелкой клапана, соединен с набором тарельчатых пружин, поршневым пневмоприводом и масляным демпфером (тормозом). Среда подается под тарелку. Клапан открывается пневмоприводом под действием сжатого воздуха, при этом взводится пружина. При выпуске воздуха из пневмопривода клапан закрывается пружиной. Демпфер позволяет регулировать время закрывания в требуемых пределах (5-30 с) и предохраняет тарелку от ударов по седлу.
В качестве отсечной (защитной) арматуры могут также применяться быстродействующие задвижки, краны и заслонки.
Обратные клапаны. В процессе эксплуатации трубопроводных систем, например при аварийной остановке насоса или компрессора,при технологическомснижении давления на каком-либо участке, при разрыве трубопровода и т. д., могут возникнуть условия, когда поток среды изменит направление на обратное. Для того чтобы исключить эту возможность, применяются обратные клапаны, которые пропускают рабочую среду только в одном, нужном, направлении. При изменении направления потока на обратное они закрываются, прекращая обратное движение рабочей среды.
Обратные клапаны бывают подъемные и поворотные. Поворотные делятся на простые и безударные; подъемные могут быть горизонтальными (для горизонтальных трубопроводов) и вертикальными (для вертикальных трубопроводов), односедельными и многоседельными. Обратные клапаны с сеткой, предназначенные для водо- и нефтезаборных устройств, называются приемными. Все обратные клапаны устанавливаются на линии только в одном направлении с учетом движения рабочей среды «под клапан» при открытом положении.
Подъемные обратные клапаны по своей конструкции проще, чем поворотные, эта конструкция обеспечивает надежную герметичность, однако при работе на загрязненных средах возможно заедание затвора в направляющей части крышки. Поворотные клапаны менее чувствительны к загрязненности среды, они позволяют контролировать положение захлопки и использовать демпфирующие устройства для предотвращения гидравлического удара при резком закрытии клапана. Подъемные обратные клапаны обычно используются для малых условных диаметров прохода и чистых сред, в остальных случаях применяются поворотные обратные клапаны. В последнее время наблюдается тенденция более широкого применения поворотных обратных клапанов и замена ими подъемных.
В подъемных обратных клапанах (рис. 25) при подъеме тарелки не должно происходить торможение (демпфирование) в направляющем отверстии хвостовика тарелки. Для этого в полом хвостовике делается отверстие, соединяющее низ направляющего отверстия с полостью клапана. При сплошном хвостовике отверстие в стенке полой направляющей крышки сверлится сверху. Вертикальные подъемные клапаны (рис. 26), снабженные перепускным устройством и демпфером, применяются в энергетических установках. Они устанавливаются на вертикальном трубопроводе за питательным насосом. Когда тарелка садится на седло, предотвращая обратный поток воды, автоматически начинает действовать перепускное устройство. При подъеме тарелки перепуск прекращается. Перепуск воды в данных условиях необходим для того, чтобы предотвратить «запаривание» насоса при закрытом обратном клапане.

| Рис. 25. Клапан обратный подъемный фланцевый | Рис. 26.Клапан обратный подъемный вертикальный |
Основные параметры обратных клапанов регламентированы ГОСТ 22445-88.
Фазоразделительная арматура. Конденсатоотводчики предназначены для автоматического отделения конденсата от пароводяной эмульсии и выпуска его из системы. Конденсат образуется в результате потери паром теплоты в теплообменниках и при перегреве трубопроводов и установок, когда часть пара превращается в воду.
Конденсатоотводчик должен выпускать воду и задерживать пар, что осуществляется с помощью гидравлического и механического затвора. Соответственно конденсатоотводчики делятся на бесклапанные и клапанные. Установки или агрегаты, в которых используются конденсатоотводчики, можно разделить на две группы: энергетические и обогревательные. В энергетических установках образование конденсата происходит нерегулярно, например, в периоды пуска установки, включения байпасных линий и в других случаях, когда происходит перегрев тех или иных участков системы.
При установившемся режиме работы образование избыточного конденсата, не участвующего в технологическом процессе установок, как правило, не должно происходить. В нагревательных установках, где пар используется не как источник энергии, а как теплоноситель для передачи тепла с целью обогрева помещений и материалов, конденсат выделяется непрерывно и в значительных количествах, так как охлаждение пара в этих установках происходит постоянно.
Клапанные конденсатоотводчики по принципу действия делятся на поплавковые, термостатные и термодинамические.
Поплавковые конденсатоотводчики составляют многочисленную группу конструкций и делятся на конденсатоотводчики с открытым, «опрокинутым» и закрытым поплавком. Конденсатоотводчики с открытым поплавком используются в энергетике для установок с высокими параметрами пара. Конденсатоотводчики с «опрокинутым» поплавком (колокольного типа) имеют цилиндрический поплавок, открытый снизу, в который конденсат поступает через входное отверстие корпуса. Чтобы привести в действие конденсатоотводчик, необходимо конденсат, образованный при прогреве установки, и скопившийся воздух предварительно выпустить через спускные отверстия в корпусе, закрываемые пробками, или через наружный обвод.
Под действием смеси пара и конденсата поплавок поднимается в верхнее положение и закрывает выпускное отверстие в седле клапана, а пар постепенно выходит через небольшое отверстие в верхнем донышке поплавка. После выпуска пара из полости поплавка он теряет плавучесть, опускается вниз и открывает отверстие в седле. Конденсат под давлением выпускается из конденсатоотводчика. Одновременно выпускаются воздух и газы, накопившиеся в корпусе. С поступлением новой порции смеси пара и конденсата циклы повторяются.
Конденсатоотводчики с закрытым поплавком имеют поплавок в виде пустотелого шара, соединенного с клапанным или шиберным (золотниковым) затвором при помощи рычажного устройства. При отсутствии конденсата поплавок занимает нижнее положение и выпускное отверстие седла закрыто. При заполнении корпуса конденсатом на две трети объема поплавок начинает всплывать и открывает выпускное отверстие седла.
Термостатные конденсатоотводчики имеют чувствительный элемент в виде сильфона, заполняемого легко испаряющейся жидкостью, или снабжаются термопластинами, обладающими высоким коэффициентом линейного расширения. Наиболее распространенными являются термостатные Конденсатоотводчики с сильфонами. Выпуск конденсата происходит при достаточном его охлаждении, когда температура конденсата и давление паров в сильфоне снизятся настолько, что сильфон, укорачиваясь, открывает отверстие седла. При поступлении в Конденсатоотводчик пара жидкость в сильфоне под действием высокой температуры испаряется, и создающееся внутри сильфона давление удлиняет сильфон, при этом затвор перекрывает выходное отверстие седла (проход в конденсатопровод).
Наибольшее применение в настоящее время получили термодинамические конденсатоотводчики тарельчатого типа, которые имеют простую конструкцию, малые габаритные размеры и массу, надежны в работе и дешевы в изготовлении, создают малые потери пара и имеют высокую пропускную способность.
Конденсатоотводчик этой конструкции имеет одну подвижную деталь -тарелку, свободно лежащую на седле. Проходящий конденсат приподнимает тарелку и выходит через отводной канал. При поступлении пара, имеющего плотность меньшую плотности конденсата, тарелка прижимается к седлу в связи с тем, что высокие скорости истечения пара создают под тарелкой зону пониженного давления. В результате статическое давление пара над тарелкой прижимает ее к седлу.
Тарелка откроется вновь, когда под нее поступит конденсат, который имеет более низкую температуру, чем пар, и еще более охладится в связи с нахождением под тарелкой. Пар, находящийся над закрытой тарелкой, охлаждается в результате потери теплоты как через крышку конденсатоотводчика, так и через тарелку, перекрывающую проход конденсата. В результате охлаждения пара давление над тарелкой падает, и давлением конденсата она приподнимается, пропуская его в выпускной канал.