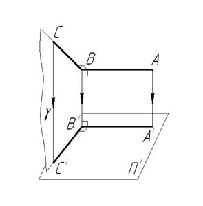
Если одна сторона прямого угла параллельна плоскости проекций, а вторая ей не перпендикулярна, то прямой угол на эту плоскость проекций проецируется без искажения.
Доказательство (рисунок 1.3.11). По условию АВ^ВС и АВ//П1. На основании прямоугольного проецирования АВ^ВВ1, следовательно, АВ┴γ(ВС∩ВВ1), так как АВ^ВС и АВ^ВВ1.
По условию АВ//А1В1, следовательно А1В1┴γ, т.е. и к прямой В1С1 этой плоскости. Значит угол между прямыми А1В1 и В1С1 равен 90º.
Из теоремы следует, что если одна сторона прямого угла является прямой уровня, то прямой угол проецируется без искажения на плоскость проекций, параллельную этой стороне.

Рисунок 1.3.11 – Проецирование прямого угла






