| Метод, стандарты, приборы | Схема испытания |
| Ультразвуковой ГОСТ 17624-87 Приборы: УКБ-1, УКБ-1М УКБ16П, УФ-90ПЦ Бетон-8-УРП, УК-1П | |
| Пластической деформации Приборы: КМ, ПМ, ДИГ-4 Упругого отскока Приборы: КМ, склерометр Шмидта ГОСТ 22690 88 | |
| Пластической деформации Молоток Кашкарова ГОСТ 22690 88 | |
| Отрыв с дисками ГОСТ 22690-88 Прибор ГПНВ-6 | |
| Скалывание ребра конструкции ГОСТ 22690-88 Прибор ГПНС-4 с приспособлением УРС | |
| Отрыв со скалыванием ГОСТ 22690-88 Приборы: ГПНВ-5, ГПНС-4 | |
Таблица 6.3
| Наименование метода | Предельные значения прочности бетона, МПа |
| Упругий отскок и пластическая деформация | 5-50 |
| Ударный импульс | 10-70 |
| Отрыв | 5-60 |
| Скалывание ребра | 10-70 |
| Отрыв со скалыванием | 5-100 |
Таблица 6.4
| Наименование метода | Число испытаний на участке | Расстояние между местами испытаний, мм | Расстояние от края конструкции до места испытаний, мм | Толщина конструкции, мм |
| Упругий отскок | ||||
| Ударный импульс | ||||
| Пластическая деформация | ||||
| Скалывание ребра | - | |||
| Отрыв | 2 диаметра диска | |||
| Отрыв со скалыванием | 5 глубин вырыва | Удвоенная глубина установки анкера |

|
|
|
Рис. 6.7. Молоток И.А. Физделя
1 - молоток; 2 - ручка; 3 - сферическое гнездо; 4 - шарик; 5 - угловой масштаб

Рис. 6.8. Тарировочный график для определения предела прочности бетона при сжатии молотком Физделя

Рис. 6.9 Определение прочности материала, с помощью молотка К.П. Кашкарова
1 - корпус, 2 - метрическая рукоятка; 3 - резиною ручка; 4 - головка; 5 - стальной шарик, 6 - стальной эталонный стержень; 7 - угловой масштаб

Рис. 6.10. Тарировочная кривая для определения прочности бетона молотком Кашкарова
На рис. 6.8 приведена тарировочная кривая для определения предела прочности при сжатии молотком Физделя.
6.3.4. К методике определения прочности бетона, основанной на свойствах пластических деформаций, относится также молоток Кашкарова ГОСТ 22690-88.
Отличительная особенность молотка Кашкарова (рис. 6.9) от молотка Физделя заключается в том, что между металлическим молотком и завальцованным шариком имеется отверстие, в которое вводится контрольный металлический стержень. При ударе молотком по поверхности конструкции получаются два отпечатка: на поверхности материала с диаметром dd и на контрольном (эталонном) стержне с диаметром dэ. Отношение диаметров получаемых отпечатков зависит от прочности обследуемого материала и эталонного стержня и практически не зависит от скорости и силы удара, наносимого молотком. По среднему значению величины dd / dэ из тарировочного графика (рис. 6.10) определяют прочность материала.
На участке испытания должно быть выполнено не менее пяти определений при расстоянии между отпечатками на бетоне не менее 30 мм, а на металлическом стержне - не менее 10 мм.
|
|
|
6.3.5. К приборам, основанным на методе упругого отскока, относятся пистолет ЦНИИСКа (рис. 6.11), пистолет Борового (рис. 6.12), молоток Шмидта, склерометр КМ со стержневым ударником и др. Принцип действия этих приборов основан на измерении упругого отскока ударника при постоянной величине кинетической энергии металлической пружины. Взвод и спуск бойка осуществляются автоматически при соприкосновении ударника с испытываемой поверхностью. Величину отскока бойка фиксирует указатель на шкале прибора.

Рис. 6.11. Пистолет ЦНИИСКа для определения прочности бетона неразрушающим методом
1 - ударник, 2 - корпус, 3 - шкала, 4 - фиксатор показания прибора, 5 - рукоятка

Рис. 6.12. Пружинный пистолет С.И. Борового
Отличительная особенность склерометра КМ заключается в том, что специальный боек определенной массы при помощи пружины с заданной жесткостью и предварительным напряжением ударяет по концу металлического стержня, называемого ударником, прижатого другим концом к поверхности испытываемого бетона. В результате удара боек отскакивает от ударника. Степень отскока отмечается на шкале прибора при помощи специального указателя.
Зависимость величины отскока ударника от прочности бетона устанавливают по данным тарировочных испытаний бетонных кубиков размером 15´15´15 см, и на этой основе строится тарировочная кривая.
Прочность материала конструкции выявляют по показаниям градуированной шкалы прибора в момент нанесения ударов по испытываемому элементу.
6.3.6. Методом испытания на отрыв со скалыванием определяют прочность бетона в теле конструкции. Сущность метода состоит в оценке прочностных свойств бетона по усилию, необходимому для его разрушения, вокруг шпура определенного размера при вырывании закрепленного в нем разжимного конуса или специального стержня, заделанного в бетоне. Косвенным показателем прочности служит вырывное усилие, необходимое для вырыва заделанного в тело конструкций анкерного устройства вместе с окружающим его бетоном при глубине заделки h I (рис. 6.13).

Рис. 6.13. Схема испытания методом отрыва со скалыванием при использовании анкерных устройств
При испытании методом отрыва со скалыванием участки должны располагаться в зоне наименьших напряжений, вызываемых эксплуатационной нагрузкой или усилием обжатия предварительно напряженной арматуры.
Прочность бетона на участке допускается определять по результатам одного испытания. Участки для испытания следует выбирать так, чтобы в зону вырыва не попала арматура. На участке испытания толщина конструкции должна превышать глубину заделки анкера не менее чем в два раза. При пробивке отверстия шлямбуром или высверливанием толщина конструкции в этом месте должна быть не менее 150 мм. Расстояние от анкерного устройства до грани конструкции должно быть не менее 150 мм, а от соседнего анкерного устройства - не менее 250 мм.
6.3.7. При проведении испытаний используются анкерные устройства трех типов (рис. 6.14). Анкерные устройства типа I устанавливают на конструкции при бетонировании; анкерные устройства типов II и III устанавливают в предварительно подготовленные шпуры, пробитые в бетоне высверливанием. Рекомендуемая глубина отверстий: для анкера типа II - 30 мм; для анкера типа III - 35 мм. Диаметр шпура в бетоне не должен превышать максимальный диаметр заглубленной части анкерного устройства более чем на 2 мм. Заделка анкерных устройств в конструкциях должна обеспечить надежное сцепление анкера с бетоном. Нагрузка на анкерное устройство должна возрастать плавно со скоростью не более 1,5-3 кН/с вплоть до вырыва его вместе с окружающим бетоном.
|
|
|

Рис. 6.14. Типы анкерных устройств
1 - рабочий стержень; 2 - рабочий стержень с разжимным конусом; 3 - рабочий стержень с полным разжимным конусом; 4 - опорный стержень, 5 - сегментные рифленые щеки
Наименьший и наибольший размеры вырванной части бетона, равные расстоянию от анкерного устройства до границ разрушения на поверхности конструкции, не должны отличаться один от другого более чем в два раза.
6.3.8. Единичное значение Ri прочности бетона на участке испытаний определяют в зависимости от напряжений сжатия в бетоне sб и значения Ri.
Сжимаемые напряжения в бетоне sб, действующие в период испытаний, определяют расчетом конструкций с учетом действительных размеров сечений и величин нагрузок (воздействий).
6.3.9. Единичное значение Ri 0 прочности бетона на участке в предположении sб =0 определяют по формуле
Ri 0=
, (6.1)
где m 3 - коэффициент, учитывающий крупность заполнителя, принимаемый равным: при максимальной крупности заполнителя менее 50 мм - 1, при крупности 50 мм и более - 1,1;
тh - коэффициент, вводимый при фактической глубине hф,отличающейся от h более чем на 5 %
.
При этом hф не должна отличаться от номинального значения, принятого при испытании, более чем на ±15 %;
А - коэффициент пропорциональности, значение которого при использовании анкерных устройств принимается:
для анкеров типа II - 30 мм: А 1=0,24 см2 (бетон естественного твердения); А 2=0,25 см2 (бетон, прошедший тепловую обработку);
для анкеров типа III - 35 мм, соответственно А 1=0,14 см2; А 2=0,17см2.
Прочность обжатого бетона определяют из уравнения
Ri = Ri 0(
), (6.2)
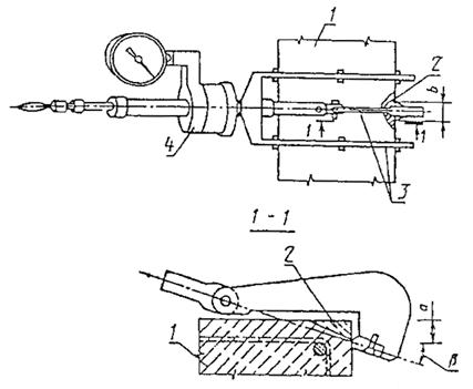
6.3.10. При определении класса бетона методом скалывания ребра конструкции применяют прибор типа ГПНС-4 (рис. 6.15). Схема испытания приведена на рис. 6.16.
Параметры нагружения следует принимать: а =20 мм; b =30 мм, a=18°(tg a=1-3).
На участке испытания необходимо провести не менее двух сколов бетона. Толщина испытываемой конструкции должна быть не менее 50 мм. Расстояние между соседними сколами должно быть не менее 200 мм. Нагрузочный крюк должен быть установлен таким образом, чтобы величина «а» не отличалась от номинальной более чем на 1 мм. Нагрузка на испытываемую конструкцию должна нарастать плавно со скоростью не более (1±0,3) кН/с вплоть до скалывания бетона. При этом не должно происходить проскальзывания нагрузочного крюка. Результаты испытаний, при которых в месте скола обнажалась арматура, и фактическая глубина скалывания отличались от заданного более 2 мм, не учитываются.
|
|
|

Рис. 6.15. Прибор для определения прочности бетона методом скалывания ребра
1 - испытуемая конструкция, 2 - скалываемый бетон, 3 - устройство УРС, 4 - прибор ГПНС-4

Рис. 6.16. Схема испытания бетона в конструкциях методом скалывания ребра конструкции
6.3.11. Единичное значение Ri прочности бетона на участке испытаний определяют в зависимости от напряжений сжатия бетона sб и значения Ri 0.
Сжимающие напряжения в бетоне sб, действующие в период испытаний, определяют расчетом конструкции с учетом действительных размеров сечений и величин нагрузок.
Единичное значение Ri 0 прочности бетона на участке в предположении sб =0 определяют по формуле
,
где тg - поправочный коэффициент, учитывающий крупность заполнителя, принимаемый равным: при максимальной крупности заполнителя 20 мм и менее - 1, при крупности более 20 до 40 мм - 1,1;
Rty - условная прочность бетона, определяемая по графику (рис. 6.17) по среднему значению косвенного показателя Р
,
Pi - усилие каждого из скалываний, выполненных на участке испытаний.
6.3.12. При испытании методом скалывания ребра на участке испытания не должно быть трещин, сколов бетона, наплывов или раковин высотой (глубиной) более 5 мм. Участки должны располагаться в зоне наименьших напряжений, вызываемых эксплуатационной нагрузкой или усилием обжатия предварительно напряженной арматуры.

Рис. 6.17. Зависимость условной прочности бетона Rty от силы скола Рi