Для жизненного сценария человека социоэкономический фактор является важнейшим. Человек, находясь в системе общественных связей и отношений, зависит не только от биосоциальных факторов, которые в той или иной мере могут влиять на его социальное функционирование, но и от своей принадлежности или непринадлежности к профессиональному сообществу. Профессиональное сообщество позволяет субъекту вступать в систему обмена услугами, товарами, деньгами, что определяет степень и уровень удовлетворения его потребностей. В том, случае, если социально-экономические условия препятствуют реализации его профессиональных возможностей, происходит сокращение социальных связей, и в отдельных случаях они могут значительно отклоняться от нормы. Как пишет С.Московичи: «Драма современности проистекает именно из того, что люди не могут иметь между собой связей, в которых не присутствовали бы деньги и которые они не воплощали бы в той или иной форме»1.
Трансформация социально-экономических отношений приводит к нарушениям общественных связей и групповых взаимодействий, провоцирует рост социальных болезней. Согласно исследований американских ученых, возрастание уровня безработицы только на 1% ведет к увеличению в обществе (в процентном соотношении)2:
• самоубийств +4,5;
• первичных обращений в клинику для душевнобольных + 3,3;
• тюремные заключения + 4,0;
• убийства +5,7;
• смерть от алкоголизма +1,9;
• общий показатель смертности +1,9.
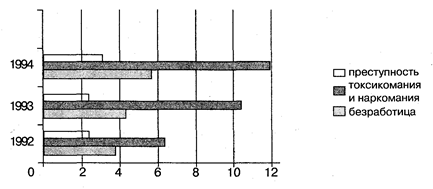
Структурный кризис, который охватил Российскую Федерацию в 90-х гг., не мог не сказаться на криминогенности общества. Можно наблюдать, что с ростом безработицы растет число людей, употребляющих наркотические и токсические вещества, возрастает преступность. На диаграмме, составленной на основе исследований В.Жукова и Т.Червениной, показано соотношение между уровнем безработицы и ростом социальных болезней в РФ в 1992—1994 гг.:
Схема 10

Таким образом, социально-экономический фактор в жизненном сценарии человека выступает в системе «среда — личность», определяя условия жизнедеятельности человека в системе социально-экономических отношений. В ситуациях социальных и экономических трансформаций он может провоцировать различные виды деструктивного поведения, связанного со злоупотреблением алкоголем и наркотиками, в том числе и противоправные действия.






