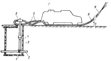
Воду из водопровода отбирают через пожарный гидрант передвижными пожарными автонасосами или мотопомпами (рис. 8.1). При отсутствии водопровода с достаточным для тушения пожара расходом воду забирают передвижными пожарными насосами из естественных (реки, озера, пруды и т. п.) и искусственных водоемов (резервуары, копани и т. д.).
Для нормальной работы передвижных пожарных насосов к водоемам устраивают специальные подъезды и пирсы. Для подачи воды во время пожара предусматривают прокладку насосно-рукавных систем.
Выбор того или иного вида насосно-рукавных систем диктуется характеристикой водопровода (водоотдачей, удаленностью гидранта от очага пожара), характером развития пожара и рядом других показателей, определяющих тактические схемы развертывания техники.
Рисунок – 8.1 – Схема отбора воды из водопровода пожарным насосом
1 — пожарная подставка, 2 — водопровод; 3 — водопроводный колодец; 4 — пожарный гидрант, 5 — пожарная колонка, 6 — рукавная линия, 7 — пожарный автонасос; 8 — пожарный рукав, 9 — пожарный ствол
Если тушение пожара возможно при подаче небольшого расхода воды, то от передвижного пожарного насоса прокладывают одну рукавную линию. Такой вид насосно-рукавной системы называется простейшим соединением (рис. 8.2, а).
Рисунок 8.2 - Виды насосно-рукавных систем
а — простейшее соединение, б — последовательное соединение, в — смешанное соединение,
1 — насос, 2 — магистральная рукавная линия, 3 — рабочая рукавная линия, 4 — пожарный ствол
Если для тушения пожара воды, содержащейся в автоцистерне пожарного автомобиля, недостаточно, то от передвижного пожарного насоса прокладывают магистральную рукавную линию до места пожара и к ней подсоединяют рабочие рукавные линии.
Если к магистральной рукавной линии подсоединена одна рабочая рукавная линия (см. рис. 8.2, б), то такой вид насосно-рукавной системы называется последовательным соединением.
Если к магистральной рукавной линии подсоединяется несколько рабочих рукавных линий (см. рис. 8.2, в), то такой вид насосно-рукавной системы называется смешанным соединением.
Для борьбы с крупными пожарами применяют лафетные стволы. К таким стволам вода, как правило, подается одновременно по нескольким магистральным линиям. Такой вид насосно-рукавной системы называется параллельным соединением.






