Рельсы (от мн. ч. англ. rails — от лат. regula — прямая палка, изобретены древними римлянами, начальная ширина между ними составляла 143,5 см.) — стальные балки специального сечения, укладываемые на шпалах или других опорах для образования, как правило, двухниточного пути, по которому перемещается подвижной состав железнодорожного транспорта, городских железных дорог, специализированный состав в шахтах, карьерах, крановое оборудование.
Рельсы служат для направления колёс при их движении, непосредственно воспринимают и упруго передают давление от колёс на нижележащие элементы верхнего строения пути. На участках с электрической тягой рельсы служат проводниками обратного силового тока, а на участках с автоблокировкой — проводниками сигнального тока.

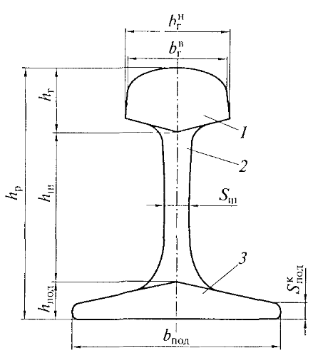
1 – головка рельса; 2 – шейка; 3 – подошва; hp – высота рельса;
hг – высота головки; hш – высота шейки; hпод – высота подошвы;
– ширина головки по низу;
– ширина головки по верху;
bпод – ширина подошвы; Sш – толщина шейки;
– толщина подошвы у края
Рисунок 22 – Профиль рельса






