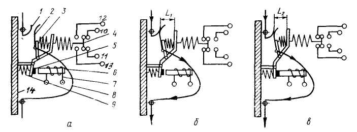
Рассмотрим устройство и принцип действия контактора, изображенного в упрощен
ном виде (рис. 9.35).
Система главных контактов состоит из двух главных контактов - неподвижного 1 и подвижного 2.
Система вспомогательных контактов включает в себя подвижный контакт 4 и не-
подвижные контакты 10-11 и 12-13.
В электромагнитную систему входят сердечник 6 с катушкой 7 и якорь 5.
Дугогасительная система, для упрощения объяснения, на рис. 9.35 не показана, но
ее устройство и принцип действия объясняются ниже.
В исходном положении (рис. 9.35, а) катушка 7 обесточена, отключающая пружи
на 9 притягивает нижнюю часть якоря к изоляционной плите 14.
Главные контакты 1 и 2 разомкнуты, а контактная пружина 3 сжата между верхней частью якоря и контактом 2 с небольшим усилием.
Подвижный контакт 4 замыкает вспомогательные контакты 10 и 11, два других та-
ких контакта 12 и 13 разомкнуты.

Рис.9.35. Электромагнитный контактор: 1 – неподвижный контакт; 2 – подвижный контакт; 3 - контактная пружина; 4 – подвижный вспомогательный контакт;
5 – поворотный якорь; 6 – сердечник электромагнита; 7 – катушка электромагнита; 8 – гибкая перемычка; 9 – отключающая пружина; 10-11, 12-13 - неподвижные контакты; 14 – изоляционная плита (основание)
Если на катушку 7 подать напряжение, катушка создаст в сердечнике 6 магнитный поток. В результате якорь 5 притянется к сердечнику (рис. 9.35, б, в). При этом подвиж-
ный контакт 2 замкнется с неподвижным контактом 1, контакты 10-11 разомкнутся, а 12-13 замкнутся.
На рис 9.35, б показано промежуточное положение якоря, при котором между
нижней частью якоря и сердечником сохраняется воздушный зазор. В этом положении от-
ключающая пружина 9 растянута не полностью, а контактная пружина 3 сжата не полно-
стью, и поэтому сила давления контакта 2 на контакт 1 невелика.
На рис. 9.35, в показано конечное положение якоря, при котором нижняя часть якоря плотно прижата к сердечнику (нет воздушного зазора), а контактная пружина 3 заставляет подвижный контакт 2 плотно прижаться к неподвижному 1.
При снятии питания с катушки 7 магнитный поток в сердечнике исчезнет и якорь 5 под действием отключающей пружины 9 и собственного веса отпадет от сердечника. При
этом главные контакты 1 и 2 разомкнутся, а вспомогательные переключатся: контакты 10-11 замкнутся, а 12-13 разомкнутся (рис. 9.35, а).
Основное назначение контактной пружины 3 состоит в том, чтобы обеспечить не-
обходимое по условиям эксплуатации нажатие подвижного контакта 2 на неподвижный 1. Кроме того, она выступает как амортизатор, смягчая удар подвижного контакта по непод-
вижному при включении контактора.
Степень сжатия регулировочной пружины можно изменять при помощи регулиро-
вочной гайки (на рис. 9.35 не показана).
В рассмотренном контакторе применена магнитная система с поворотным якорем
(более подробно – ниже). Осью, на которой поворачивается якорь, здесь служит грань призмы.






