Одним из важнейших этапов проектирования является определение ведущих деталей станка. Необходимо выявить ведущие детали станка, их примерные габариты и основные технологические операции.
В качестве ведущих выбираются детали, определяющие выбор размеров основных типов станков для обработки базовых деталей (станин, корпусных деталей средних размеров), деталей типа тел вращения (наиболее длинных валов и ходовых винтов, крупных маховиков, венцов).
На рис. 3.3.1. приведена компоновка токарного станка

Рис. 3.3.1. Компоновка токарного станка: 1 – основание; 2 – передний поперечный суппорт; 3 – продольный суппорт; 4 – шпиндельная бабка; 5 – вертикальный суппорт; 6 – револьверная головка; 7 – станина; 8 – суппорт револьверной головки
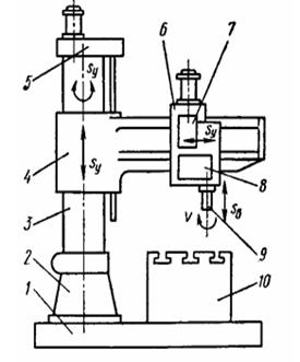
На рис. 3.3.2. приведена компоновка радиально-сверлильного станка. К фундаментной плите 1 крепят неподвижную колонну 2 с поворотной гильзой 3. На гильзе установлена траверса 4, которая может перемещаться по ней и закрепляться с помощью механизма 5 на определенной высоте в зависимости от размеров обрабатываемой заготовки. Шпиндельная головка 6, внутрикоторой находятся коробка скоростей 7 и коробка подач 8, перемещается по направляющим траверсы в горизонтальном направлении и вместе с траверсой поворачивается вокруг колонны. Шпиндель 9 с инструментом получает главное вращательное движение и движение подачи (поступательное вертикальное). Заготовку закрепляют на столе 10 или непосредственно на фундаментной плите 1.

Рис. 3.3.2. Компоновка радиально-сверлильного станка
На рис. 3.3.3. приведена компоновка вертикально-фрезерного станка. В станине 1 размещена коробка скоростей 2. Шпиндельная головка 3 смонтирована в верхней части станины и может поворачиваться в вертикальной плоскости. При этом ось шпинделя 4 можно поворачивать под углом к плоскости рабочего стола 5. Главным движением является вращение шпинделя. Стол, на котором закрепляют заготовку, имеет продольное перемещение по направляющим салазок 6. Салазки имеют поперечное перемещение по направляющим консоли 7, которая перемещается по вертикальным направляющим станины. Таким образом, заготовка, установленная на столе 5, может получать подачу в трех направлениях. В консоли смонтирована коробка

|






