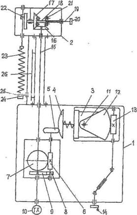
В лабораторной установке (рис. 9.2) основными являются механизм, создающий вынужденные колебания, измерительные устройства, комплект исследуемых пружин и грузов.
Все узлы и детали установки смонтированы в основании 1 и в стойке с редуктором 2. Установка имеет следующую кинематическую схему.
От электродвигателя 3 вращение передается сферическим фрикционом 4 цилиндрическому фрикциону 5, а закрепленному на червячном валу 6, и далее червячному колесу 7. На другом конце червячного вала закреплена шестерня 8, передающая вращение через зубчатое колесо 9 оси тахометра 10.
Электродвигатель 3 закреплен на двух вертикальных осях 11 и с помощью червячного сектора 12 гложет поворачиваться е горизонтальной плоскости при вращении червячного вала 13 с помощью ручки 14. При этом изменяется радиус касания сферического фрикциона 4, за счет чего изменяется передаточное отношение данной фрикционной передачи.

Рис. 9.2. Схема лабораторной установки E-l 13 исследования вынужденных колебаний материальной точки.
|
|
|
Составляя дифференциальное уравнение движения груза, будем иметь:
тх = -с(λс+ x-ξ)+mg
Отсюда, учитывая то, что mg = с λс вводя обозначение с/т = к2, после преобразований получим:
x + k2x~ кξ,
Или с учетом (9.1)
х + к2х = k2r sin pt
Далее, вводя обозначение к2 r = р0, будем иметь
x + k2x = p0 sin pt
Решение данного дифференциального уравнения будет иметь окончательный вид:
х = A sin (kt + а)+
Как видим, амплитуда Б зависит от отношения частоты p возмущающей силы к частоте собственных колебаний к. Если р«к (верхний конец пружины колеблется очень медленно), то В≈r. При р = к наступит резонанс и размах колебаний сильно возрастает. Если частота р станет больше к, то амплитуда колебаний также уменьшается. Наконец, когда р»к амплитуда В≈0.
Для графического представления данной зависимости введем обозна
|
Вращение червячного колеса 7 передается через вертикальный вал 15 и коническую шестерню 16 коническому колесу 17, насаженному на вал 18 свободно и имеющему со стороны зубьев кулачки. Бал 18 выполнен полым и имеет продольный паз. Е полости вала 18 находится валик 19 с ручкой 20. На вал 18 также посажена кулачковая полумуфта 21, в ступицу которой запрессован штифт, проходящий через продольный паз вала 18 и отверстие валика 19. Когда кулачки полумуфты 21 находятся е зацеплении с кулачками конического колеса 17, вращение передается от последнего на вал 18. Далее вращение вала 18 преобразуется при помочи кулисного механизма 22 в колебательное движение верхнего конца пружины 23, к которой подвешивается траверса 24 с грузом 25.
|
|
|
В установке предусмотрена возможность изменения амплитуды вынужденных колебаний путем изменения эксцентриситета в кулисном механизме. Для этого на ручке 20 и на корпусе редуктора 2 имеются риски. При совмещении их, предварительно оттянув к себе ручку 20, регулировочный винт кулисного механизма устанавливается против специального отверстия, расположенного на боковой стенке корпуса редуктора 2. В это отверстие вводится отвертка и производится вращение регулировочного винта в нужном направлении.
Для обеспечения устойчивости колебаний груза по вертикали в установке вдоль стойки натянуты два тросика, которые служат в качестве направляющих для траверсы 24 с грузом 25.
Для определения положения груза в статическом равновесии и в процессе колебаний предусмотрена скала 26. закрепленная вдоль стойки на кронштейнах.
Перед началом работы установка должна занимать строго вертикальное положение. Лля этой цели она снабжена регулируемой по высоте опорами
9.3. Порядок выполнения работы
1. Установить лабораторную установку в строго вертикальное положение путем регулирования опор по высоте.
2. Закрепить верхний конец исследуемой пружины я кулисе. По шкале фиксировать положение нижнего витка прузщда.
3. К пружине подвесить траверсу с грузом массы 250 г. По шкале определить статический прогиб 1ст пружины под действием силы тяжести траверсы с грузом. По формуле (9.7) определить частоту собственных колебаний груза. Данные занести в табл. 9.1.
4. Вывести груз из положения равновесия, оттягивая пружину в крайнее нижнее соложение, и отпустить. Определить время десяти полных колебаний. Опыт повторить 3 раза.
5. Данные занести в табл. 9.1 для определения частоты собственных колебаний кэ экспериментальным путем.
6. Сравнить значения частоты собственных колебаний, найденных теоретически и экспериментально.
7. Установить в лабораторной установке рукоятку 14 в крайнем левом положении, соответствующем минимальной частоте вынужденных колебаний пружины с грузом.
8. Переключением тумблера и последовательным нажатием пусковой кнопки "Пуск" запустить электродвигатель привода установки в работу.
9. Плавным вращением рукоятки 14 по часовой стрелке увеличить частоту вынужденных колебаний груза.
10. При показаниях тахометра 300,400,500,600 и 700 об /глин
фиксировать амплитуду колебаний по шкале 26. Результаты опытов занести в табл. 9.2 для обработки данных по приведенным в
ней формулам.
11. По данным табл. 9.2 построить графики зависимостей
η =fi(z) и ηэ =f2(z)
12. Анализировать зависимость tj =fi(z) и сравнить с зависи
мостью ηэ =f2(z)
Как видим, амплитуда Б зависит от отношения частоты p возмущающей силы к частоте собственных колебаний к. Если р«к (верхний конец пружины колеблется очень медленно), то В≈r. При р = к наступит резонанс и размах колебаний сильно возрастает. Если частота р станет больше к, то амплитуда колебаний также уменьшается. Наконец, когда р»к амплитуда В≈0.
Для графического представления данной зависимости введем обозна






