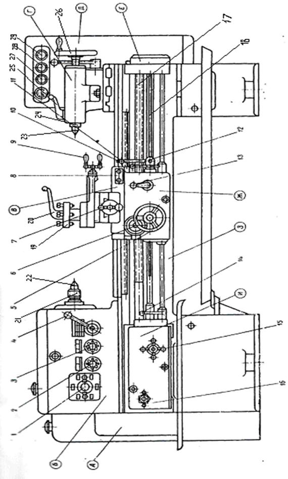
1 – рукоятка управления коробкой скоростей;
2 - рукоятка для настройки на нормальный или увеличенный шаг резьбы и для деления при нарезании многозаходных резьб;
3 – рукоятка управления реверсивным механизмом для нарезания правых и левых резьб и двукратного увеличения подачи;
4 -рукоятка управления переборами;
5 –маховичок ручного продольного перемещения суппорта;
6 –ползунок с пуговкой для включения и выключения реечной шестерни фартука;
7 –рукоятка ручного поперечного перемещения суппорта;
8 –кнопочная станция;
9 -рукоятка ручного перемещения верхней части суппорта
10 - кнопка включения ускоренных ходов каретки и суппорта;
11 –рукоятка включения, выключения и реверсирования продольной и поперечной подач суппорта;

Рис. 1. Общий вид токарно-винторезного станка модели 1К62.
12,14 – рукоятки включения, выключения и реверсирования вращения шпинделя
13 – рукоятка включения маточной гайки фартука
15 – рукоятка включения ходового винта или ходового валика;
16 – рукоятки для выбора типа резьбы или подачи, а так же для настройки требуемого шага резьбы или величины подачи;
|
|
|
17 – ходовой винт;
18 – ходовой вал;
19 – резцедержатель;
20 – рукоятка поворота, фиксации и закрепления четырехпозиционного резцедержателя;
21 – шпиндель станка;
22 – неподвижный центр;
23 – вращающийся центр;
24 – пиноль задней бабки;
25 – рукоятка закрепления и освобождения пиноли задней бабки;
26 – маховичок ручного перемещения пиноли задней бабки;
27 – выключатель насоса для охлаждающей жидкости;
28 – выключатель освещения;
29 – общий выключатель напряжения сети для станка.






