Вода – одно из самых распространенных веществ на земле, она является необходимым условием жизни и входит в состав всех пищевых продуктов и материалов.
Вода, не являясь собственно питательным веществом, жизненно необходима как стабилизатор температуры тела, переносчик нутриентов (питательных веществ) и пищеварительных отходов, реагент и реакционная среда в ряде химических превращений, стабилизатор конформации биополимеров и, наконец, как вещество, облегчающее динамическое поведение макромолекул, включая проявление ими каталитических (энзиматических) свойств.
Вода – важнейшая составляющая пищевых продуктов. Она присутствует в разнообразных растительных и животных продуктах как клеточный и внеклеточный компонент, как диспергирующая среда и растворитель, обусловливая консистенцию и структуру. Вода влияет на внешний вид, вкус и устойчивость продукта при хранении. Благодаря физическому взаимодействию с белками, полисахаридами, липидами и солями, вода вносит значительный вклад в структуру пищи.
|
|
|
Содержание влаги (%) в пищевых продуктах изменяется в широких пределах: фрукты, овощи – 70-95; мясо – 65-75; молоко – 87; сыр – 37; хлеб – 35;; джем – 28; мука – 12-14; сухое молоко – 4.
Общая влажность продукта указывает на количество влаги в нем, но не характеризует ее причастность к химическим и биологическим изменениям в продукте. В обеспечении его устойчивости при хранении важную роль играет соотношение свободной и связанной влаги.
Связанная влага – это ассоциированная вода, прочно связанная с различными компонентами – белками, липидами и углеводами за счет химических и физических связей.
Свободная влага – это влага, не связанная полимером и доступная для протекания биохимических, химических и микробиологических реакций.
Содержание влаги (сухого вещества) в пищевых продуктах определяют прямыми и косвенными методами. Прямыми методами из продукта извлекают влагу и устанавливают ее количество; косвенными (высушиванием, рефрактометрией, по плотности и электропроводности раствора) – определяют содержание сухих веществ (сухого остатка). К косвенным относят также метод, основанный на взаимодействии воды с определенными реагентами.
Определение содержание влаги высушиванием до постоянной массы (арбитражный метод) основано на выделении гигроскопической влаги из исследуемого объекта при определенной температуре. Высушивание производят до постоянной массы или ускоренными методами при повышенной температуре в течение заданного.
Высушивание образцов, спекающихся в плотную массу, производят с прокаленным песком, масса которого должна быть в 2-4 раза больше массы навески. Песок придает навеске пористость, увеличивает поверхность испарения, препятствует образованию на поверхности корочки, затрудняющей удаление влаги. Высушивание производят в фарфоровых чашках, алюминиевых или стеклянных бюксах в течение 30 минут, при определённой температуре, зависящей от вида продукта.
|
|
|
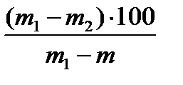
Массовую долю сухих веществ (Х, %) вычисляют по формуле
Х =
, (3.4)
где m – масса бюксы со стеклянной палочкой и песком, г;
m1 – масса бюксы со стеклянной палочкой, песком и
навеской до высушивания, г;
m2 – масса бюксы со стеклянной палочкой, песком и навеской
после высушивания, г.
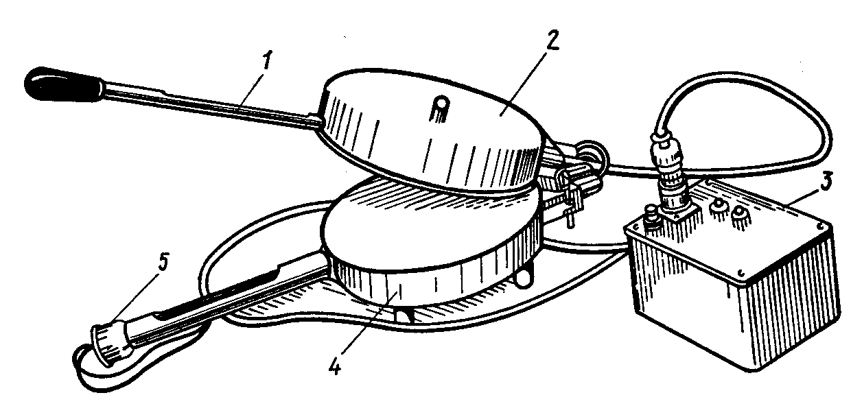
Высушивание в аппарате ВЧ производится за счёт инфракрасного излучения в аппарате, состоящем из двух соединённых между собой массивных плит круглой или прямоугольной формы (рисунок 3.1).

Рисунок 3.1 – Аппарат ВЧ для определения влажности
1 – рукоятка; 2 – верхняя плита; 3 – блок управления; 4 - нижняя плита; 5 – электроконтактный термометр
В рабочем состоянии между плитами устанавливают зазор 2-3 мм. Температура греющей поверхности контролируется двумя ртутными термометрами. Для поддержания постоянной температуры прибор снабжён контактным термометром, включённым последовательно с реле. На контактном термометре устанавливается заданная температура. Прибор включают в сеть за 20…25 мин до начала высушивания для нагревания до заданной температуры.
Навеску продукта высушивают в пакете из роторной бумаги размером 20х14 см в течение 3 мин при определённой температуре, охлаждают в эксикаторе 2-3 мин и быстро взвешивают с точностью до 0,01 г.
Влажность (Х, %) рассчитывают по формуле
Х =
, (3.5)
где m – масса пакета, г;
m1 – масса пакета с навеской до высушивания, г;
m2 – масса пакета с высушенной навеской, г.
Рефрактометрический метод применяют для производственного контроля при определении содержания сухих веществ в объектах богатых сахарозой: сладких блюдах, напитках, соках, сиропах. Метод основан на зависимости между коэффициентом преломления исследуемого объекта или водной вытяжки из него и концентрацией сахарозы. Коэффициент преломления зависит от температуры, поэтому замер производят после термостатирования призм и исследуемого раствора.
Массу сухих веществ (Х, г) для напитков с сахаром рассчитывают по формуле
Х =
, (3.6)
где а – массовая для сухих веществ, определённая
рефрактометрическим методом, %;
Р – объём напитка, см3.
для сиропов, плодово-ягодных и молочных киселей и др. по формуле
Х =
, (3.7)
где а – массовая доля сухих веществ в растворе, %;
m1 – масса растворённой навески, г;
m – масса навески, г.
Кроме этих распространённых методов определения сухих веществ применяется ещё ряд методов, позволяющих определить содержание как свободной, так и связанной влаги
Дифференциальная сканирующая колориметрия. Если образецохладить до температуры меньше 0оС, то свободная влага замёрзнет, связанная – нет. При нагревании замороженного образца в колориметре можно измерить тепло, потребляемое при таянии льда. Незамерзающая вода определяется как разница между общей и замерзающей водой.
Диэлектрические измерения. Метод основан на том, что при 0оС значения диэлектрической проницаемости воды и льда примерно равны. Но если часть влаги связана, то её диэлектрические свойства должны сильно отличаться от диэлектрических свойств объёмной воды и льда.
Измерение теплоёмкости. Теплоёмкость воды больше, чем теплоёмкость льда, т.к. с повышением температуры в воде происходит разрыв водородных связей. Это свойство используют для изучения подвижности молекул воды. Значение теплоёмкости, в зависимости от её содержания в полимерах, даёт сведения о количестве связанной воды. Если при низких концентрациях вода специфически связана, то её вклад в теплоёмкость мал. В области высоких значений влажности её в основном определяет свободная влага, вклад которой в теплоёмкость примерно в 2 раза больше, чем льда.
|
|
|
Ядерно-магнитный резонанс (ЯМР). Метод заключается в изучении подвижности воды в неподвижной матрице. При наличии свободной и связанной влаги получают две линии в спектре ЯМР вместо одной для объёмной воды.