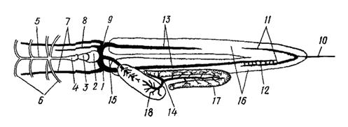
Кровеносная система. Сердце располагается в нижней передней части полости тела, в основании перешейка. Венозная кровь собирается в венозной пазухе, или венозном синусе (рис. 28, 1). Отсюда кровь переходит в предсердие (рис. 28, 27;рис. 28, 2) и затем в более толстостенный желудочек (рис. 27, 28;рис.28, 3).
В отличие от хрящевых костистые рыбы не имеют артериального конуса (точнее, он рудиментарен и при внешнем осмотре незаметен). Непосредственно от желудочка отходит крупная брюшная аорта (рис. 27, 30; рис. 28, 5), образующая в этом месте расширение – луковицу аорты (рис. 27, 29; рис. 28, 4). Брюшная аорта отдает четыре пары приносящих жаберных артерий (рис. 28, 6).
При обычной препарировке периферическую часть кровеносной системы, описание которой дается далее, рассмотреть не удается (для детального ознакомления с кровеносной системой нужно иметь специальные препараты с цветной инъекцией сосудов). В жаберных лепестках каждая приносящая жаберная артерия распадается на систему капилляров. Через их стенки происходит газообмен крови с омывающей жабры водой. Обогащенная кислородом артериальная кровь по системе капилляров собирается в выносящие жаберные артерии, которые на спинной стороне впадают в парные корни спинной аорты. Корни аорты в заднем отделе головы сливаются, образуя непарную спинную аорту; она проходит под позвоночником и отсылает многочисленные артериальные сосуды ко всем участкам тела.
|
|
|
Венозная кровь из хвостового отдела идет по непарной хвостовой вене (рис. 28, 10), которая разделяется на две воротные вены почек (рис. 28, 11), входящие в почки. У костистых рыб в отличие от хрящевых воротная система образуется только в левой почке. Из почек кровь по парным задним кардинальным венам (рис. 28, 13) направляется вперед. На уровне сердца задние кардинальные вены сливаются с передними кардинальными венами, несущими кровь от головы (иногда их называют верхними яремными венами. В результате слияния задних и передних кардинальных вен образуются парные кювьеровы протоки (рис. 28, 9), впадающие в венозную пазуху. В нее же впадает несущая кровь от нижних частей головы нижняя яремная вена (рис. 28, 8).
Рис. 28. Схема кровеносной системы костистой рыбы (вид снизу; не показаны выносящие жаберные артерии, их слияние в спинную аорту и ветвление последней): 1 – венозная пазуха, 2 – предсердие. 3 – желудочек, 4 – луковица аорты, 5 – брюшная аорта, 6 – приносящие жаберные артерии, 7 – передние кардинальные вены, 8 – яремная вена, 9 – кювьеров проток. 10 – хвостовая вена, 11 – воротные вены почек, 12 – анастомозы между воротной веной правой почки и правой задней кардинальной веной, 13 – задние кардинальные вены, 14 – воротная вена печени, 15 – печеночная вена, 16 – почки. 17 – кишечник, 18 — печень |
От кишечника кровь по воротной вене печени (рис. 28, 14) попадает в печень, где эта вена распадается на систему капилляров, т. е. образует воротную систему печени. По выходе из воротной системы печени кровь по короткой печеночной вене (рис. 28, 15) попадает в венозную пазуху. Боковых вен, свойственных хрящевым рыбам, у костистых рыб нет.
|
|
|
У костистых рыб, как и у хрящевых, один замкнутый круг кровообращения. В сердце рыб находится только венозная кровь. Сокращениями сердца эта кровь направляется в жабры, где происходит освобождение от углекислого газа и насыщение кислородом. Насыщенная кислородом артериальная кровь, выходящая из жаберной системы, по многочисленным артериям направляется к различным органам и тканям тела, где происходит обратный процесс: отдача кислорода из крови в ткани и насыщение крови углекислотой, т. е. превращение крови из артериальной в венозную. По системе вен венозная кровь возвращается в сердце. Понятия «артериальная» и «венозная» кровь определяют качественные отличия в газовом составе крови. Эти понятия не всегда совпадают с названиями кровеносных сосудов. Так, по брюшной аорте (артерии) и по приносящим жаберным артериям движется венозная кровь; независимо от состава крови артериями называют сосуды, по которым кровь идет от сердца, а венами – сосуды, по которым кровь направляется к сердцу.
Дыхательная система. Органами дыхания у костистых рыб служат жабры, имеющие, как и у хрящевых рыб, эктодермальное происхождение. С каждой стороны располагаются четыре полные жабры; у некоторых рыб рудиментарная полужабра находится на внутренней стороне жаберной крышки. Вырежьте кусок жабры и рассмотрите ее строение. Межжаберных перегородок, характерных для хрящевых рыб, у костных рыб нет. Два ряда жаберных лепестков своими основаниями прикрепляются непосредственно к костной жаберной дуге или к рудименту межжаберной перегородки, а их свободные окончания свешиваются в околожаберную полость. Эта полость снаружи прикрыта костной жаберной крышкой, имеющей существенное значение в акте дыхания. С внутренней стороны каждой жаберной дуги имеются многочисленные отростки – жаберные тычинки, идущие по направлению к соседней жаберной дуге. Жаберные тычинки образуют своеобразный цедильный аппарат, препятствующий выходу пищевых частиц из глотки через жаберную полость наружу. У видов, питающихся планктоном (например, сельдей), этот аппарат представлен особенно длинными и густо сидящими тычинками.
Через стенки кровеносных капилляров в жаберных лепестках, как уже говорилось, происходит газообмен крови с омывающей жабры водой. Более крупные сосуды (приносящие и выносящие жаберные артерии) проходит по жаберным дугам в основании жаберных лепестков.
Пищеварительная система. У большинства рыб в захвате пищи участвуют вторичные челюсти и элементы первичных челюстей. У окуня на челюстных костях, а также на небных костях и сошнике, имеются зубы (у карповых зубы на челюстях отсутствуют; на последней жаберной дуге у большинства карповых хорошо развиты мощные глоточные зубы). Без четких границ ротовая полость переходит в глотку, прободенную жаберными щелями. Мускулистого языка нет. В глубине глотки начинается короткий пищевод, который почти сразу же переходит в желудок (рис. 27, 13). В начальной части кишечника расположены пилорические придатки (рис 27, 15). Здесь же в кишечник впадают протоки желчного пузыря и поджелудочной железы. За желудком следует слабо дифференцированный кишечник, открывающийся наружу анальным отверстием (рис. 27, 10).
Сразу за сердцем в передней части брюшной полости под желудком располагается крупная печень (рис. 27, 17). На ее внутренней стороне находится желчный пузырь (рис. 27, 18) – полость, в которой скапливается вырабатываемая в печени желчь. поджелудочная железа в виде небольших долек разбросана в брыжейке по всей длине кишечника (рис. 27, 19). компактная селезенка расположена в брыжейке кишечника (рис. 27, 21).
|
|
|
Над кишечником в верхней части брюшной полости находится крупный плавательный пузырь (рис. 27, 22), который служит гидростатическим органом. Плавательный пузырь окуня во-взрослом состоянии полностью изолирован от кишечника.
Мочеполовая система. В верхней части брюшной полости по бокам плавательного пузыря располагаются парные половые железы. У самок окуня половая железа представлена непарным яичником (рис. 27, 26),который имеют хорошо заметную «зернистую» структуру. Задний, вытянутый отдел яичника играет роль выводного протокаи открывается половым отверстием (рис. 27, 11) позади анального отверстия (у большинства видов яичники парные).
Половые железы самцов – длинные, гладкие, довольно плотные семенники; они занимают такое же положение, как и яичники.
Задние отделы семенников превратились в короткие выносящие протоки, открывающиеся общим половым отверстием позади анального отверстия.
Чтобы рассмотреть почки, нужно удалить кишечник и плавательный пузырь. Почки (рис. 27, 23) располагаются на спинной стороне полости тела по обе стороны от позвоночника. По их краю проходят мочеточники (рис. 27, 24), которые, выйдя из почек, сливаются в единый непарный мочевой проток. Мочевой пузырь (рис. 27, 25) представляет собой вырост передней стенки начальной части этого протока. Непарный мочевой проток открывается наружу мочевым отверстием (рис. 27, 12) позади полового отверстия.
Рис. 28. Схема кровеносной системы костистой рыбы (вид снизу; не показаны выносящие жаберные артерии, их слияние в спинную аорту и ветвление последней): 1 – венозная пазуха, 2 – предсердие. 3 – желудочек, 4 – луковица аорты, 5 – брюшная аорта, 6 – приносящие жаберные артерии, 7 – передние кардинальные вены, 8 – яремная вена, 9 – кювьеров проток. 10 – хвостовая вена, 11 – воротные вены почек, 12 – анастомозы между воротной веной правой почки и правой задней кардинальной веной, 13 – задние кардинальные вены, 14 – воротная вена печени, 15 – печеночная вена, 16 – почки. 17 – кишечник, 18 — печень