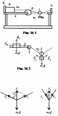
Пусть требуется определить коэффициент трения нижней грани тела А (масса m1) о поверхность К. (рис.14.1)
Собирают установку, показанную на рисунке. Тело А располагается на поверхности К у опоры В. К нему привязывают нить, перекинутую через блоки и закрепленную к опоре Б. Удерживая тело А у опоры В, к блоку С, расположенному точно в центре участка нити БД, подвешивают груз N (масса m2).
Рассмотрим силы, действующие на грузы А и N во время движения (рис.2).
Груз А сначала движется равноускоренно, так как сила натяжения больше силы трения. По мере уменьшения угла a сила натяжения также будет уменьшаться (рис.14.3) и груз начнет двигаться равнозамедлено. Определим ускорение системы.
Уравнение движения груза А векторном виде:
.
Проекции на оси
;
Учитывая, что Fтр=mN, получим

Уравнение движения груза N в векторном виде:

Проекции на ось oy:

Отсюда:
.
Если пренебречь трением в блоках Т1=Т2=Т, то ускорение системы равно
.
В момент остановки на груз А действует сила трения покоя, которая максимальна и равна силе трения скольжения, поэтому ее также можно определить по формуле F=mN. Приравняв нулю ускорение системы, определим коэффициент трения:
,
где 2a - угол между нитями в момент остановки грузов.
Самостоятельно определите ход эксперимента и вид таблицы для записи его результатов.
Угол a определить точно довольно трудно, поэтому для экспериментального определения коэффициента трения лучше использовать энергетический метод.






