Стены важнейший конструктивный элемент зданий. Их классифицируют по следующим признакам: по местоположению наружные и внутренние; по статической работе - несущие, самонесущие, навесные; по конструкции - мелкоэлементные - из

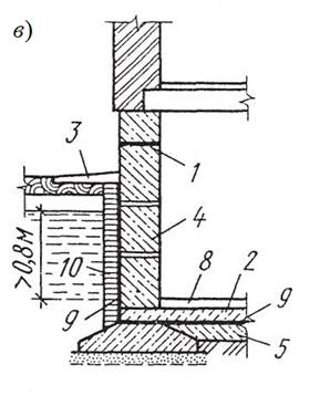
Рис. 4. Гидроизоляция здания от грунтовой влаги а) при напоре грунтовых вод до 0,2 м; б) при напоре грунтовых вод до 0,8 м; в) более 0,8 м; 1-горизонтальная гидроизоляция; 2-железобетонная плита; 3-отмостка; 4-стена подвала; 5-бетонная подготовка; 6-обмазка горячим битумом 7-мятая жирная глина; 8-чистый пол; 9 - гидроизоляционный ковер;.10-защитная стенка; 11-пригрузочный слой бетона.
кирпича, керамического камня, мелких блоков и т.д.; крупноэлементные - из крупных панелей и блоков.
Стены здания должны быть прочными, устойчивыми и долговечными, удовлетворять требованиям теплозвукоизоляции и пожарной безопасности, индустриальности, экономичности и эстетичности.
Кирпич является одним из основных стеновых материалов. В современном строительстве свыше 50% гражданских зданий возводят из кирпича.
|
|
|
Кирпичные стены выполняют из керамического и силикатного кирпича. Стандартный кирпич имеет размеры 120x65x250 мм. Применяют также полуторный кирпич, имеющий высоту 88 мм.
Кирпичную кладку ведут на цементно-песчаном растворе марок 25; 50; 75, используя кирпич марок 75; 100; 125; 150; 250; 300.
Толщину горизонтальных швов кирпичных стен принимают равной 12 мм, а вертикальных 10 мм. С учетом швов сплошные кирпичные стены могут иметь следующие толщины: 120; 250; 380; 510; 640; 770 мм и более.
Способ размещения кирпичей в кладке стены с тем или иным чередованием ложковых и тычковых рядов для достижения перевязки швов называют системой кирпичной кладки. В современном строительстве широко применяют две - цепную двухрядную) и многорядную (шести рядную) (рис.5). При цепной кладке тычковые ряды чередуются ложковыми.
При многорядной кладке пять ложковых рядов чередуются одним тычковым.
Поверхность кладки улучшается путем обработки - расшивки швов в виде валика или желобка. На внутренней поверхности швы не редко оставляют незаполненными на глубину до 15 мм (в пустошовку) или заполняют в подрез.
Прочность кирпичной кладки зависит от правильного выбора марки кирпича и раствора, от качества работ, от необходимости армирования углов, простенков, пересечений стен сварными стенками из стержней арматуры.
1.7 Энергосберегающие конструкции стен.
Современные требования к энергосбережению предусматривают высокое сопротивление теплопередаче, что достигается за счет применения в конструкциях наружных стен эффективного утеплителя из пенополистирола, минераловатных плит.
Конструктивное решение энергосберегающих стен предусматривает варианты размещения утепляющего слоя:
|
|
|
- внутри конструкции стены;
- снаружи стены.
1 ВАРИАНТ
Конструкции стен с расположения утеплителя внутри кладки имеют несущую часть из кирпича толщиной 250-380 мм или из ячеистобетонных, легкобетоншлх блоков 300-400мм с достаточным сопротивлением на сжатие.
Наружная часть стены выполняется из отделочного кирпича толщиной 120мм Марка кирпича, блоков, кладочного раствора принимается в зависимости от нагрузки на стены. Кирпичную кладку стен малоэтажных зданий выполняю из кирпича марки М75, М100, из блоков М500, М600 (кл. В45; 40) на цементно-песчаном растворе марки Мр25, Мр50.
Для утепления стены внутри кладки применяют чаще всего минераловатные плиты объемной плотностью 45кг/м3. При устройстве утепляющего слоя из пенополистирола объемной плотностью 40кг/м3 необходимо выполнять рассечки (вставки) из минеральной ваты по периметру оконных и дверных проемов.
Облицовочная кладка толщиной 120мм для обеспечения устойчивости крепится к несущей части стены при помощи гибких связей из коррозийностойкой стали (оцинкованной или нержавеющей) диаметром 4мм. Связи устанавливаются с шагом по длине и высоте не более 600мм. Связи анкеруются с кладкой сетками из коррозийностойкой проволоки диаметром 4мм в горизонтальных швах кладки стены.
При устройстве стен с кирпичной облицовкой фасада, кладку начинают с наружного слоя. Вначале устанавливают в проектное положение маячные кирпичи, располагаемые в углах и по длине степы. По ним натягивают причалку и выполняют кирпичную кладку наружной версты ложками по однорядной (цепной) системе перевязки швов.
Утеплитель укладывают ярусами, соответствующими стены поярусно из кирпича или мелких легкобетонных, ячеистобетонных блоков. Для обеспечения прочности кладки необходимо полное заполнение швов цементно-песчаным раствором (рис.4).
2 ВАРИАНТ
Стены со штукатуркой выполняются из кирпича или мелких блоков на цементно-песчаном растворе М25; М50 с учетом величины нагрузки.
Для утепления стены применяются пенополистирол плотностью 40кг/м3 или жесткие минераловатные плиты плотностью 140кг/м3. Толщина утепляющего слоя определяется теплотехническим расчетом.
Теплоизоляционные плиты монтируются на стену снизу вверх с соблюдением перевязки швов по горизонтали и зубчатой перевязки швов в углах здания. Оконные и дверные проемы усиливаются гнутыми профилями из оцинкованной стали и сеткой.
Крепление утеплителя к стене осуществляется специальными дюбелями и клеящим составом.
К дюбелям анкерами крепится проволочная сетка из оцинкованной, нержавеющей стали диметром 0,8мм с ячейками 20х20мм.
По сетке наносится паропроницаемая штукатурка из сухих смесей толщиной 12-15мм.
При применении в качестве утеплителя пенополистирола необходимо выполнять по периметру окон рассечку (вставку) из минераловатных плит и штукатурку толщиной 25-30мм из условия противопожарных требований (рис.5).
3 ВАРИАНТ
Стены с вентилируемым фасадом представляют конструкцию, в которой теплоизоляционные плиты, закрепленные на несущей части стены из кирпича, мелких блоков, защищены облицовкой из панелей или плит.
В качестве облицовки могут быть использованы цементные плитки, панели, плиты из природного камня, волнистые и профилированные стальные листы, пластиковые доски (сайдинг).
Утепление стены выполняют минераловатными плитами объемной плотностью 90-110кг/м3 с толщиной слоев по теплотехническому расчету. При размещении плиты на стене предусматривается перевязка швов.
Крепежный каркас изготавливается из оцинкованной стали или алюминия. Плиты утеплителя крепятся к стене при помощи пластиковых деталей и закрываются ветрозащитным материалом. Элементы навесного каркаса закрепляют к стене распорными анкерами с последующей рихтовкой их в одной плоскости.
|
|
|
Вентиляционный зазор между утеплителем и плитами навесного фасада выполняют 20-40мм (рис.6).
Оконные и дверные проемы облицовывают накладными элементами.

Рис. 5. Системы сплошной кирпичной кладки а) двухрядная; б) шестирядная; 1-тычок кирпича; 2-ложок кирпича.
|
|
а) б)
|
|
в)
Рис.6.Энергосберегающие конструкции стен. а)-1 вариант; б)-2 вариант; в)-3 вариант.