Механические примеси - твердые, жидкие и газообразные вещества, входящие в состав газа и снижающие его теплоту сгорания. Твердые вещества - различные сложные химические вещества (окись алюминия, соединения кремния, железа, кальция, магния, серы и др.), жидкие и газообразные - вода, ее пары солей, образовавшихся при высоком давлении. К механическим примесям также относят конденсат (углеводороды от гексана до керосина) с более высокой теплотой сгорания, чем природный газ.
Очистка газа от механических примесей осуществляется в сепараторах и фильтрах. Широкое распространение получили сепараторы, которые служат для очистки газа от капельной влаги, углеводородного конденсата и механических примесей.
Для газовых систем чаще всего используют вертикальные сепараторы объемного и циклонного типов. В сепараторах объемного типа механические примеси выпадают под действием силы тяжести при малых скоростях движения газа. В циклонных сепараторах механические примеси выпадают под действием центробежных сил, возникающих при криволинейном движении газа.
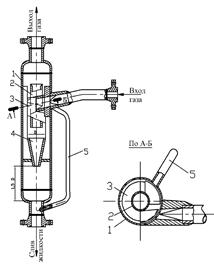
В объемных сепараторах (рис. 3.1, а) газовая смесь поступает в устройство направления потока 4, в котором под действием силы тяжести, механические примеси осаждаются и поступают в нижнюю часть корпуса аппарата 2. Далее газ поступает через каплеуловительную насадку 3, где удерживается жидкая фаза, которая сливается по дренажной трубке 1 в нижнюю часть аппарата. Накопившийся шлам (жидкость и механическая взвесь) в корпусе аппарата удаляется через сливной патрубок 5.
В циклонный сепаратор (рис. 3.1, б) газ подается в корпус 1 по тангенциальному трубопроводу через винтовую камеру 3. В месте разрыва выходной трубы 2 жидкость и механическая взвесь под действием центробежных сил отбрасывается к стенкам аппарата и по кольцевому пространству стекает в нижнюю его часть. Благодаря оригинальности конструкции циклонные сепараторы имеют большую производительность при небольших габаритных размерах.
Сепараторы устанавливаются в блоке (рис. 3.2), которые могут работать как последовательно, так и параллельно.
а б

Рис. 3.1. Сепараторы:
а – вертикальный газовый (объемный) сепаратор: 1 – дренажные трубки; 2 – корпус;
3 – жалюзийная насадка (каплеуловитель); 4 – устройство для направления потока газа; 5 – патрубок (дренаж) для слива жидкости; б – циклонный сепаратор: 1 – корпус;
2 – выходная труба; 3 – винтовая камера; 4 – сливной патрубок;
5 – уравнительная трубка d = 25…38 мм

Рис. 3.2. Блок объемных сепараторов